Skip to main content

Parts Diagrams

customer service agent speaking with a customer

Welcome, Kawasaki owners. Access the information and tools you need to get the most out of your vehicle.

Welcome, Kawasaki owners. Access the information and tools you need to get the most out of your vehicle.

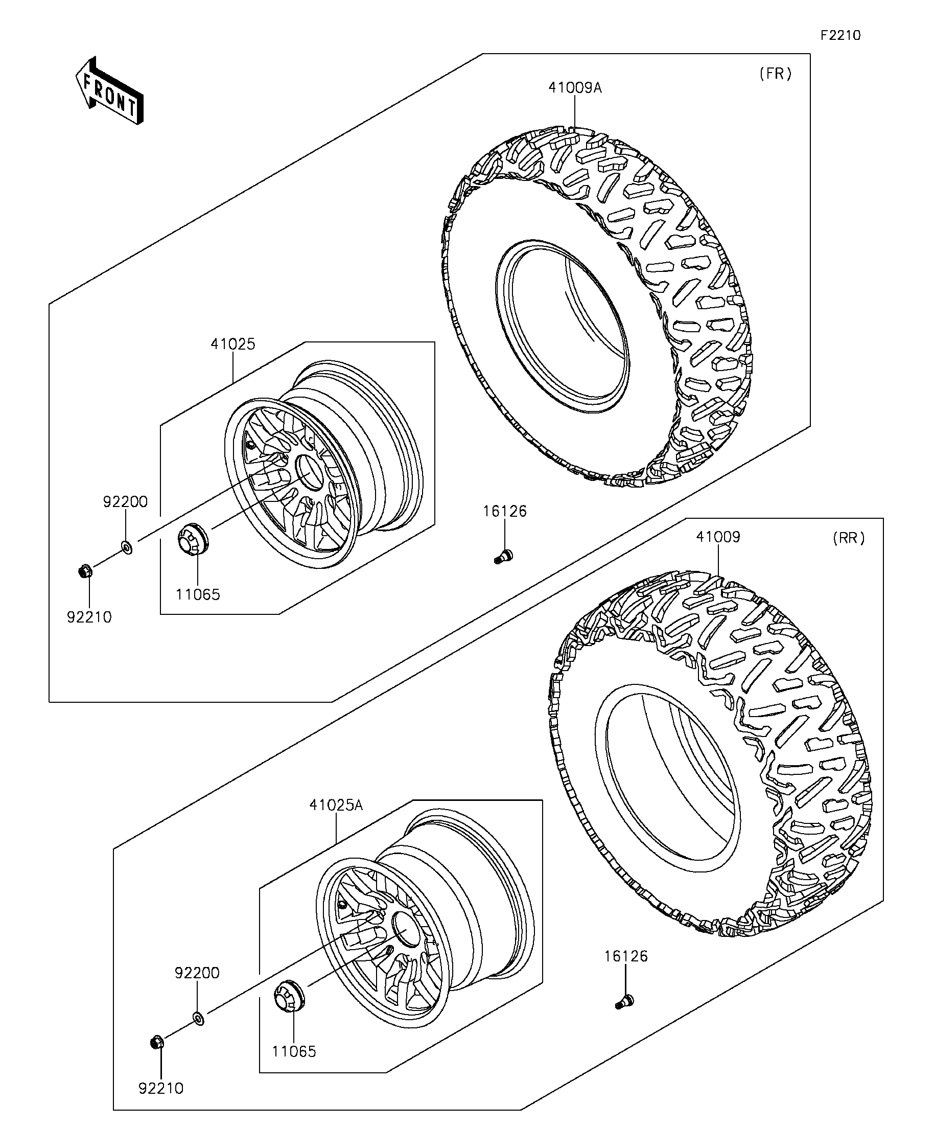
11065
11065
16126
16126
41009
41009A
41025
41025A
92200
92200
92210
92210
Part Item Information
ITEM NAME REF # PART NUMBER QUANTITY DESTINATION REMARKS
CAP,WHEEL 11065 11065-0321 4
VALVE 16126 16126-4001 4
TIRE,RR,26X11.00-12,MU10 41009 41009-0506 2
TIRE,FR,26X9.00R12 6PLY,BIGHORN2 41009A 41009-0511 2
RIM,FR,12X6.0AT,WHL BLK+CAP 41025 41025-0138-31G 2
RIM,RR,12X8.0AT,WHL BLK+CAP 41025A 41025-0139-31G 2
WASHER,12.1X25X1.6 92200 92200-0455 16
NUT,12MM 92210 92210-0603 16