main content of page
Parts Diagrams
                        OWNER CENTER | 
                    
        Welcome, Kawasaki owners. Access the information and tools you need to get the most out of your vehicle.
                            OWNER CENTER | 
                        
Welcome, Kawasaki owners. Access the information and tools you need to get the most out of your vehicle.
                            Parts Diagrams | 
                        
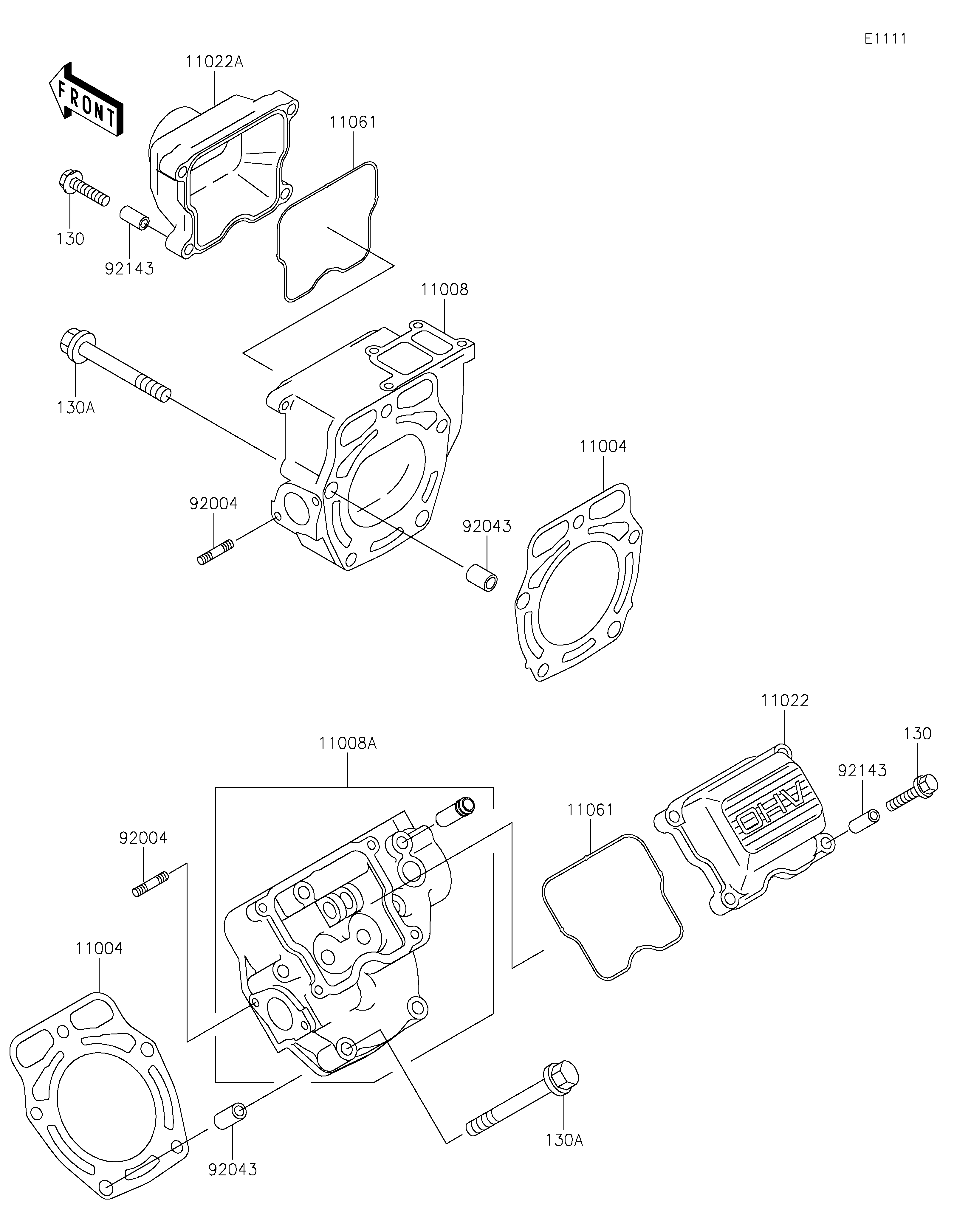
2026 MULE™ 4010 TRANS4x4® - Cylinder Head
                                            11004
                                        
                                    
                                            11004
                                        
                                    
                                            11008
                                        
                                    
                                            11008A
                                        
                                    
                                            11022
                                        
                                    
                                            11022A
                                        
                                    
                                            11061
                                        
                                    
                                            11061
                                        
                                    
                                            92004
                                        
                                    
                                            92004
                                        
                                    
                                            92043
                                        
                                    
                                            92043
                                        
                                    
                                            92143
                                        
                                    
                                            92143
                                        
                                    
                                            130
                                        
                                    
                                            130
                                        
                                    
                                            130A
                                        
                                    
                                            130A
                                        
                                    | ITEM NAME | REF # | PART NUMBER | QUANTITY | DESTINATION | REMARKS | 
|---|---|---|---|---|---|
| GASKET-HEAD | 11004 | 11004-2107 | 2 | ||
| HEAD-COMP-CYLINDER,#1 | 11008 | 11008-0820 | 1 | ||
| HEAD-COMP-CYLINDER,#2 | 11008A | 11008-6046 | 1 | ||
| CASE-ROCKER | 11022 | 11022-2056 | 1 | ||
| CASE-ROCKER | 11022A | 11022-2068 | 1 | ||
| GASKET,ROCKER CASE | 11061 | 11061-2182 | 2 | ||
| STUD,6X20 | 92004 | 92004-2142 | 4 | ||
| PIN,DOWEL,10X14 | 92043 | 92043-1037 | 4 | ||
| COLLAR | 92143 | 92143-2010 | 8 | ||
| BOLT-FLANGED,6X25 | 130 | 130BA0625 | 8 | ||
| BOLT-FLANGED,8X65 | 130A | 130BA0865 | 10 | 
| GASKET-HEAD | |
| REF # | 11004 | 
|---|---|
| PART NUMBER | |
| QUANTITY | 2 | 
| DESTINATION | |
| REMARKS | |
| HEAD-COMP-CYLINDER,#1 | |
| REF # | 11008 | 
|---|---|
| PART NUMBER | |
| QUANTITY | 1 | 
| DESTINATION | |
| REMARKS | |
| HEAD-COMP-CYLINDER,#2 | |
| REF # | 11008A | 
|---|---|
| PART NUMBER | |
| QUANTITY | 1 | 
| DESTINATION | |
| REMARKS | |
| CASE-ROCKER | |
| REF # | 11022 | 
|---|---|
| PART NUMBER | |
| QUANTITY | 1 | 
| DESTINATION | |
| REMARKS | |
| CASE-ROCKER | |
| REF # | 11022A | 
|---|---|
| PART NUMBER | |
| QUANTITY | 1 | 
| DESTINATION | |
| REMARKS | |
| GASKET,ROCKER CASE | |
| REF # | 11061 | 
|---|---|
| PART NUMBER | |
| QUANTITY | 2 | 
| DESTINATION | |
| REMARKS | |
| STUD,6X20 | |
| REF # | 92004 | 
|---|---|
| PART NUMBER | |
| QUANTITY | 4 | 
| DESTINATION | |
| REMARKS | |
| PIN,DOWEL,10X14 | |
| REF # | 92043 | 
|---|---|
| PART NUMBER | |
| QUANTITY | 4 | 
| DESTINATION | |
| REMARKS | |
| COLLAR | |
| REF # | 92143 | 
|---|---|
| PART NUMBER | |
| QUANTITY | 8 | 
| DESTINATION | |
| REMARKS | |
| BOLT-FLANGED,6X25 | |
| REF # | 130 | 
|---|---|
| PART NUMBER | |
| QUANTITY | 8 | 
| DESTINATION | |
| REMARKS | |
| BOLT-FLANGED,8X65 | |
| REF # | 130A | 
|---|---|
| PART NUMBER | |
| QUANTITY | 10 | 
| DESTINATION | |
| REMARKS | |