main content of page
Parts Diagrams
                        OWNER CENTER | 
                    
        Welcome, Kawasaki owners. Access the information and tools you need to get the most out of your vehicle.
                            OWNER CENTER | 
                        
Welcome, Kawasaki owners. Access the information and tools you need to get the most out of your vehicle.
                            Parts Diagrams | 
                        
                                            11055
                                        
                                    
                                            92001
                                        
                                    
                                            92002
                                        
                                    
                                            92002
                                        
                                    
                                            92002A
                                        
                                    
                                            92015
                                        
                                    
                                            92015
                                        
                                    
                                            92015
                                        
                                    
                                            92015
                                        
                                    
                                            92015
                                        
                                    
                                            92015
                                        
                                    
                                            92022
                                        
                                    
                                            92022A
                                        
                                    
                                            92027
                                        
                                    
                                            92153
                                        
                                    
                                            92153
                                        
                                    
                                            130
                                        
                                    
                                            130
                                        
                                    
                                            130
                                        
                                    
                                            130A
                                        
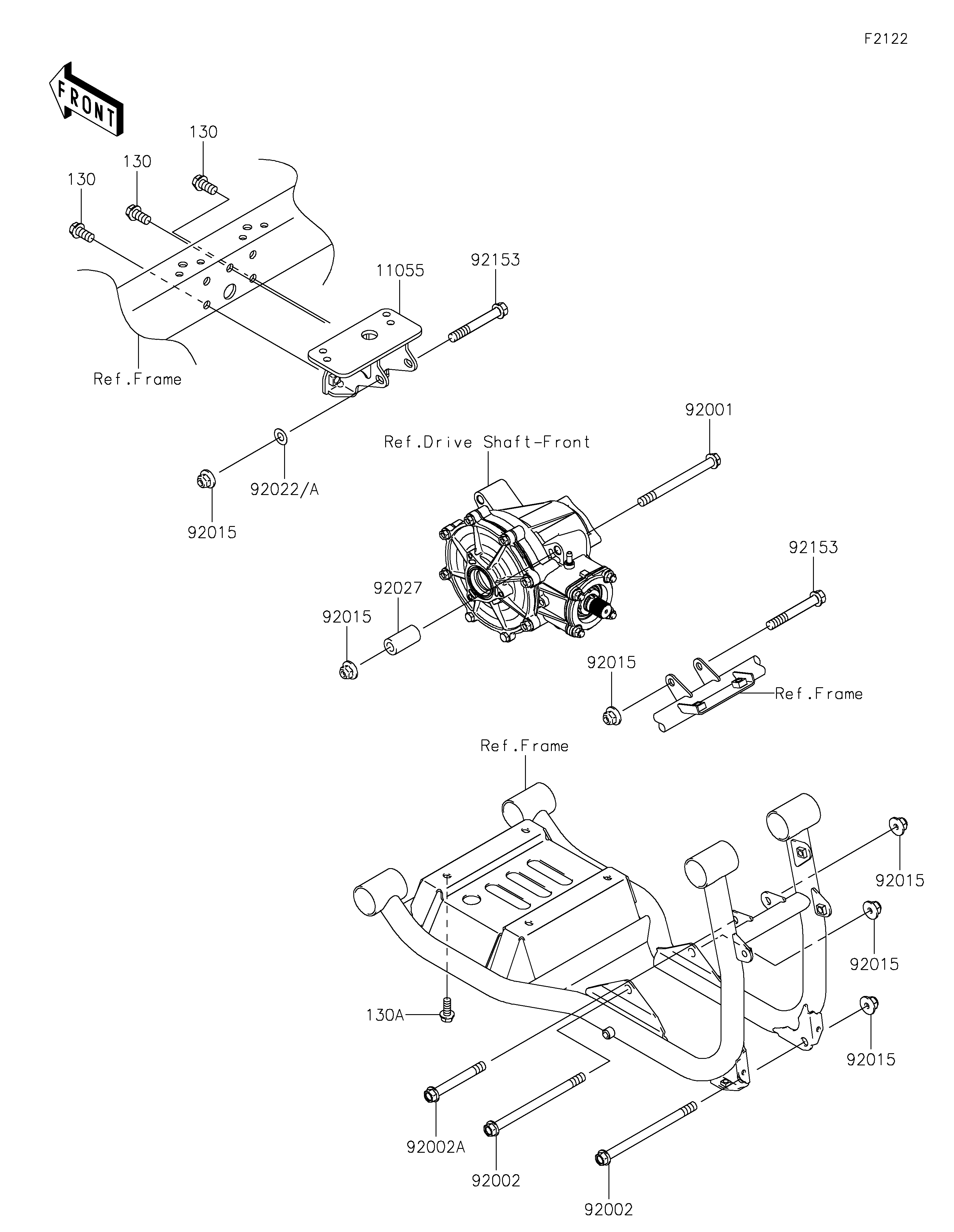
                                    | ITEM NAME | REF # | PART NUMBER | QUANTITY | DESTINATION | REMARKS | 
|---|---|---|---|---|---|
| BRACKET,FRONT GEAR CASE | 11055 | 11055-1469 | 1 | ||
| BOLT,FLANGED,10X115 | 92001 | 92001-1603 | 1 | ||
| BOLT,10X145 | 92002 | 92002-1348 | 2 | ||
| BOLT,FLANGED,10X80 | 92002A | 92002-1764 | 1 | ||
| NUT,LOCK,10MM | 92015 | 92015-1597 | 6 | ||
| WASHER,10.2X20X0.5 | 92022 | 92022-1649 | AR | ||
| WASHER,10.5X20X1 | 92022A | 92022-239 | AR | ||
| COLLAR,11X20X39 | 92027 | 92027-1518 | 1 | ||
| BOLT,FLANGED,10X75 | 92153 | 92153-1384 | 2 | ||
| BOLT-FLANGED,10X20 | 130 | 130BA1020 | 3 | ||
| BOLT-FLANGED,8X20 | 130A | 130CA0820 | 4 | 
| BRACKET,FRONT GEAR CASE | |
| REF # | 11055 | 
|---|---|
| PART NUMBER | |
| QUANTITY | 1 | 
| DESTINATION | |
| REMARKS | |
| BOLT,FLANGED,10X115 | |
| REF # | 92001 | 
|---|---|
| PART NUMBER | |
| QUANTITY | 1 | 
| DESTINATION | |
| REMARKS | |
| BOLT,10X145 | |
| REF # | 92002 | 
|---|---|
| PART NUMBER | |
| QUANTITY | 2 | 
| DESTINATION | |
| REMARKS | |
| BOLT,FLANGED,10X80 | |
| REF # | 92002A | 
|---|---|
| PART NUMBER | |
| QUANTITY | 1 | 
| DESTINATION | |
| REMARKS | |
| NUT,LOCK,10MM | |
| REF # | 92015 | 
|---|---|
| PART NUMBER | |
| QUANTITY | 6 | 
| DESTINATION | |
| REMARKS | |
| WASHER,10.2X20X0.5 | |
| REF # | 92022 | 
|---|---|
| PART NUMBER | |
| QUANTITY | AR | 
| DESTINATION | |
| REMARKS | |
| WASHER,10.5X20X1 | |
| REF # | 92022A | 
|---|---|
| PART NUMBER | |
| QUANTITY | AR | 
| DESTINATION | |
| REMARKS | |
| COLLAR,11X20X39 | |
| REF # | 92027 | 
|---|---|
| PART NUMBER | |
| QUANTITY | 1 | 
| DESTINATION | |
| REMARKS | |
| BOLT,FLANGED,10X75 | |
| REF # | 92153 | 
|---|---|
| PART NUMBER | |
| QUANTITY | 2 | 
| DESTINATION | |
| REMARKS | |
| BOLT-FLANGED,10X20 | |
| REF # | 130 | 
|---|---|
| PART NUMBER | |
| QUANTITY | 3 | 
| DESTINATION | |
| REMARKS | |
| BOLT-FLANGED,8X20 | |
| REF # | 130A | 
|---|---|
| PART NUMBER | |
| QUANTITY | 4 | 
| DESTINATION | |
| REMARKS | |