Skip to main content

Parts Diagrams

customer service agent speaking with a customer

Welcome, Kawasaki owners. Access the information and tools you need to get the most out of your vehicle.

Welcome, Kawasaki owners. Access the information and tools you need to get the most out of your vehicle.

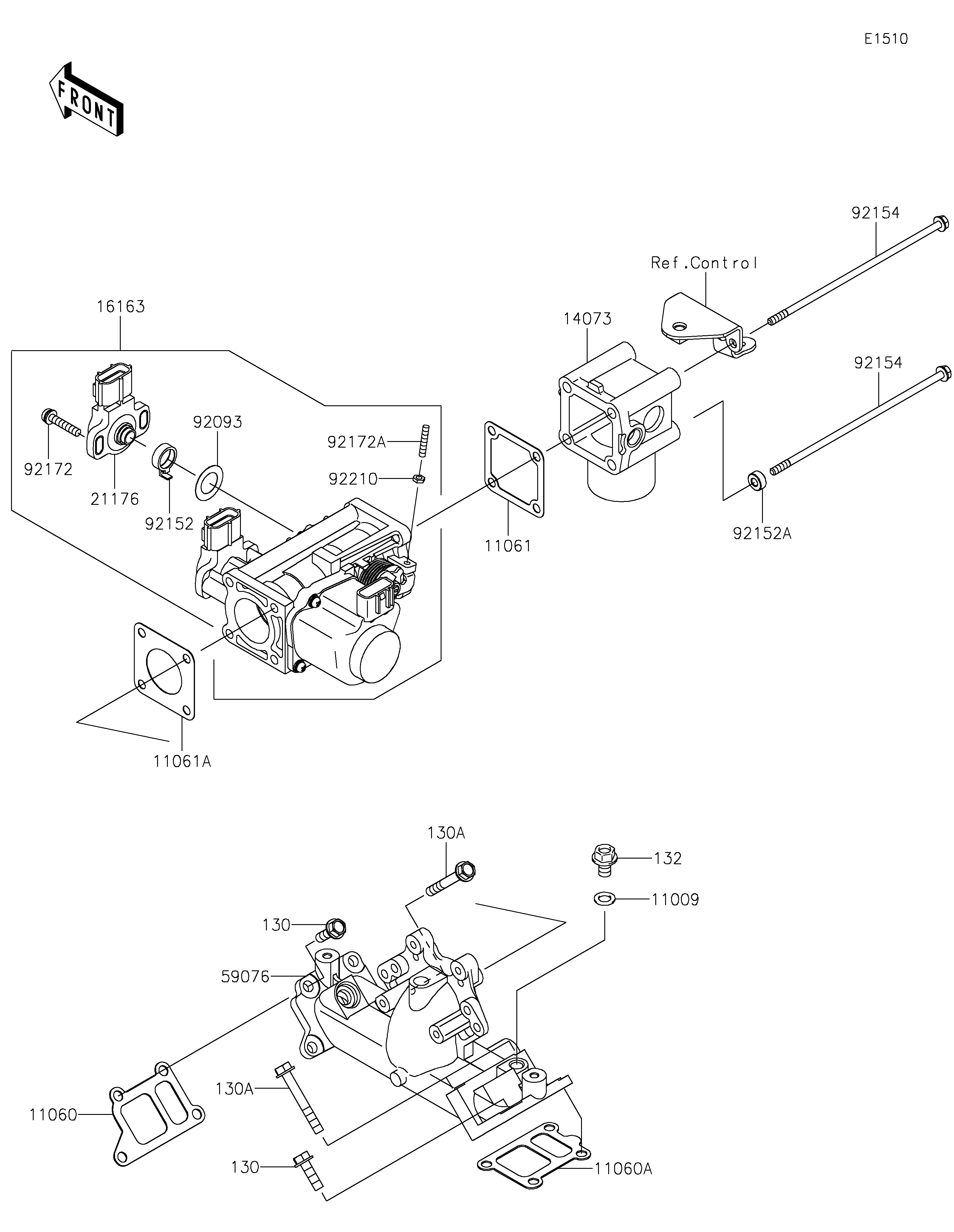
11009
11060
11060A
11061
11061A
14073
16163
21176
59076
92093
92152
92152A
92154
92154
92172
92172A
92210
130
130
130A
130A
132
Part Item Information
ITEM NAME REF # PART NUMBER QUANTITY DESTINATION REMARKS
GASKET,8.2X14X1.0 11009 11009-1344 1
GASKET,INTAKE MANIFOLD 11060 11060-2087 1
GASKET,INTAKE MANIFOLD 11060A 11060-2088 1
GASKET 11061 11061-0861 1
GASKET 11061A 11061-2179 1
DUCT 14073 14073-0780 1
THROTTLE-ASSY 16163 16163-0949 1
SENSOR 21176 21176-2112 1
MANIFOLD-INTAKE 59076 59076-0718 1
SEAL 92093 92093-2133 1
COLLAR 92152 92152-2093 1
COLLAR,LWR SIDE 92152A 92152-2333 2
BOLT,FLANGED,6X195 92154 92154-2653 4
SCREW 92172 92172-0254 2
SCREW 92172A 92172-2106 1
NUT 92210 92210-2120 1
BOLT-FLANGED,6X20 130 130BA0620 5
BOLT-FLANGED,6X45 130A 130CA0645 3
BOLT-FLANGED-SMALL,8X12 132 132BB0812 1