main content of page
Parts Diagrams
                        OWNER CENTER | 
                    
        Welcome, Kawasaki owners. Access the information and tools you need to get the most out of your vehicle.
                            OWNER CENTER | 
                        
Welcome, Kawasaki owners. Access the information and tools you need to get the most out of your vehicle.
                            Parts Diagrams | 
                        
                                            14041
                                        
                                    
                                            39152
                                        
                                    
                                            49048
                                        
                                    
                                            49048
                                        
                                    
                                            49048A
                                        
                                    
                                            49048A
                                        
                                    
                                            49048B
                                        
                                    
                                            49048B
                                        
                                    
                                            49048C
                                        
                                    
                                            49048C
                                        
                                    
                                            49048D
                                        
                                    
                                            49048D
                                        
                                    
                                            49048E
                                        
                                    
                                            49048E
                                        
                                    
                                            49048F
                                        
                                    
                                            49048F
                                        
                                    
                                            49048G
                                        
                                    
                                            49048G
                                        
                                    
                                            49048H
                                        
                                    
                                            49048H
                                        
                                    
                                            49050
                                        
                                    
                                            49093
                                        
                                    
                                            59302
                                        
                                    
                                            59302A
                                        
                                    
                                            92019
                                        
                                    
                                            92019
                                        
                                    
                                            92043
                                        
                                    
                                            92043A
                                        
                                    
                                            92043A
                                        
                                    
                                            92139
                                        
                                    
                                            92139A
                                        
                                    
                                            92145
                                        
                                    
                                            92150
                                        
                                    
                                            92200
                                        
                                    
                                            92200
                                        
                                    
                                            92200A
                                        
                                    
                                            130
                                        
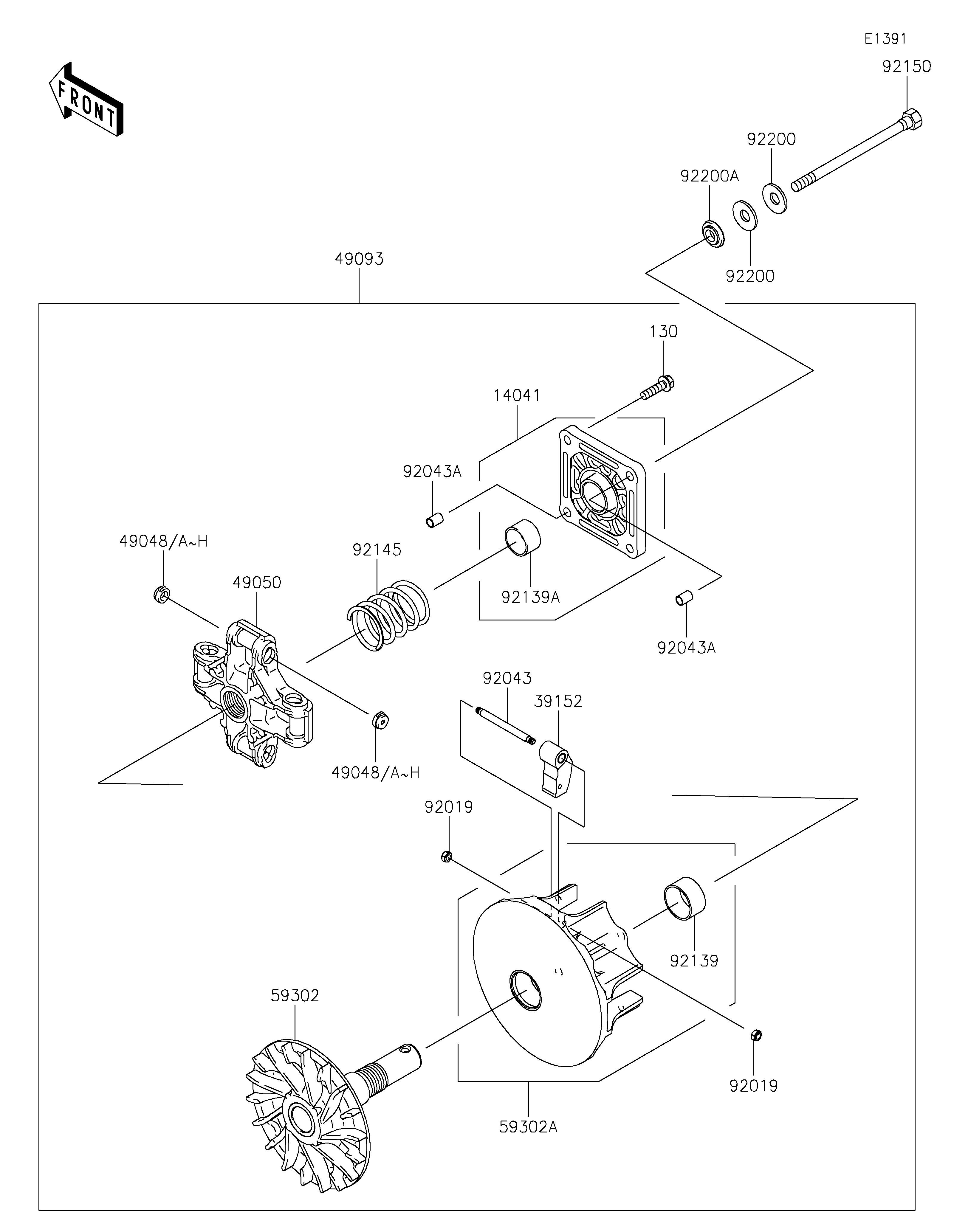
                                    | ITEM NAME | REF # | PART NUMBER | QUANTITY | DESTINATION | REMARKS | 
|---|---|---|---|---|---|
| COVER-COMP | 14041 | 14041-0022 | 1 | ||
| WEIGHT-RAMP,C | 39152 | 39152-0011 | 4 | ||
| SHOE,T=7.2 | 49048 | 49048-1087 | AR | ||
| SHOE,T=7.3 | 49048A | 49048-1088 | AR | ||
| SHOE,T=7.4 | 49048B | 49048-1089 | AR | ||
| SHOE,T=7.5 | 49048C | 49048-1090 | 8 | ||
| SHOE,T=7.6 | 49048D | 49048-1091 | AR | ||
| SHOE,T=7.7 | 49048E | 49048-1092 | AR | ||
| SHOE,T=7.8 | 49048F | 49048-1093 | AR | ||
| SHOE,T=7.9 | 49048G | 49048-1094 | AR | ||
| SHOE,T=8.0 | 49048H | 49048-1095 | AR | ||
| SPIDER | 49050 | 49050-0012 | 1 | ||
| CONVERTER-ASSY-DRIVE | 49093 | 49093-0021 | 1 | ||
| SHEAVE-COMP,FIXED | 59302 | 59302-0005 | 1 | ||
| SHEAVE-COMP | 59302A | 59302-0097 | 1 | ||
| NUT,LOCK,6MM | 92019 | 92019-008 | 8 | ||
| PIN | 92043 | 92043-0809 | 4 | ||
| PIN,8.2X10X14 | 92043A | 92043-1264 | 2 | ||
| BUSHING | 92139 | 92139-0049 | 1 | ||
| BUSHING | 92139A | 92139-0050 | 1 | ||
| SPRING | 92145 | 92145-0149 | 1 | ||
| BOLT,12X163.5 | 92150 | 92150-1008 | 1 | ||
| WASHER | 92200 | 92200-0249 | 2 | ||
| WASHER | 92200A | 92200-1634 | 1 | ||
| BOLT-FLANGED,8X30 | 130 | 130CA0830 | 4 | 
| COVER-COMP | |
| REF # | 14041 | 
|---|---|
| PART NUMBER | |
| QUANTITY | 1 | 
| DESTINATION | |
| REMARKS | |
| WEIGHT-RAMP,C | |
| REF # | 39152 | 
|---|---|
| PART NUMBER | |
| QUANTITY | 4 | 
| DESTINATION | |
| REMARKS | |
| SHOE,T=7.2 | |
| REF # | 49048 | 
|---|---|
| PART NUMBER | |
| QUANTITY | AR | 
| DESTINATION | |
| REMARKS | |
| SHOE,T=7.3 | |
| REF # | 49048A | 
|---|---|
| PART NUMBER | |
| QUANTITY | AR | 
| DESTINATION | |
| REMARKS | |
| SHOE,T=7.4 | |
| REF # | 49048B | 
|---|---|
| PART NUMBER | |
| QUANTITY | AR | 
| DESTINATION | |
| REMARKS | |
| SHOE,T=7.5 | |
| REF # | 49048C | 
|---|---|
| PART NUMBER | |
| QUANTITY | 8 | 
| DESTINATION | |
| REMARKS | |
| SHOE,T=7.6 | |
| REF # | 49048D | 
|---|---|
| PART NUMBER | |
| QUANTITY | AR | 
| DESTINATION | |
| REMARKS | |
| SHOE,T=7.7 | |
| REF # | 49048E | 
|---|---|
| PART NUMBER | |
| QUANTITY | AR | 
| DESTINATION | |
| REMARKS | |
| SHOE,T=7.8 | |
| REF # | 49048F | 
|---|---|
| PART NUMBER | |
| QUANTITY | AR | 
| DESTINATION | |
| REMARKS | |
| SHOE,T=7.9 | |
| REF # | 49048G | 
|---|---|
| PART NUMBER | |
| QUANTITY | AR | 
| DESTINATION | |
| REMARKS | |
| SHOE,T=8.0 | |
| REF # | 49048H | 
|---|---|
| PART NUMBER | |
| QUANTITY | AR | 
| DESTINATION | |
| REMARKS | |
| SPIDER | |
| REF # | 49050 | 
|---|---|
| PART NUMBER | |
| QUANTITY | 1 | 
| DESTINATION | |
| REMARKS | |
| CONVERTER-ASSY-DRIVE | |
| REF # | 49093 | 
|---|---|
| PART NUMBER | |
| QUANTITY | 1 | 
| DESTINATION | |
| REMARKS | |
| SHEAVE-COMP,FIXED | |
| REF # | 59302 | 
|---|---|
| PART NUMBER | |
| QUANTITY | 1 | 
| DESTINATION | |
| REMARKS | |
| SHEAVE-COMP | |
| REF # | 59302A | 
|---|---|
| PART NUMBER | |
| QUANTITY | 1 | 
| DESTINATION | |
| REMARKS | |
| NUT,LOCK,6MM | |
| REF # | 92019 | 
|---|---|
| PART NUMBER | |
| QUANTITY | 8 | 
| DESTINATION | |
| REMARKS | |
| PIN | |
| REF # | 92043 | 
|---|---|
| PART NUMBER | |
| QUANTITY | 4 | 
| DESTINATION | |
| REMARKS | |
| PIN,8.2X10X14 | |
| REF # | 92043A | 
|---|---|
| PART NUMBER | |
| QUANTITY | 2 | 
| DESTINATION | |
| REMARKS | |
| BUSHING | |
| REF # | 92139 | 
|---|---|
| PART NUMBER | |
| QUANTITY | 1 | 
| DESTINATION | |
| REMARKS | |
| BUSHING | |
| REF # | 92139A | 
|---|---|
| PART NUMBER | |
| QUANTITY | 1 | 
| DESTINATION | |
| REMARKS | |
| SPRING | |
| REF # | 92145 | 
|---|---|
| PART NUMBER | |
| QUANTITY | 1 | 
| DESTINATION | |
| REMARKS | |
| BOLT,12X163.5 | |
| REF # | 92150 | 
|---|---|
| PART NUMBER | |
| QUANTITY | 1 | 
| DESTINATION | |
| REMARKS | |
| WASHER | |
| REF # | 92200 | 
|---|---|
| PART NUMBER | |
| QUANTITY | 2 | 
| DESTINATION | |
| REMARKS | |
| WASHER | |
| REF # | 92200A | 
|---|---|
| PART NUMBER | |
| QUANTITY | 1 | 
| DESTINATION | |
| REMARKS | |
| BOLT-FLANGED,8X30 | |
| REF # | 130 | 
|---|---|
| PART NUMBER | |
| QUANTITY | 4 | 
| DESTINATION | |
| REMARKS | |