Skip to main content

Parts Diagrams

customer service agent speaking with a customer

Welcome, Kawasaki owners. Access the information and tools you need to get the most out of your vehicle.

Welcome, Kawasaki owners. Access the information and tools you need to get the most out of your vehicle.

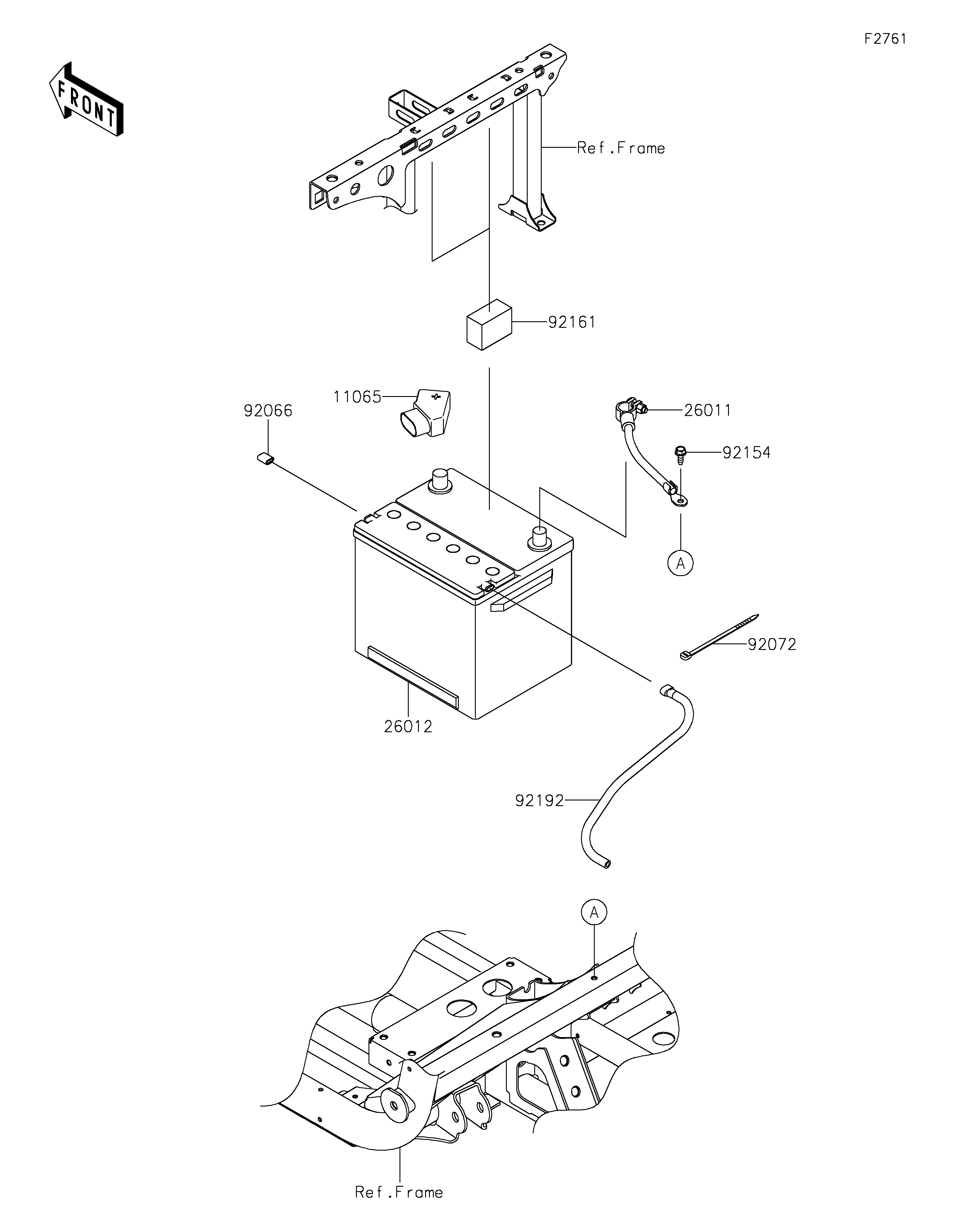
2026 TERYX® KRX4 1000 BLACKOUT EDITION - Battery

11065
26011
26012
92066
92072
92154
92161
92192
Part Item Information
ITEM NAME REF # PART NUMBER QUANTITY DESTINATION REMARKS
CAP 11065 11065-0850 1
WIRE-LEAD,BATTERY(-) 26011 26011-1871 1
BATTERY,WET,(26R) 26012 26012-1569 1
PLUG,BREATHER 92066 92066-1592 1
BAND,92X2.4 92072 92072-0791 1
BOLT,FLANGED,6X16 92154 92154-0551 1
DAMPER,TANK & SEAT FRAME 92161 92161-2288 2
TUBE,BREATHER,7X10X300 92192 92192-2257 1