main content of page
Parts Diagrams
OWNER CENTER |
Welcome, Kawasaki owners. Access the information and tools you need to get the most out of your vehicle.
OWNER CENTER |
Welcome, Kawasaki owners. Access the information and tools you need to get the most out of your vehicle.
Parts Diagrams |
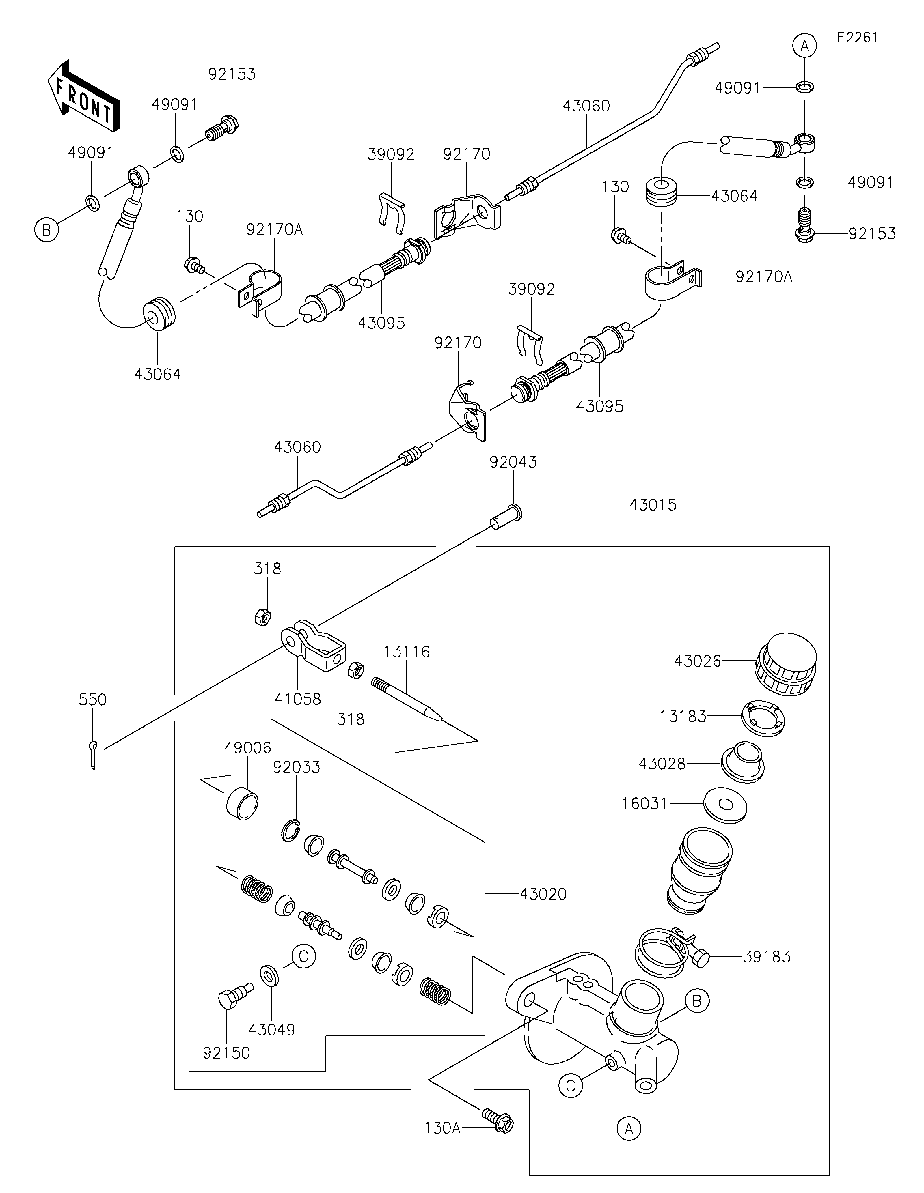
2026 MULE™ 4010 TRANS4x4® CAMO - Master Cylinder
13116
13183
16031
39092
39092
39183
41058
43015
43020
43026
43028
43049
43060
43060
43064
43064
43095
43095
49006
49091
49091
49091
49091
92033
92043
92150
92153
92153
92170
92170
92170A
92170A
130
130
130A
318
318
550
| ITEM NAME | REF # | PART NUMBER | QUANTITY | DESTINATION | REMARKS |
|---|---|---|---|---|---|
| ROD-PUSH | 13116 | 13116-1134 | 1 | ||
| PLATE | 13183 | 13183-1306 | 1 | ||
| FLOAT | 16031 | 16031-1069 | 1 | ||
| PIN-HAIR | 39092 | 39092-1052 | 2 | ||
| BAND-ASSY | 39183 | 39183-1055 | 1 | ||
| RODEND-BRAKE | 41058 | 41058-1053 | 1 | ||
| CYLINDER-ASSY-MASTER | 43015 | 43015-1682 | 1 | ||
| PISTON-COMP-BRAKE | 43020 | 43020-1124 | 1 | ||
| CAP-BRAKE | 43026 | 43026-1067 | 1 | ||
| DIAPHRAGM | 43028 | 43028-1078 | 1 | ||
| PACKING | 43049 | 43049-1065 | 1 | ||
| PIPE-BRAKE,FR | 43060 | 43060-1082 | 2 | ||
| GROMMET,HOSE CLAMP | 43064 | 43064-007 | 2 | ||
| HOSE-BRAKE,FR | 43095 | 43095-1822 | 2 | ||
| BOOT | 49006 | 49006-1245 | 1 | ||
| WASHER-SEAL,10.1X14.5X1.5 | 49091 | 49091-0001 | 4 | ||
| RING-SNAP | 92033 | 92033-1255 | 1 | ||
| PIN | 92043 | 92043-1039 | 1 | ||
| BOLT,STOP | 92150 | 92150-1165 | 1 | ||
| BOLT,OIL,L=23 | 92153 | 92153-1419 | 2 | ||
| CLAMP,BRAKE PIPE | 92170 | 92170-1093 | 2 | ||
| CLAMP,HOSE | 92170A | 92170-1173 | 2 | ||
| BOLT-FLANGED,6X10 | 130 | 130AA0610 | 2 | ||
| BOLT-FLANGED,8X20 | 130A | 130CA0820 | 2 | ||
| NUT-HEX-SMALL,8MM | 318 | 318BA0800 | 2 | ||
| PIN-COTTER,2.5X18 | 550 | 550AA2518 | 1 |
| ROD-PUSH | |
| REF # | 13116 |
|---|---|
| PART NUMBER | |
| QUANTITY | 1 |
| DESTINATION | |
| REMARKS | |
| PLATE | |
| REF # | 13183 |
|---|---|
| PART NUMBER | |
| QUANTITY | 1 |
| DESTINATION | |
| REMARKS | |
| FLOAT | |
| REF # | 16031 |
|---|---|
| PART NUMBER | |
| QUANTITY | 1 |
| DESTINATION | |
| REMARKS | |
| PIN-HAIR | |
| REF # | 39092 |
|---|---|
| PART NUMBER | |
| QUANTITY | 2 |
| DESTINATION | |
| REMARKS | |
| BAND-ASSY | |
| REF # | 39183 |
|---|---|
| PART NUMBER | |
| QUANTITY | 1 |
| DESTINATION | |
| REMARKS | |
| RODEND-BRAKE | |
| REF # | 41058 |
|---|---|
| PART NUMBER | |
| QUANTITY | 1 |
| DESTINATION | |
| REMARKS | |
| CYLINDER-ASSY-MASTER | |
| REF # | 43015 |
|---|---|
| PART NUMBER | |
| QUANTITY | 1 |
| DESTINATION | |
| REMARKS | |
| PISTON-COMP-BRAKE | |
| REF # | 43020 |
|---|---|
| PART NUMBER | |
| QUANTITY | 1 |
| DESTINATION | |
| REMARKS | |
| CAP-BRAKE | |
| REF # | 43026 |
|---|---|
| PART NUMBER | |
| QUANTITY | 1 |
| DESTINATION | |
| REMARKS | |
| DIAPHRAGM | |
| REF # | 43028 |
|---|---|
| PART NUMBER | |
| QUANTITY | 1 |
| DESTINATION | |
| REMARKS | |
| PACKING | |
| REF # | 43049 |
|---|---|
| PART NUMBER | |
| QUANTITY | 1 |
| DESTINATION | |
| REMARKS | |
| PIPE-BRAKE,FR | |
| REF # | 43060 |
|---|---|
| PART NUMBER | |
| QUANTITY | 2 |
| DESTINATION | |
| REMARKS | |
| GROMMET,HOSE CLAMP | |
| REF # | 43064 |
|---|---|
| PART NUMBER | |
| QUANTITY | 2 |
| DESTINATION | |
| REMARKS | |
| HOSE-BRAKE,FR | |
| REF # | 43095 |
|---|---|
| PART NUMBER | |
| QUANTITY | 2 |
| DESTINATION | |
| REMARKS | |
| BOOT | |
| REF # | 49006 |
|---|---|
| PART NUMBER | |
| QUANTITY | 1 |
| DESTINATION | |
| REMARKS | |
| WASHER-SEAL,10.1X14.5X1.5 | |
| REF # | 49091 |
|---|---|
| PART NUMBER | |
| QUANTITY | 4 |
| DESTINATION | |
| REMARKS | |
| RING-SNAP | |
| REF # | 92033 |
|---|---|
| PART NUMBER | |
| QUANTITY | 1 |
| DESTINATION | |
| REMARKS | |
| PIN | |
| REF # | 92043 |
|---|---|
| PART NUMBER | |
| QUANTITY | 1 |
| DESTINATION | |
| REMARKS | |
| BOLT,STOP | |
| REF # | 92150 |
|---|---|
| PART NUMBER | |
| QUANTITY | 1 |
| DESTINATION | |
| REMARKS | |
| BOLT,OIL,L=23 | |
| REF # | 92153 |
|---|---|
| PART NUMBER | |
| QUANTITY | 2 |
| DESTINATION | |
| REMARKS | |
| CLAMP,BRAKE PIPE | |
| REF # | 92170 |
|---|---|
| PART NUMBER | |
| QUANTITY | 2 |
| DESTINATION | |
| REMARKS | |
| CLAMP,HOSE | |
| REF # | 92170A |
|---|---|
| PART NUMBER | |
| QUANTITY | 2 |
| DESTINATION | |
| REMARKS | |
| BOLT-FLANGED,6X10 | |
| REF # | 130 |
|---|---|
| PART NUMBER | |
| QUANTITY | 2 |
| DESTINATION | |
| REMARKS | |
| BOLT-FLANGED,8X20 | |
| REF # | 130A |
|---|---|
| PART NUMBER | |
| QUANTITY | 2 |
| DESTINATION | |
| REMARKS | |
| NUT-HEX-SMALL,8MM | |
| REF # | 318 |
|---|---|
| PART NUMBER | |
| QUANTITY | 2 |
| DESTINATION | |
| REMARKS | |
| PIN-COTTER,2.5X18 | |
| REF # | 550 |
|---|---|
| PART NUMBER | |
| QUANTITY | 1 |
| DESTINATION | |
| REMARKS | |