main content of page
Parts Diagrams
                        OWNER CENTER | 
                    
        Welcome, Kawasaki owners. Access the information and tools you need to get the most out of your vehicle.
                            OWNER CENTER | 
                        
Welcome, Kawasaki owners. Access the information and tools you need to get the most out of your vehicle.
                            Parts Diagrams | 
                        
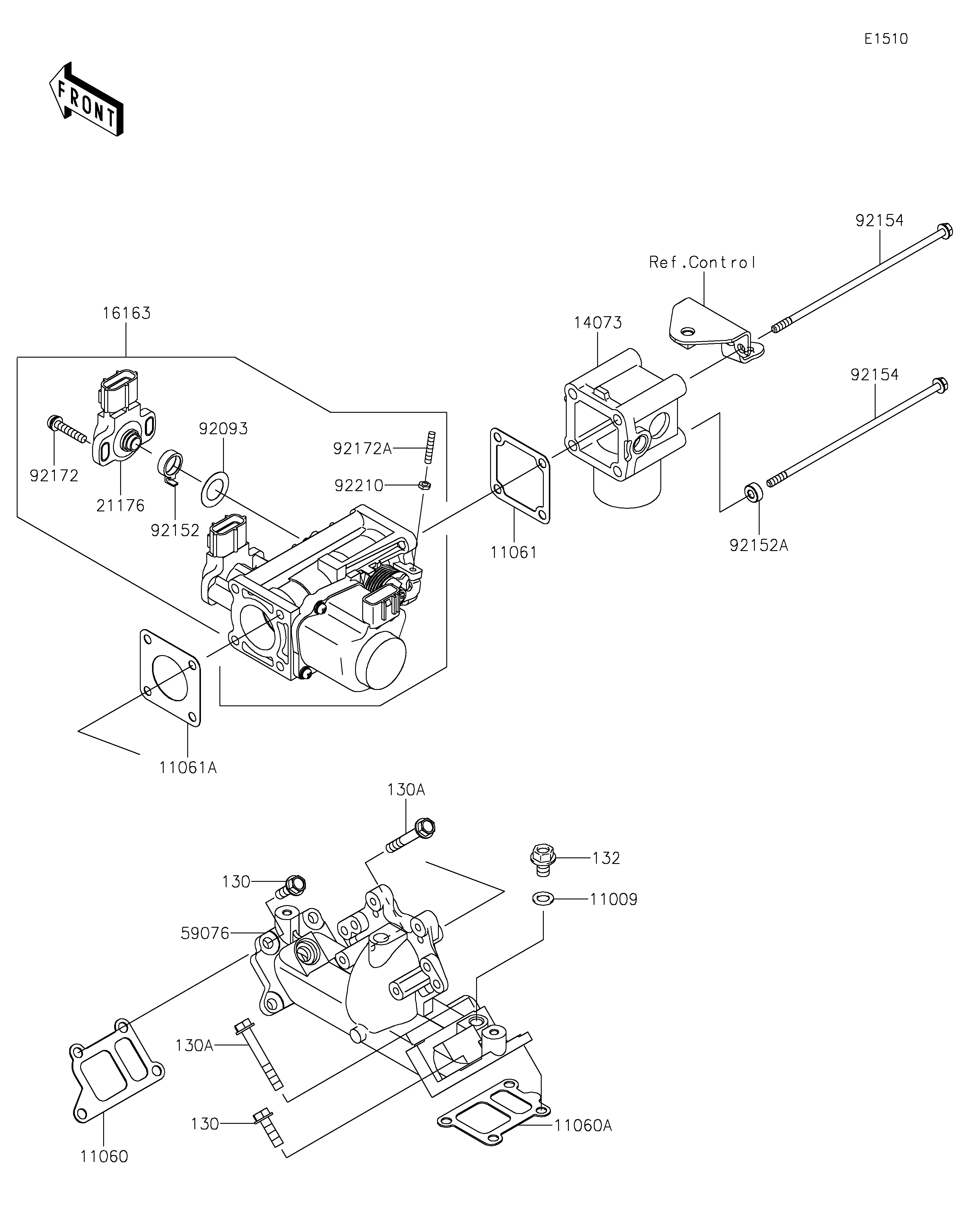
                                            11009
                                        
                                    
                                            11060
                                        
                                    
                                            11060A
                                        
                                    
                                            11061
                                        
                                    
                                            11061A
                                        
                                    
                                            14073
                                        
                                    
                                            16163
                                        
                                    
                                            21176
                                        
                                    
                                            59076
                                        
                                    
                                            92093
                                        
                                    
                                            92152
                                        
                                    
                                            92152A
                                        
                                    
                                            92154
                                        
                                    
                                            92154
                                        
                                    
                                            92172
                                        
                                    
                                            92172A
                                        
                                    
                                            92210
                                        
                                    
                                            130
                                        
                                    
                                            130
                                        
                                    
                                            130A
                                        
                                    
                                            130A
                                        
                                    
                                            132
                                        
                                    | ITEM NAME | REF # | PART NUMBER | QUANTITY | DESTINATION | REMARKS | 
|---|---|---|---|---|---|
| GASKET,8.2X14X1.0 | 11009 | 11009-1344 | 1 | ||
| GASKET,INTAKE MANIFOLD | 11060 | 11060-2087 | 1 | ||
| GASKET,INTAKE MANIFOLD | 11060A | 11060-2088 | 1 | ||
| GASKET | 11061 | 11061-0861 | 1 | ||
| GASKET | 11061A | 11061-2179 | 1 | ||
| DUCT | 14073 | 14073-0780 | 1 | ||
| THROTTLE-ASSY | 16163 | 16163-0949 | 1 | ||
| SENSOR | 21176 | 21176-2112 | 1 | ||
| MANIFOLD-INTAKE | 59076 | 59076-0718 | 1 | ||
| SEAL | 92093 | 92093-2133 | 1 | ||
| COLLAR | 92152 | 92152-2093 | 1 | ||
| COLLAR,LWR SIDE | 92152A | 92152-2333 | 2 | ||
| BOLT,FLANGED,6X195 | 92154 | 92154-2653 | 4 | ||
| SCREW | 92172 | 92172-0254 | 2 | ||
| SCREW | 92172A | 92172-2106 | 1 | ||
| NUT | 92210 | 92210-2120 | 1 | ||
| BOLT-FLANGED,6X20 | 130 | 130BA0620 | 5 | ||
| BOLT-FLANGED,6X45 | 130A | 130CA0645 | 3 | ||
| BOLT-FLANGED-SMALL,8X12 | 132 | 132BB0812 | 1 | 
| GASKET,8.2X14X1.0 | |
| REF # | 11009 | 
|---|---|
| PART NUMBER | |
| QUANTITY | 1 | 
| DESTINATION | |
| REMARKS | |
| GASKET,INTAKE MANIFOLD | |
| REF # | 11060 | 
|---|---|
| PART NUMBER | |
| QUANTITY | 1 | 
| DESTINATION | |
| REMARKS | |
| GASKET,INTAKE MANIFOLD | |
| REF # | 11060A | 
|---|---|
| PART NUMBER | |
| QUANTITY | 1 | 
| DESTINATION | |
| REMARKS | |
| GASKET | |
| REF # | 11061 | 
|---|---|
| PART NUMBER | |
| QUANTITY | 1 | 
| DESTINATION | |
| REMARKS | |
| GASKET | |
| REF # | 11061A | 
|---|---|
| PART NUMBER | |
| QUANTITY | 1 | 
| DESTINATION | |
| REMARKS | |
| DUCT | |
| REF # | 14073 | 
|---|---|
| PART NUMBER | |
| QUANTITY | 1 | 
| DESTINATION | |
| REMARKS | |
| THROTTLE-ASSY | |
| REF # | 16163 | 
|---|---|
| PART NUMBER | |
| QUANTITY | 1 | 
| DESTINATION | |
| REMARKS | |
| SENSOR | |
| REF # | 21176 | 
|---|---|
| PART NUMBER | |
| QUANTITY | 1 | 
| DESTINATION | |
| REMARKS | |
| MANIFOLD-INTAKE | |
| REF # | 59076 | 
|---|---|
| PART NUMBER | |
| QUANTITY | 1 | 
| DESTINATION | |
| REMARKS | |
| SEAL | |
| REF # | 92093 | 
|---|---|
| PART NUMBER | |
| QUANTITY | 1 | 
| DESTINATION | |
| REMARKS | |
| COLLAR | |
| REF # | 92152 | 
|---|---|
| PART NUMBER | |
| QUANTITY | 1 | 
| DESTINATION | |
| REMARKS | |
| COLLAR,LWR SIDE | |
| REF # | 92152A | 
|---|---|
| PART NUMBER | |
| QUANTITY | 2 | 
| DESTINATION | |
| REMARKS | |
| BOLT,FLANGED,6X195 | |
| REF # | 92154 | 
|---|---|
| PART NUMBER | |
| QUANTITY | 4 | 
| DESTINATION | |
| REMARKS | |
| SCREW | |
| REF # | 92172 | 
|---|---|
| PART NUMBER | |
| QUANTITY | 2 | 
| DESTINATION | |
| REMARKS | |
| SCREW | |
| REF # | 92172A | 
|---|---|
| PART NUMBER | |
| QUANTITY | 1 | 
| DESTINATION | |
| REMARKS | |
| NUT | |
| REF # | 92210 | 
|---|---|
| PART NUMBER | |
| QUANTITY | 1 | 
| DESTINATION | |
| REMARKS | |
| BOLT-FLANGED,6X20 | |
| REF # | 130 | 
|---|---|
| PART NUMBER | |
| QUANTITY | 5 | 
| DESTINATION | |
| REMARKS | |
| BOLT-FLANGED,6X45 | |
| REF # | 130A | 
|---|---|
| PART NUMBER | |
| QUANTITY | 3 | 
| DESTINATION | |
| REMARKS | |
| BOLT-FLANGED-SMALL,8X12 | |
| REF # | 132 | 
|---|---|
| PART NUMBER | |
| QUANTITY | 1 | 
| DESTINATION | |
| REMARKS | |