Skip to main content

Parts Diagrams

customer service agent speaking with a customer

Welcome, Kawasaki owners. Access the information and tools you need to get the most out of your vehicle.

Welcome, Kawasaki owners. Access the information and tools you need to get the most out of your vehicle.

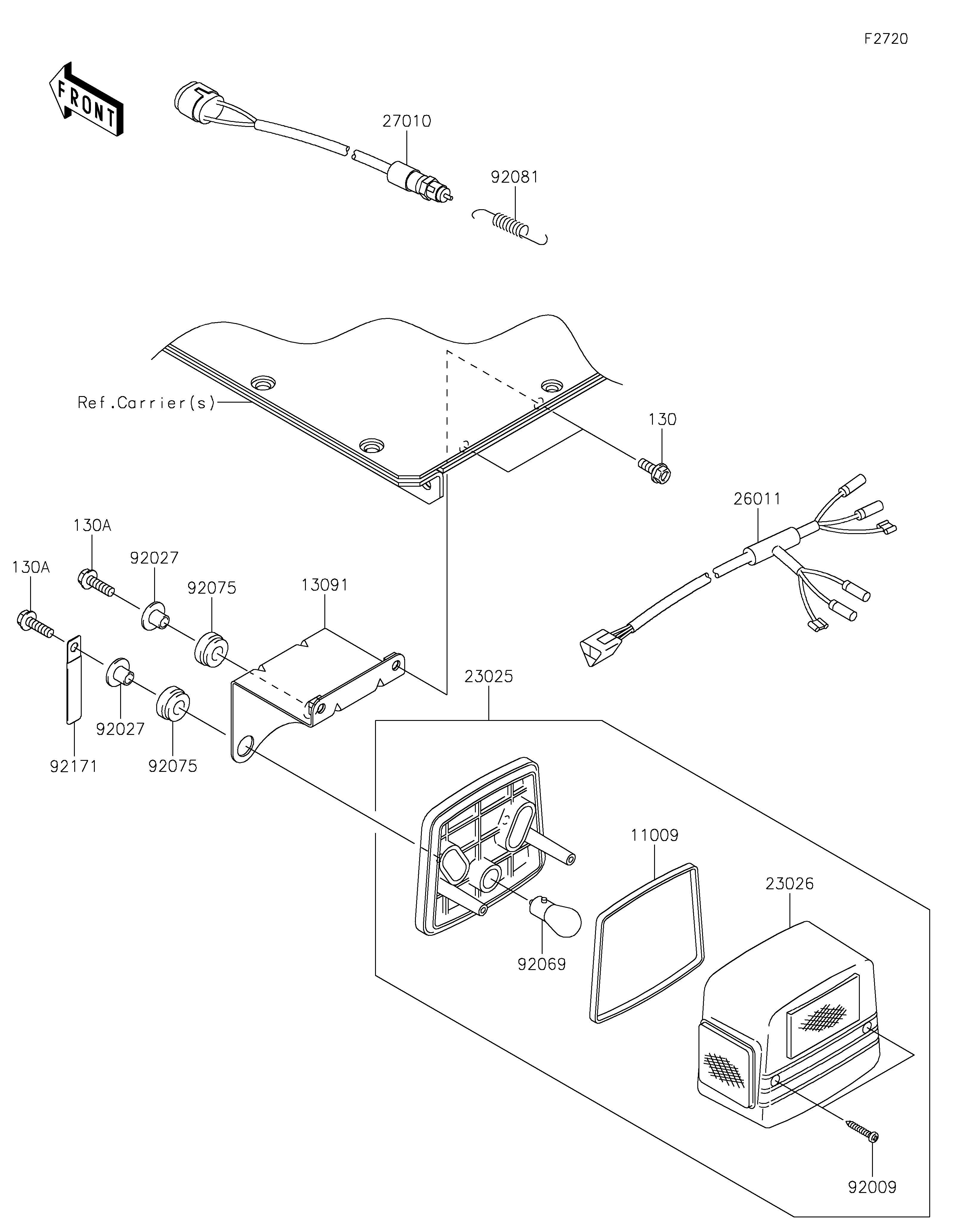
11009
13091
23025
23026
26011
27010
92009
92027
92027
92069
92075
92075
92081
92171
130
130A
130A
Part Item Information
ITEM NAME REF # PART NUMBER QUANTITY DESTINATION REMARKS
GASKET,TAIL LAMP 11009 11009-1215 2
HOLDER,TAIL LAMP 13091 13091-1743 2
LAMP-TAIL 23025 23025-1042 2
LENS,TAIL LAMP 23026 23026-1019 2
WIRE-LEAD 26011 26011-1756 1
SWITCH,BRAKE LAMP 27010 27010-1301 1
SCREW,TAPPING,4X25 92009 92009-1069 4
COLLAR,L=11.1 92027 92027-194 4
BULB,12V 21/5W 92069 92069-1011 2
DAMPER 92075 92075-277 4
SPRING,HOOK RETURN 92081 92081-1466 1
CLAMP,L=60 92171 92171-0652 2
BOLT-FLANGED,6X16 130 130BA0616 4
BOLT-FLANGED,6X20 130A 130BA0620 4