main content of page
Parts Diagrams
OWNER CENTER |
Welcome, Kawasaki owners. Access the information and tools you need to get the most out of your vehicle.
OWNER CENTER |
Welcome, Kawasaki owners. Access the information and tools you need to get the most out of your vehicle.
Parts Diagrams |
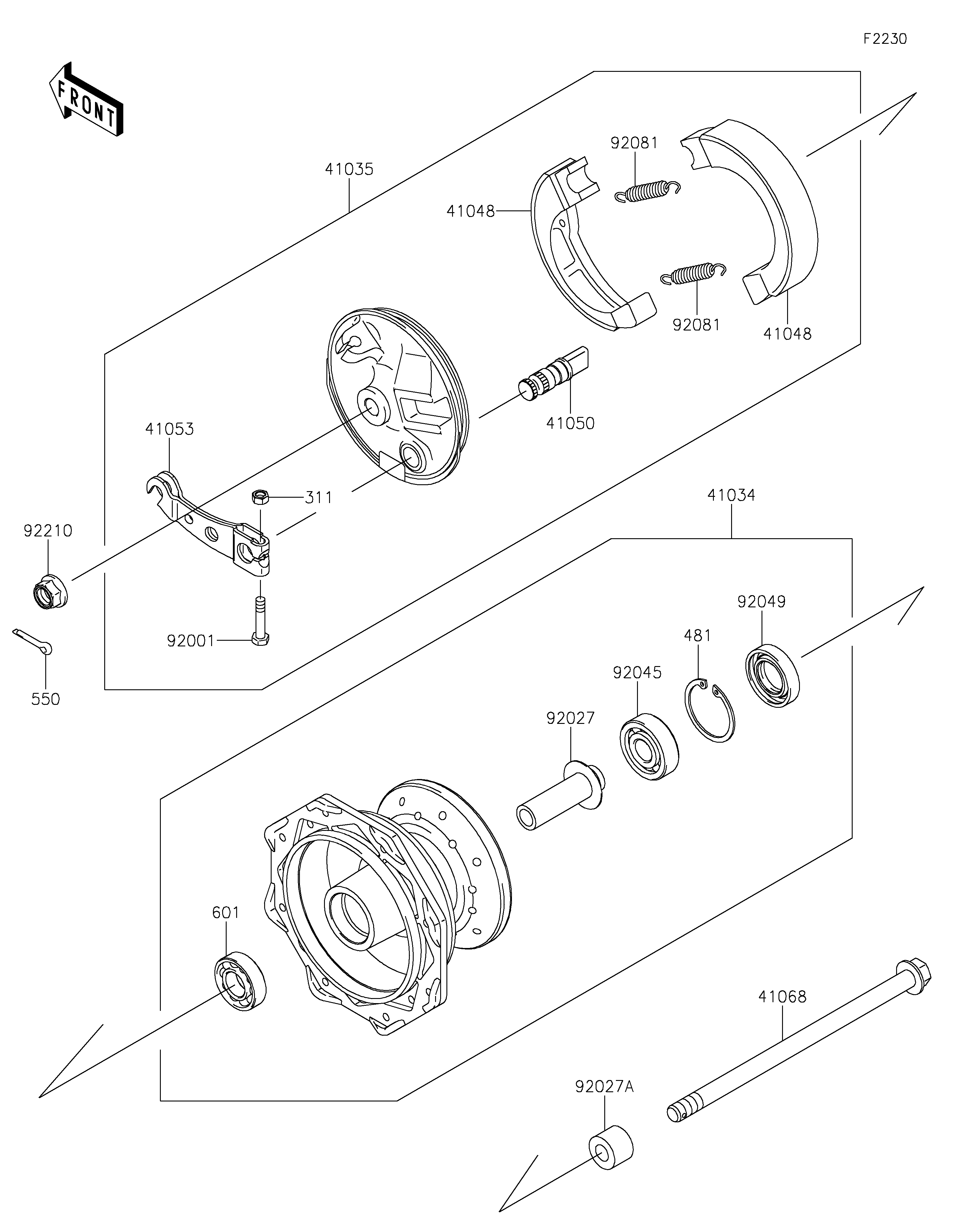
41034
41035
41048
41048
41050
41053
41068
92001
92027
92027A
92045
92049
92081
92081
92210
311
481
550
601
| ITEM NAME | REF # | PART NUMBER | QUANTITY | DESTINATION | REMARKS |
|---|---|---|---|---|---|
| DRUM-ASSY,FRONT BRAKE | 41034 | 41034-0618 | 1 | ||
| PANEL-ASSY-BRAKE,FR | 41035 | 41035-1543 | 1 | ||
| SHOE-BRAKE | 41048 | 41048-1083 | 2 | ||
| CAM-BRAKE | 41050 | 41050-1031 | 1 | ||
| LEVER-BRAKE CAM,FR | 41053 | 41053-1027 | 1 | ||
| AXLE,FR | 41068 | 41068-0015 | 1 | ||
| BOLT,5X25 | 92001 | 92001-1695 | 1 | ||
| COLLAR,FRONT DRUM,L=54 | 92027 | 92027-1470 | 1 | ||
| COLLAR,FRONT AXLE,L=14.5 | 92027A | 92027-1472 | 1 | ||
| BEARING-BALL,#6300UUC3 | 92045 | 92045-0860 | 1 | ||
| SEAL-OIL,DD20X35X7 | 92049 | 92049-0052 | 1 | ||
| SPRING,BRAKE SHOE | 92081 | 92081-1564 | 2 | ||
| NUT,LOCK,FLANGED,10MM | 92210 | 92210-0276 | 1 | ||
| NUT-HEX,5MM | 311 | 311BA0500 | 1 | ||
| CIRCLIP-TYPE-C,35MM | 481 | 481J3500 | 1 | ||
| PIN-COTTER,2.5X20 | 550 | 550S2520 | 1 | ||
| BEARING-BALL,#6200UUC3 | 601 | 601B6200UU | 1 |
| DRUM-ASSY,FRONT BRAKE | |
| REF # | 41034 |
|---|---|
| PART NUMBER | |
| QUANTITY | 1 |
| DESTINATION | |
| REMARKS | |
| PANEL-ASSY-BRAKE,FR | |
| REF # | 41035 |
|---|---|
| PART NUMBER | |
| QUANTITY | 1 |
| DESTINATION | |
| REMARKS | |
| SHOE-BRAKE | |
| REF # | 41048 |
|---|---|
| PART NUMBER | |
| QUANTITY | 2 |
| DESTINATION | |
| REMARKS | |
| CAM-BRAKE | |
| REF # | 41050 |
|---|---|
| PART NUMBER | |
| QUANTITY | 1 |
| DESTINATION | |
| REMARKS | |
| LEVER-BRAKE CAM,FR | |
| REF # | 41053 |
|---|---|
| PART NUMBER | |
| QUANTITY | 1 |
| DESTINATION | |
| REMARKS | |
| AXLE,FR | |
| REF # | 41068 |
|---|---|
| PART NUMBER | |
| QUANTITY | 1 |
| DESTINATION | |
| REMARKS | |
| BOLT,5X25 | |
| REF # | 92001 |
|---|---|
| PART NUMBER | |
| QUANTITY | 1 |
| DESTINATION | |
| REMARKS | |
| COLLAR,FRONT DRUM,L=54 | |
| REF # | 92027 |
|---|---|
| PART NUMBER | |
| QUANTITY | 1 |
| DESTINATION | |
| REMARKS | |
| COLLAR,FRONT AXLE,L=14.5 | |
| REF # | 92027A |
|---|---|
| PART NUMBER | |
| QUANTITY | 1 |
| DESTINATION | |
| REMARKS | |
| BEARING-BALL,#6300UUC3 | |
| REF # | 92045 |
|---|---|
| PART NUMBER | |
| QUANTITY | 1 |
| DESTINATION | |
| REMARKS | |
| SEAL-OIL,DD20X35X7 | |
| REF # | 92049 |
|---|---|
| PART NUMBER | |
| QUANTITY | 1 |
| DESTINATION | |
| REMARKS | |
| SPRING,BRAKE SHOE | |
| REF # | 92081 |
|---|---|
| PART NUMBER | |
| QUANTITY | 2 |
| DESTINATION | |
| REMARKS | |
| NUT,LOCK,FLANGED,10MM | |
| REF # | 92210 |
|---|---|
| PART NUMBER | |
| QUANTITY | 1 |
| DESTINATION | |
| REMARKS | |
| NUT-HEX,5MM | |
| REF # | 311 |
|---|---|
| PART NUMBER | |
| QUANTITY | 1 |
| DESTINATION | |
| REMARKS | |
| CIRCLIP-TYPE-C,35MM | |
| REF # | 481 |
|---|---|
| PART NUMBER | |
| QUANTITY | 1 |
| DESTINATION | |
| REMARKS | |
| PIN-COTTER,2.5X20 | |
| REF # | 550 |
|---|---|
| PART NUMBER | |
| QUANTITY | 1 |
| DESTINATION | |
| REMARKS | |
| BEARING-BALL,#6200UUC3 | |
| REF # | 601 |
|---|---|
| PART NUMBER | |
| QUANTITY | 1 |
| DESTINATION | |
| REMARKS | |