Skip to main content

Parts Diagrams

customer service agent speaking with a customer

Welcome, Kawasaki owners. Access the information and tools you need to get the most out of your vehicle.

Welcome, Kawasaki owners. Access the information and tools you need to get the most out of your vehicle.

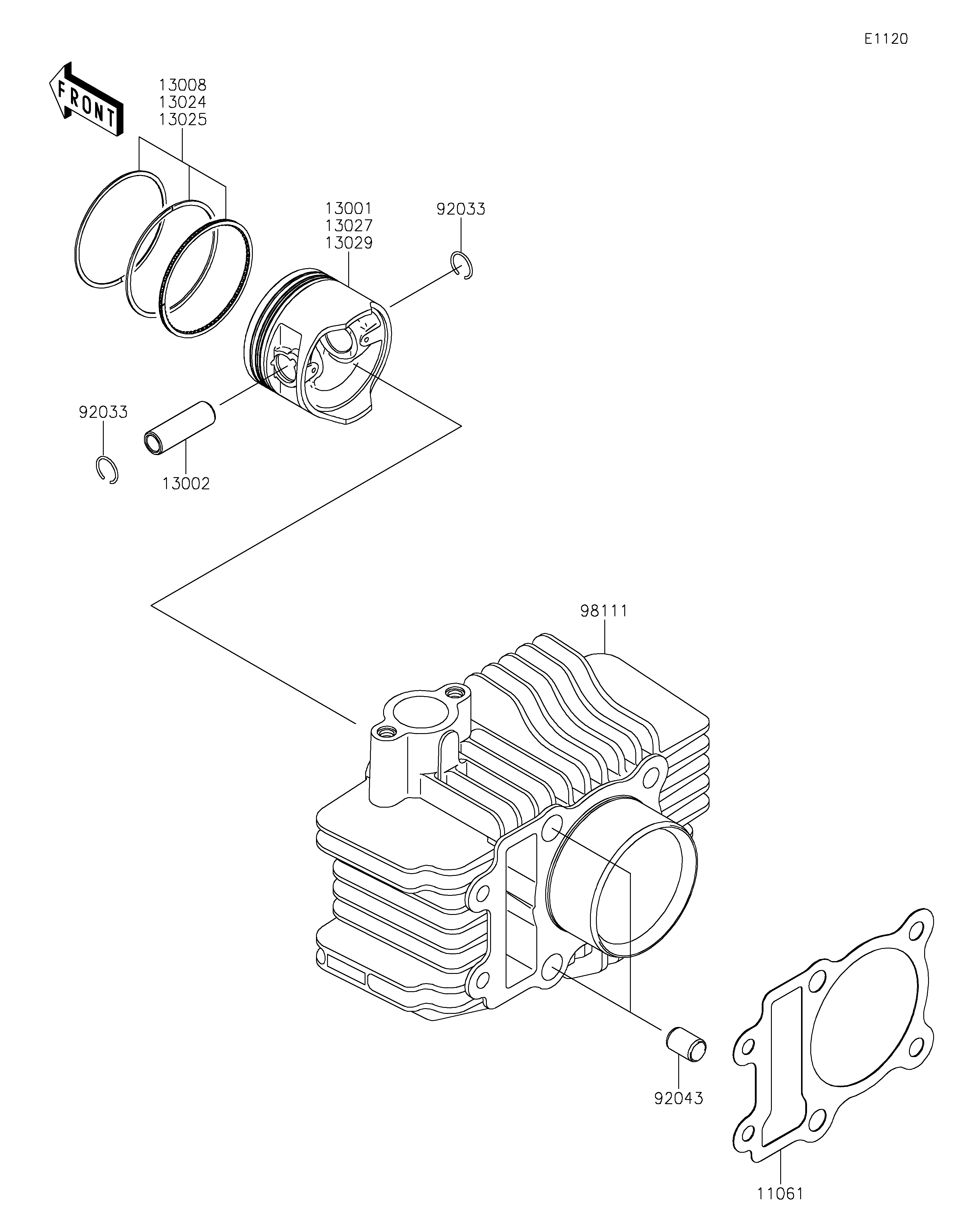
11061
13001
13002
13008
13024
13025
13027
13029
92033
92033
92043
98111
Part Item Information
ITEM NAME REF # PART NUMBER QUANTITY DESTINATION REMARKS
GASKET,CYLINDER BASE 11061 11061-0256 1
PISTON-ENGINE,STD 13001 13001-0118 1
PIN-PISTON 13002 13002-0031 1
RING-SET-PISTON 13008 13008-0011 1
RING-SET-PISTON LL,O/S 1.00 13024 13024-0007 1 (OPTION)
RING-SET-PISTON L,O/S 0.50 13025 13025-0008 1 (OPTION)
PISTON-ENGINE LL 13027 13027-0015 1 (OPTION)
PISTON-ENGINE L 13029 13029-0020 1 (OPTION)
RING-SNAP 92033 92033-1072 2
PIN,8.2X10X14 92043 92043-1742 2
CYLINDER-COMP-ENGINE 98111 98111-0031 1