Skip to main content

Parts Diagrams

customer service agent speaking with a customer

Welcome, Kawasaki owners. Access the information and tools you need to get the most out of your vehicle.

Welcome, Kawasaki owners. Access the information and tools you need to get the most out of your vehicle.

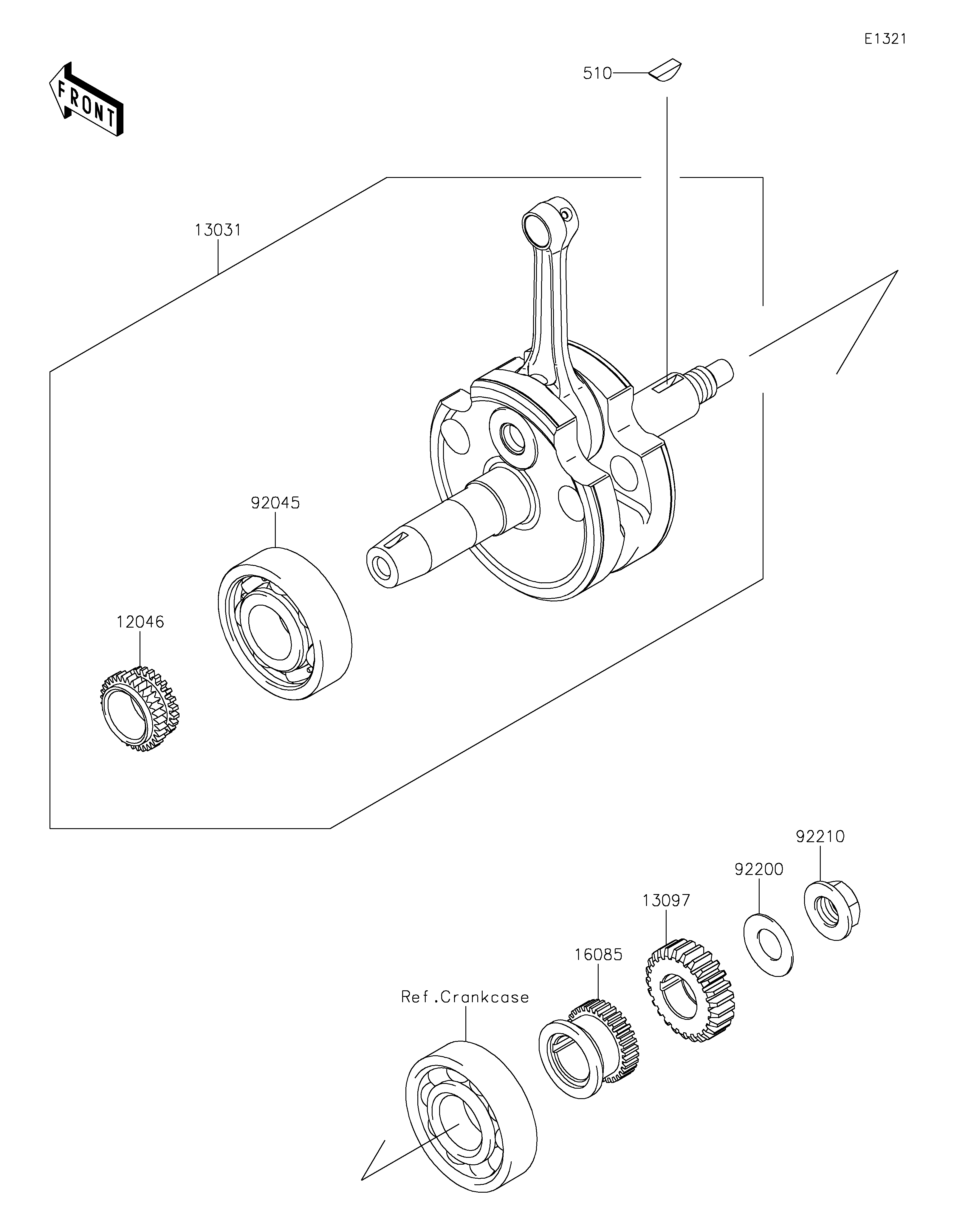
12046
13031
13097
16085
92045
92200
92210
510
Part Item Information
ITEM NAME REF # PART NUMBER QUANTITY DESTINATION REMARKS
SPROCKET,18T 12046 12046-0575 1
CRANKSHAFT-COMP 13031 13031-1529 1
GEAR-PRIMARY SPUR,25T 13097 13097-0569 1
GEAR,21T 16085 16085-0607 1
BEARING-BALL,25X62X17 92045 92045-0895 1
WASHER,14.2X28X1.5 92200 92200-0553 1
NUT,14MM,LEFT HANDED 92210 92210-1647 1
KEY-WOODRUFF 510 510A4200 1