Skip to main content

Parts Diagrams

customer service agent speaking with a customer

Welcome, Kawasaki owners. Access the information and tools you need to get the most out of your vehicle.

Welcome, Kawasaki owners. Access the information and tools you need to get the most out of your vehicle.

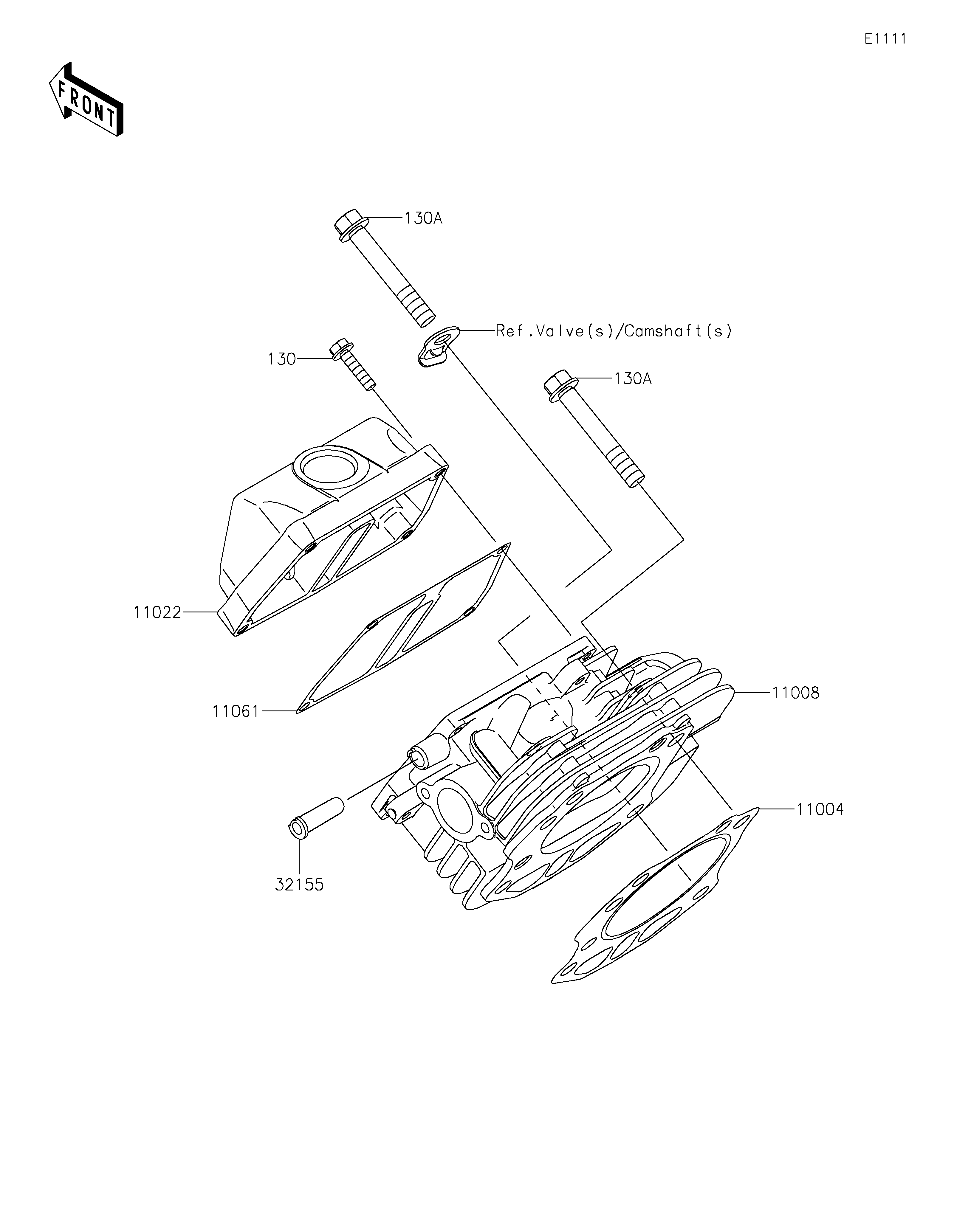
2021 MULE SX 4x4 XC CAMO FI - Cylinder Head

11004
11008
11022
11061
32155
130
130A
130A
Part Item Information
ITEM NAME REF # PART NUMBER QUANTITY DESTINATION REMARKS
GASKET-HEAD 11004 11004-7017 1
HEAD-COMP-CYLINDER 11008 11008-2162 1
CASE-ROCKER 11022 11022-0045 1
GASKET,CASE-ROCKER 11061 11061-1325 1
PIPE,HEAD-CYLINDER 32155 32155-2213 1
BOLT-FLANGED,6X25 130 130BA0625 4
BOLT-FLANGED,10X65 130A 130CA1065 4