main content of page
Parts Diagrams
| OWNER CENTER | 
 
        Welcome, Kawasaki owners. Access the information and tools you need to get the most out of your vehicle.
| OWNER CENTER | 
Welcome, Kawasaki owners. Access the information and tools you need to get the most out of your vehicle.
| Parts Diagrams | 
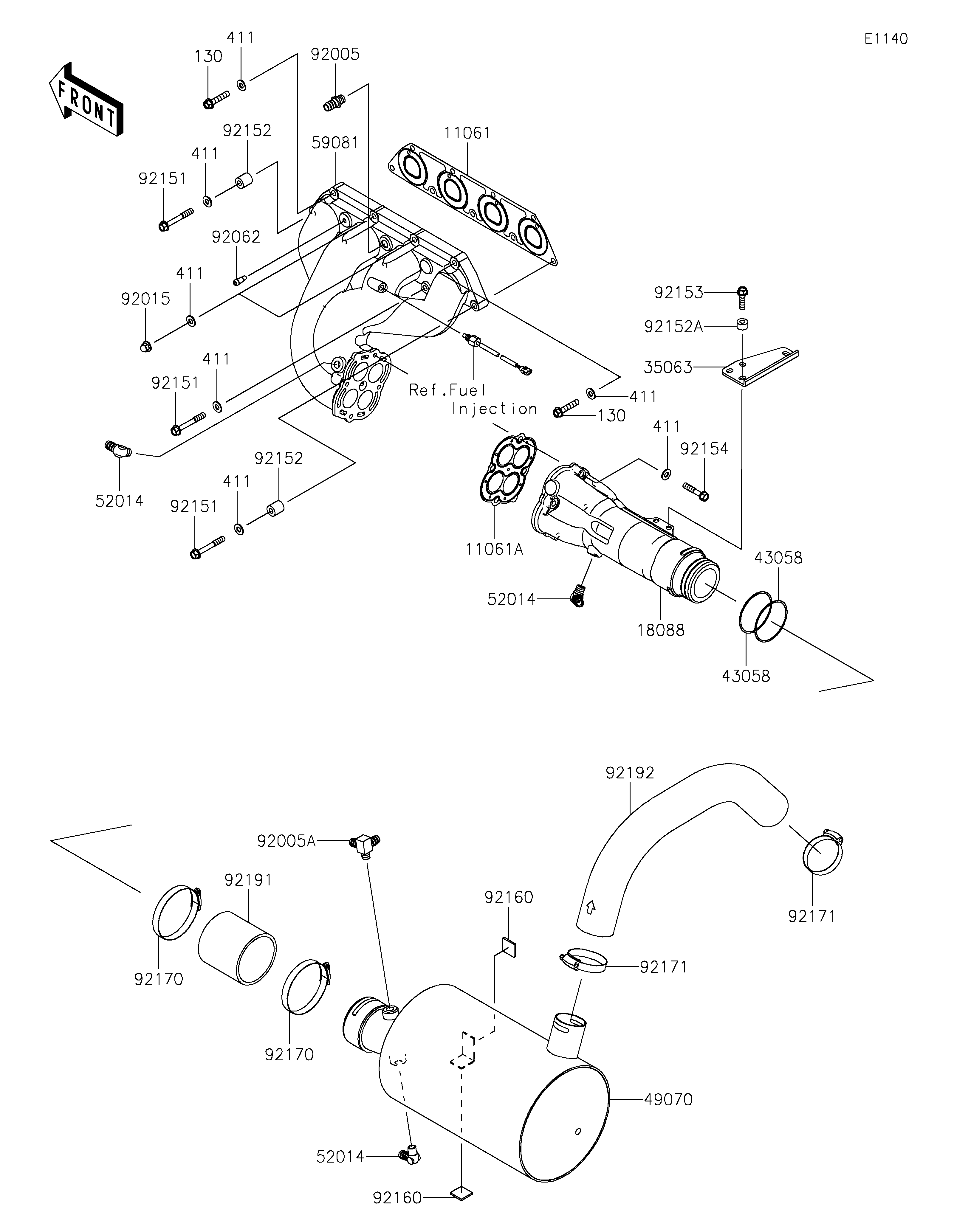
2023 JET SKI® ULTRA® 160LX - Muffler(s)
                                            11061
                                        
                                    
                                            11061A
                                        
                                    
                                            18088
                                        
                                    
                                            35063
                                        
                                    
                                            43058
                                        
                                    
                                            43058
                                        
                                    
                                            49070
                                        
                                    
                                            52014
                                        
                                    
                                            52014
                                        
                                    
                                            52014
                                        
                                    
                                            59081
                                        
                                    
                                            92005
                                        
                                    
                                            92005A
                                        
                                    
                                            92015
                                        
                                    
                                            92062
                                        
                                    
                                            92151
                                        
                                    
                                            92151
                                        
                                    
                                            92151
                                        
                                    
                                            92152
                                        
                                    
                                            92152
                                        
                                    
                                            92152A
                                        
                                    
                                            92153
                                        
                                    
                                            92154
                                        
                                    
                                            92160
                                        
                                    
                                            92160
                                        
                                    
                                            92170
                                        
                                    
                                            92170
                                        
                                    
                                            92171
                                        
                                    
                                            92171
                                        
                                    
                                            92191
                                        
                                    
                                            92192
                                        
                                    
                                            130
                                        
                                    
                                            130
                                        
                                    
                                            411
                                        
                                    
                                            411
                                        
                                    
                                            411
                                        
                                    
                                            411
                                        
                                    
                                            411
                                        
                                    
                                            411
                                        
                                    
                                            411
                                        
                                    | ITEM NAME | REF # | PART NUMBER | QUANTITY | DESTINATION | REMARKS | 
|---|---|---|---|---|---|
| GASKET,MANIFOLD EXHAUST | 11061 | 11061-3713 | 1 | ||
| GASKET,PIPE EXHAUST | 11061A | 11061-3714 | 1 | ||
| PIPE-EXHAUST | 18088 | 18088-3723 | 1 | ||
| STAY | 35063 | 35063-3704 | 1 | ||
| RING,GASKET | 43058 | 43058-3733 | 2 | ||
| MUFFLER-COMP | 49070 | 49070-0045 | 1 | ||
| ELBOW | 52014 | 52014-3711 | 3 | ||
| MANIFOLD-EXHAUST | 59081 | 59081-3741 | 1 | ||
| FITTING | 92005 | 92005-3714 | 1 | ||
| FITTING | 92005A | 92005-3751 | 1 | ||
| NUT,CAP,8MM | 92015 | 92015-1371 | 2 | ||
| NOZZLE | 92062 | 92062-0562 | 1 | ||
| BOLT,8X60 | 92151 | 92151-3730 | 5 | ||
| COLLAR | 92152 | 92152-3736 | 2 | ||
| COLLAR,8.2X17X10 | 92152A | 92152-3740 | 4 | ||
| BOLT,FLANGED,8X30 | 92153 | 92153-3722 | 4 | ||
| BOLT,FLANGED,8X40 | 92154 | 92154-0992 | 4 | ||
| DAMPER,25X25 | 92160 | 92160-3864 | 2 | ||
| CLAMP | 92170 | 92170-3764 | 2 | ||
| CLAMP | 92171 | 92171-3723 | 2 | ||
| TUBE,PIPE EX-MUFFLER | 92191 | 92191-3986 | 1 | ||
| TUBE,W/M-TAIL PIPE | 92192 | 92192-1173 | 1 | ||
| BOLT-FLANGED,8X40 | 130 | 130CD0840 | 2 | ||
| WASHER-PLAIN,8MM | 411 | 411S0800 | 13 | 
| GASKET,MANIFOLD EXHAUST | |
| REF # | 11061 | 
|---|---|
| PART NUMBER | |
| QUANTITY | 1 | 
| DESTINATION | |
| REMARKS | |
| GASKET,PIPE EXHAUST | |
| REF # | 11061A | 
|---|---|
| PART NUMBER | |
| QUANTITY | 1 | 
| DESTINATION | |
| REMARKS | |
| PIPE-EXHAUST | |
| REF # | 18088 | 
|---|---|
| PART NUMBER | |
| QUANTITY | 1 | 
| DESTINATION | |
| REMARKS | |
| STAY | |
| REF # | 35063 | 
|---|---|
| PART NUMBER | |
| QUANTITY | 1 | 
| DESTINATION | |
| REMARKS | |
| RING,GASKET | |
| REF # | 43058 | 
|---|---|
| PART NUMBER | |
| QUANTITY | 2 | 
| DESTINATION | |
| REMARKS | |
| MUFFLER-COMP | |
| REF # | 49070 | 
|---|---|
| PART NUMBER | |
| QUANTITY | 1 | 
| DESTINATION | |
| REMARKS | |
| ELBOW | |
| REF # | 52014 | 
|---|---|
| PART NUMBER | |
| QUANTITY | 3 | 
| DESTINATION | |
| REMARKS | |
| MANIFOLD-EXHAUST | |
| REF # | 59081 | 
|---|---|
| PART NUMBER | |
| QUANTITY | 1 | 
| DESTINATION | |
| REMARKS | |
| FITTING | |
| REF # | 92005 | 
|---|---|
| PART NUMBER | |
| QUANTITY | 1 | 
| DESTINATION | |
| REMARKS | |
| FITTING | |
| REF # | 92005A | 
|---|---|
| PART NUMBER | |
| QUANTITY | 1 | 
| DESTINATION | |
| REMARKS | |
| NUT,CAP,8MM | |
| REF # | 92015 | 
|---|---|
| PART NUMBER | |
| QUANTITY | 2 | 
| DESTINATION | |
| REMARKS | |
| NOZZLE | |
| REF # | 92062 | 
|---|---|
| PART NUMBER | |
| QUANTITY | 1 | 
| DESTINATION | |
| REMARKS | |
| BOLT,8X60 | |
| REF # | 92151 | 
|---|---|
| PART NUMBER | |
| QUANTITY | 5 | 
| DESTINATION | |
| REMARKS | |
| COLLAR | |
| REF # | 92152 | 
|---|---|
| PART NUMBER | |
| QUANTITY | 2 | 
| DESTINATION | |
| REMARKS | |
| COLLAR,8.2X17X10 | |
| REF # | 92152A | 
|---|---|
| PART NUMBER | |
| QUANTITY | 4 | 
| DESTINATION | |
| REMARKS | |
| BOLT,FLANGED,8X30 | |
| REF # | 92153 | 
|---|---|
| PART NUMBER | |
| QUANTITY | 4 | 
| DESTINATION | |
| REMARKS | |
| BOLT,FLANGED,8X40 | |
| REF # | 92154 | 
|---|---|
| PART NUMBER | |
| QUANTITY | 4 | 
| DESTINATION | |
| REMARKS | |
| DAMPER,25X25 | |
| REF # | 92160 | 
|---|---|
| PART NUMBER | |
| QUANTITY | 2 | 
| DESTINATION | |
| REMARKS | |
| CLAMP | |
| REF # | 92170 | 
|---|---|
| PART NUMBER | |
| QUANTITY | 2 | 
| DESTINATION | |
| REMARKS | |
| CLAMP | |
| REF # | 92171 | 
|---|---|
| PART NUMBER | |
| QUANTITY | 2 | 
| DESTINATION | |
| REMARKS | |
| TUBE,PIPE EX-MUFFLER | |
| REF # | 92191 | 
|---|---|
| PART NUMBER | |
| QUANTITY | 1 | 
| DESTINATION | |
| REMARKS | |
| TUBE,W/M-TAIL PIPE | |
| REF # | 92192 | 
|---|---|
| PART NUMBER | |
| QUANTITY | 1 | 
| DESTINATION | |
| REMARKS | |
| BOLT-FLANGED,8X40 | |
| REF # | 130 | 
|---|---|
| PART NUMBER | |
| QUANTITY | 2 | 
| DESTINATION | |
| REMARKS | |
| WASHER-PLAIN,8MM | |
| REF # | 411 | 
|---|---|
| PART NUMBER | |
| QUANTITY | 13 | 
| DESTINATION | |
| REMARKS | |
 
                             
                             
                             
                             
                             
                            