main content of page
Parts Diagrams
OWNER CENTER |

Welcome, Kawasaki owners. Access the information and tools you need to get the most out of your vehicle.
OWNER CENTER |
Welcome, Kawasaki owners. Access the information and tools you need to get the most out of your vehicle.
Parts Diagrams |
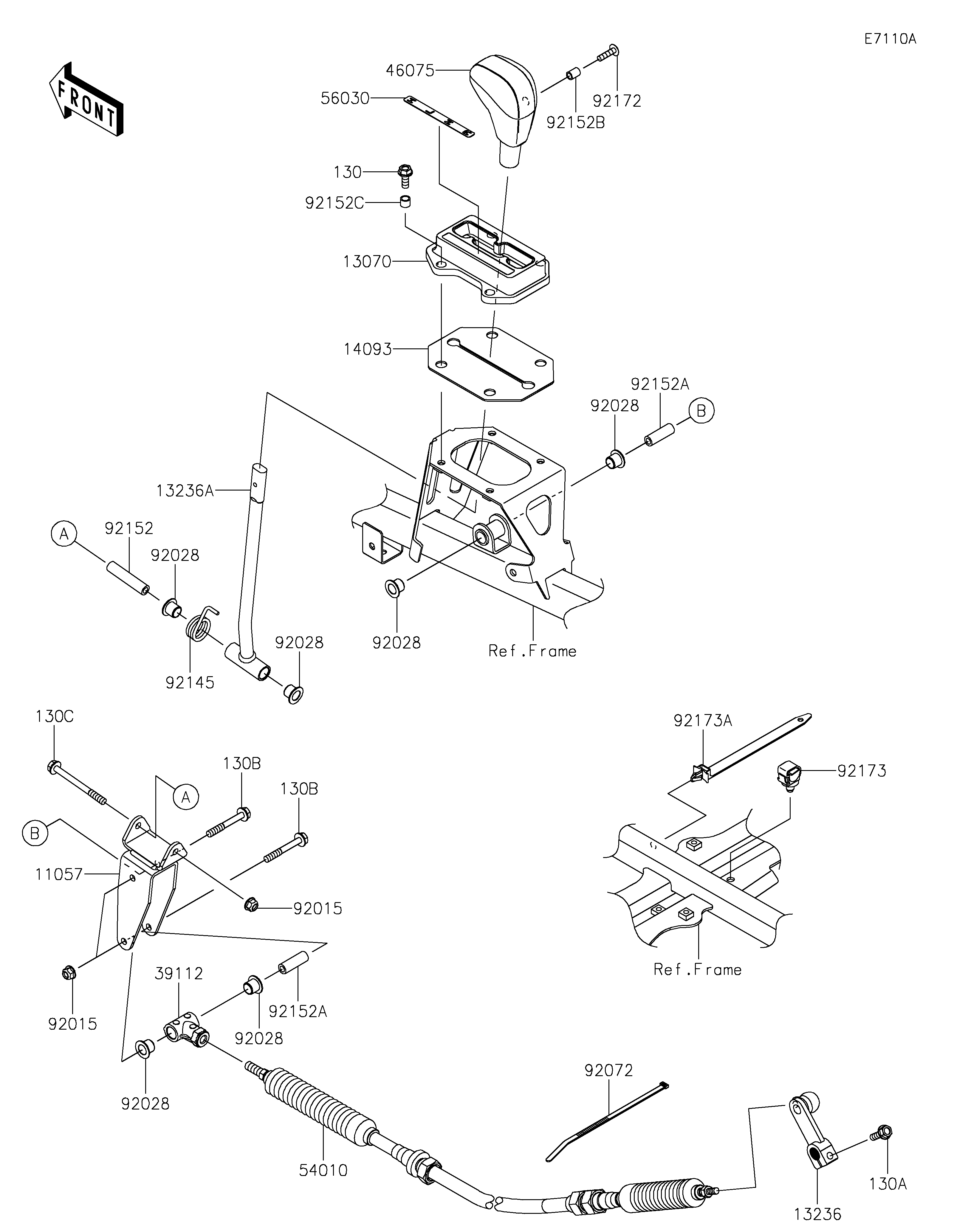
2022 TERYX KRX® 1000 SPECIAL EDITION - Control(JKARFCC1 NB501827 - )
11057
13070
13236
13236A
14093
39112
46075
54010
56030
92015
92015
92028
92028
92028
92028
92028
92028
92072
92145
92152
92152A
92152A
92152B
92152C
92172
92173
92173A
130
130A
130B
130B
130C
ITEM NAME | REF # | PART NUMBER | QUANTITY | DESTINATION | REMARKS |
---|---|---|---|---|---|
BRACKET,LEVER | 11057 | 11057-7665 | 1 | ||
GUIDE | 13070 | 13070-0894 | 1 | ||
LEVER-COMP,CHANGE LEVER | 13236 | 13236-0708 | 1 | ||
LEVER-COMP | 13236A | 13236-0817 | 1 | ||
COVER,HEAT GUARD | 14093 | 14093-1245 | 1 | ||
RODEND-TIE | 39112 | 39112-0036 | 1 | ||
GRIP | 46075 | 46075-0569 | 1 | ||
CABLE | 54010 | 54010-0629 | 1 | ||
LABEL,POSITION | 56030 | 56030-1421 | 1 | ||
NUT,LOCK,FLANGED,6MM | 92015 | 92015-1675 | 3 | ||
BUSHING | 92028 | 92028-1507 | 6 | ||
BAND,L=292.1 | 92072 | 92072-3509 | 1 | ||
SPRING | 92145 | 92145-1839 | 1 | ||
COLLAR,6.0X10X47 | 92152 | 92152-1517 | 1 | ||
COLLAR,6.0X10X30 | 92152A | 92152-1518 | 2 | ||
COLLAR,5.6X8X10.5 | 92152B | 92152-1545 | 1 | ||
COLLAR,6.8X9.2X8.8 | 92152C | 92152-2863 | 4 | ||
SCREW,5X20 | 92172 | 92172-2081 | 1 | ||
CLAMP,12MM DIA. | 92173 | 92173-0736 | 1 | ||
CLAMP | 92173A | 92173-1980 | 1 | ||
BOLT-FLANGED,6X18 | 130 | 130BB0618 | 4 | ||
BOLT-FLANGED,6X20 | 130A | 130CA0620 | 1 | ||
BOLT-FLANGED,6X45 | 130B | 130CA0645 | 2 | ||
BOLT-FLANGED,6X65 | 130C | 130CA0665 | 1 |
BRACKET,LEVER | |
REF # | 11057 |
---|---|
PART NUMBER | |
QUANTITY | 1 |
DESTINATION | |
REMARKS |
GUIDE | |
REF # | 13070 |
---|---|
PART NUMBER | |
QUANTITY | 1 |
DESTINATION | |
REMARKS |
LEVER-COMP,CHANGE LEVER | |
REF # | 13236 |
---|---|
PART NUMBER | |
QUANTITY | 1 |
DESTINATION | |
REMARKS |
LEVER-COMP | |
REF # | 13236A |
---|---|
PART NUMBER | |
QUANTITY | 1 |
DESTINATION | |
REMARKS |
COVER,HEAT GUARD | |
REF # | 14093 |
---|---|
PART NUMBER | |
QUANTITY | 1 |
DESTINATION | |
REMARKS |
RODEND-TIE | |
REF # | 39112 |
---|---|
PART NUMBER | |
QUANTITY | 1 |
DESTINATION | |
REMARKS |
GRIP | |
REF # | 46075 |
---|---|
PART NUMBER | |
QUANTITY | 1 |
DESTINATION | |
REMARKS |
CABLE | |
REF # | 54010 |
---|---|
PART NUMBER | |
QUANTITY | 1 |
DESTINATION | |
REMARKS |
LABEL,POSITION | |
REF # | 56030 |
---|---|
PART NUMBER | |
QUANTITY | 1 |
DESTINATION | |
REMARKS |
NUT,LOCK,FLANGED,6MM | |
REF # | 92015 |
---|---|
PART NUMBER | |
QUANTITY | 3 |
DESTINATION | |
REMARKS |
BUSHING | |
REF # | 92028 |
---|---|
PART NUMBER | |
QUANTITY | 6 |
DESTINATION | |
REMARKS |
BAND,L=292.1 | |
REF # | 92072 |
---|---|
PART NUMBER | |
QUANTITY | 1 |
DESTINATION | |
REMARKS |
SPRING | |
REF # | 92145 |
---|---|
PART NUMBER | |
QUANTITY | 1 |
DESTINATION | |
REMARKS |
COLLAR,6.0X10X47 | |
REF # | 92152 |
---|---|
PART NUMBER | |
QUANTITY | 1 |
DESTINATION | |
REMARKS |
COLLAR,6.0X10X30 | |
REF # | 92152A |
---|---|
PART NUMBER | |
QUANTITY | 2 |
DESTINATION | |
REMARKS |
COLLAR,5.6X8X10.5 | |
REF # | 92152B |
---|---|
PART NUMBER | |
QUANTITY | 1 |
DESTINATION | |
REMARKS |
COLLAR,6.8X9.2X8.8 | |
REF # | 92152C |
---|---|
PART NUMBER | |
QUANTITY | 4 |
DESTINATION | |
REMARKS |
SCREW,5X20 | |
REF # | 92172 |
---|---|
PART NUMBER | |
QUANTITY | 1 |
DESTINATION | |
REMARKS |
CLAMP,12MM DIA. | |
REF # | 92173 |
---|---|
PART NUMBER | |
QUANTITY | 1 |
DESTINATION | |
REMARKS |
CLAMP | |
REF # | 92173A |
---|---|
PART NUMBER | |
QUANTITY | 1 |
DESTINATION | |
REMARKS |
BOLT-FLANGED,6X18 | |
REF # | 130 |
---|---|
PART NUMBER | |
QUANTITY | 4 |
DESTINATION | |
REMARKS |
BOLT-FLANGED,6X20 | |
REF # | 130A |
---|---|
PART NUMBER | |
QUANTITY | 1 |
DESTINATION | |
REMARKS |
BOLT-FLANGED,6X45 | |
REF # | 130B |
---|---|
PART NUMBER | |
QUANTITY | 2 |
DESTINATION | |
REMARKS |
BOLT-FLANGED,6X65 | |
REF # | 130C |
---|---|
PART NUMBER | |
QUANTITY | 1 |
DESTINATION | |
REMARKS |