main content of page
Parts Diagrams
OWNER CENTER |

Welcome, Kawasaki owners. Access the information and tools you need to get the most out of your vehicle.
OWNER CENTER |
Welcome, Kawasaki owners. Access the information and tools you need to get the most out of your vehicle.
Parts Diagrams |
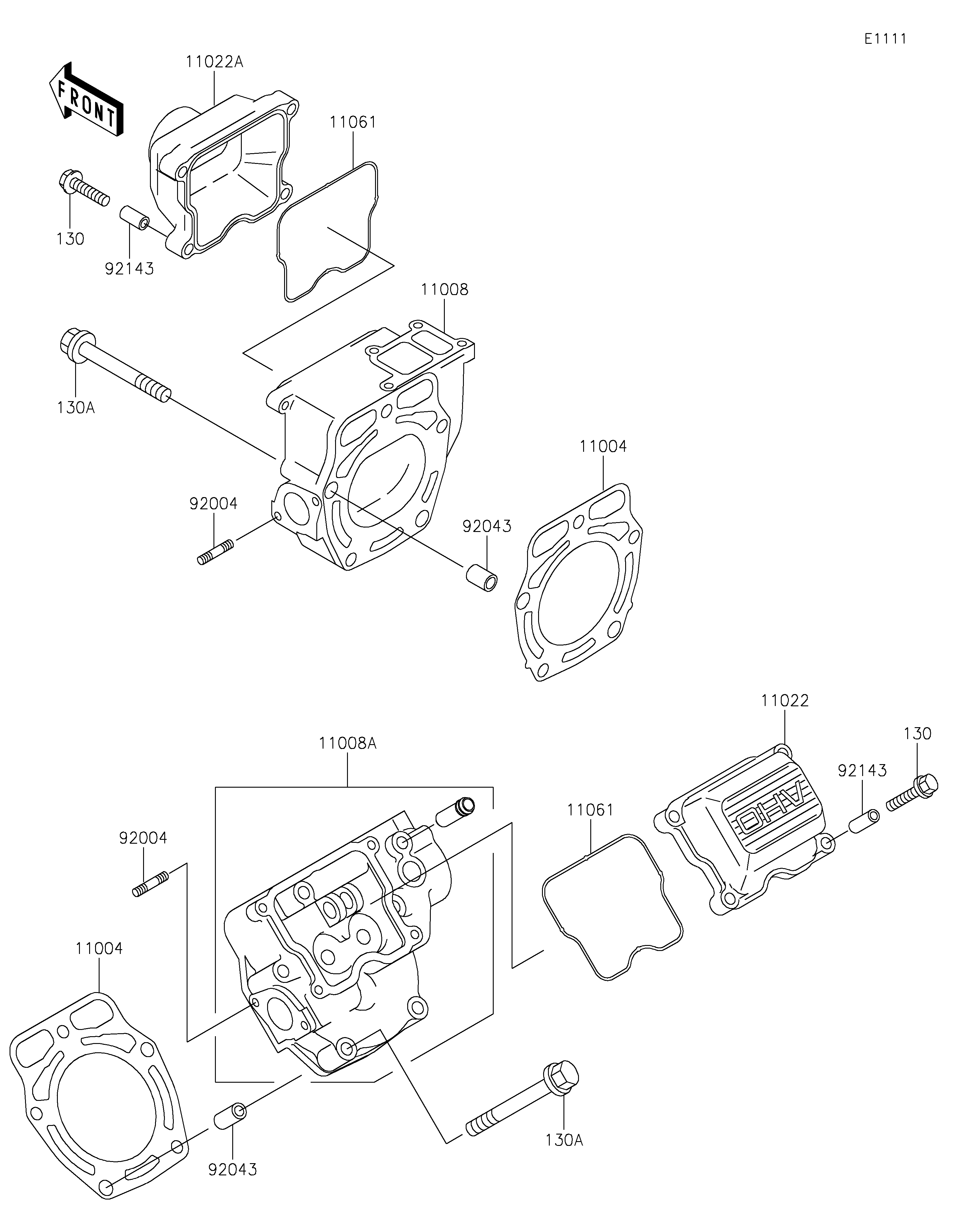
2025 MULE™ 4010 TRANS4x4® - Cylinder Head
11004
11004
11008
11008A
11022
11022A
11061
11061
92004
92004
92043
92043
92143
92143
130
130
130A
130A
ITEM NAME | REF # | PART NUMBER | QUANTITY | DESTINATION | REMARKS |
---|---|---|---|---|---|
GASKET-HEAD | 11004 | 11004-2107 | 2 | ||
HEAD-COMP-CYLINDER,#1 | 11008 | 11008-0820 | 1 | ||
HEAD-COMP-CYLINDER,#2 | 11008A | 11008-6046 | 1 | ||
CASE-ROCKER | 11022 | 11022-2056 | 1 | ||
CASE-ROCKER | 11022A | 11022-2068 | 1 | ||
GASKET,ROCKER CASE | 11061 | 11061-2182 | 2 | ||
STUD,6X20 | 92004 | 92004-2142 | 4 | ||
PIN,DOWEL,10X14 | 92043 | 92043-1037 | 4 | ||
COLLAR | 92143 | 92143-2010 | 8 | ||
BOLT-FLANGED,6X25 | 130 | 130BA0625 | 8 | ||
BOLT-FLANGED,8X65 | 130A | 130BA0865 | 10 |
GASKET-HEAD | |
REF # | 11004 |
---|---|
PART NUMBER | |
QUANTITY | 2 |
DESTINATION | |
REMARKS |
HEAD-COMP-CYLINDER,#1 | |
REF # | 11008 |
---|---|
PART NUMBER | |
QUANTITY | 1 |
DESTINATION | |
REMARKS |
HEAD-COMP-CYLINDER,#2 | |
REF # | 11008A |
---|---|
PART NUMBER | |
QUANTITY | 1 |
DESTINATION | |
REMARKS |
CASE-ROCKER | |
REF # | 11022 |
---|---|
PART NUMBER | |
QUANTITY | 1 |
DESTINATION | |
REMARKS |
CASE-ROCKER | |
REF # | 11022A |
---|---|
PART NUMBER | |
QUANTITY | 1 |
DESTINATION | |
REMARKS |
GASKET,ROCKER CASE | |
REF # | 11061 |
---|---|
PART NUMBER | |
QUANTITY | 2 |
DESTINATION | |
REMARKS |
STUD,6X20 | |
REF # | 92004 |
---|---|
PART NUMBER | |
QUANTITY | 4 |
DESTINATION | |
REMARKS |
PIN,DOWEL,10X14 | |
REF # | 92043 |
---|---|
PART NUMBER | |
QUANTITY | 4 |
DESTINATION | |
REMARKS |
COLLAR | |
REF # | 92143 |
---|---|
PART NUMBER | |
QUANTITY | 8 |
DESTINATION | |
REMARKS |
BOLT-FLANGED,6X25 | |
REF # | 130 |
---|---|
PART NUMBER | |
QUANTITY | 8 |
DESTINATION | |
REMARKS |
BOLT-FLANGED,8X65 | |
REF # | 130A |
---|---|
PART NUMBER | |
QUANTITY | 10 |
DESTINATION | |
REMARKS |