Skip to main content

Parts Diagrams

customer service agent speaking with a customer

Welcome, Kawasaki owners. Access the information and tools you need to get the most out of your vehicle.

Welcome, Kawasaki owners. Access the information and tools you need to get the most out of your vehicle.

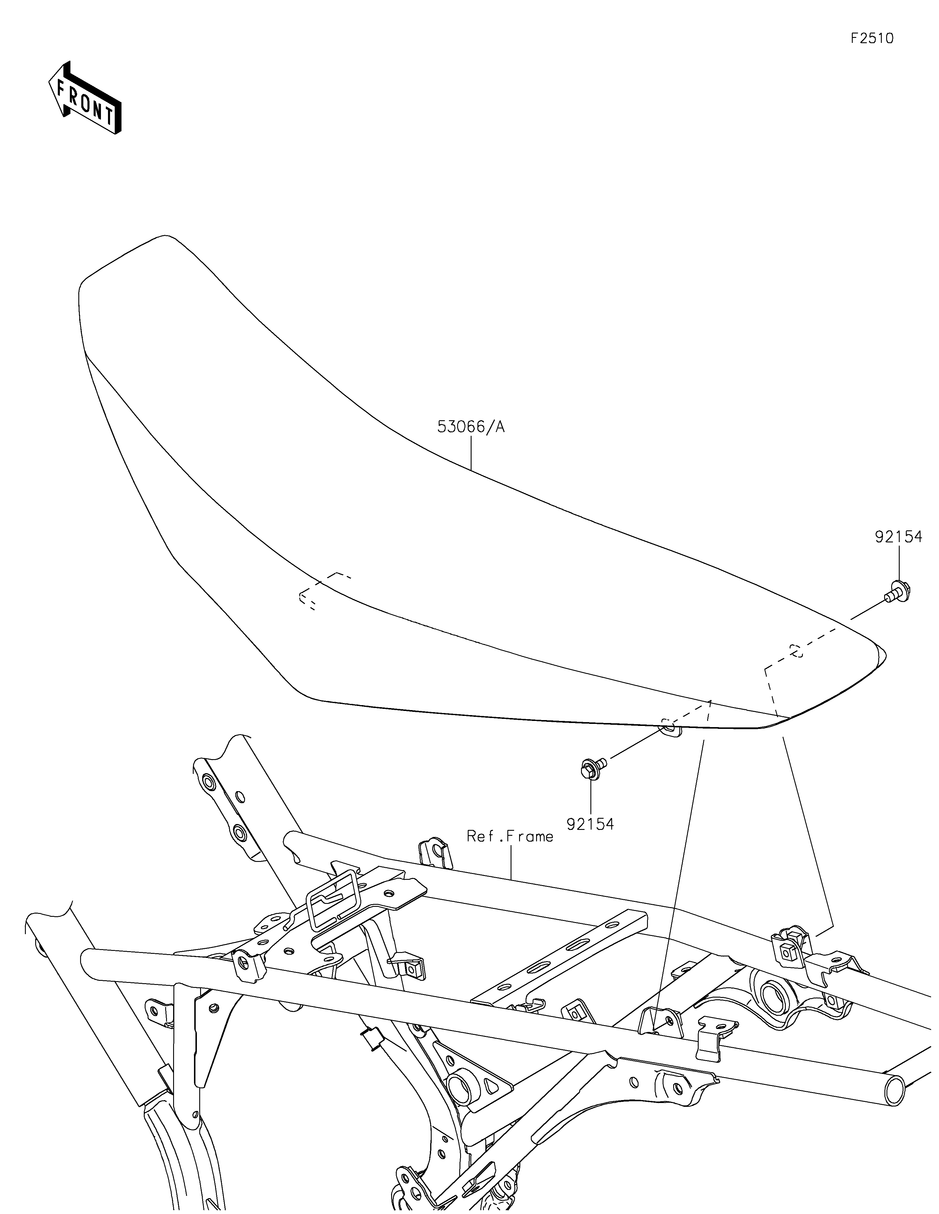
53066
53066A
92154
92154
Part Item Information
ITEM NAME REF # PART NUMBER QUANTITY DESTINATION REMARKS
SEAT-ASSY,N.L.GREEN+BLK 53066 53066-0905-336 1
SEAT-ASSY,BLACK+GRY 53066A 53066-0905-61U 1
BOLT,FLANGED,6X14 92154 92154-1231 2