Skip to main content

Parts Diagrams

customer service agent speaking with a customer

Welcome, Kawasaki owners. Access the information and tools you need to get the most out of your vehicle.

Welcome, Kawasaki owners. Access the information and tools you need to get the most out of your vehicle.

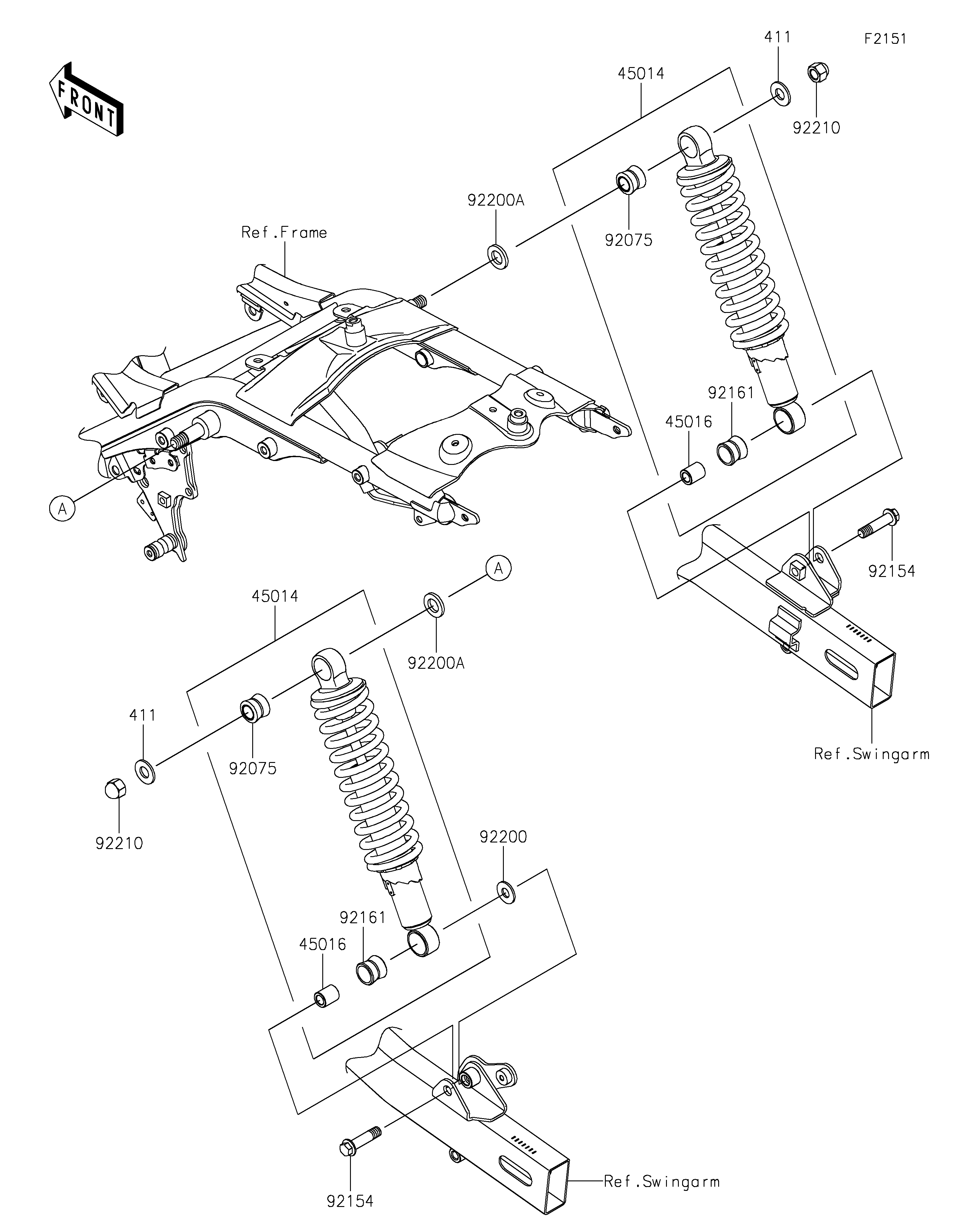
2024 ELIMINATOR® SE ABS - Suspension/Shock Absorber

45014
45014
45016
45016
92075
92075
92154
92154
92161
92161
92200
92200A
92200A
92210
92210
411
411
Part Item Information
ITEM NAME REF # PART NUMBER QUANTITY DESTINATION REMARKS
SHOCKABSORBER,BLACK 45014 45014-0765-10 2
COLLAR,SHOCKABSORBER 45016 45016-008 2
DAMPER,SHOCKABSORBER 92075 92075-1387 2
BOLT,FLANGED,10X41 92154 92154-7037 2
DAMPER,SHOCKABSORBER 92161 92161-2512 2
WASHER,10.5X24X2 92200 92200-0987 1
WASHER,15X26X3.2 92200A 92200-2557 2
NUT,CAP,12MM 92210 92210-1925 2
WASHER-PLAIN 411 411AB1200 2