Skip to main content

Parts Diagrams

customer service agent speaking with a customer

Welcome, Kawasaki owners. Access the information and tools you need to get the most out of your vehicle.

Welcome, Kawasaki owners. Access the information and tools you need to get the most out of your vehicle.

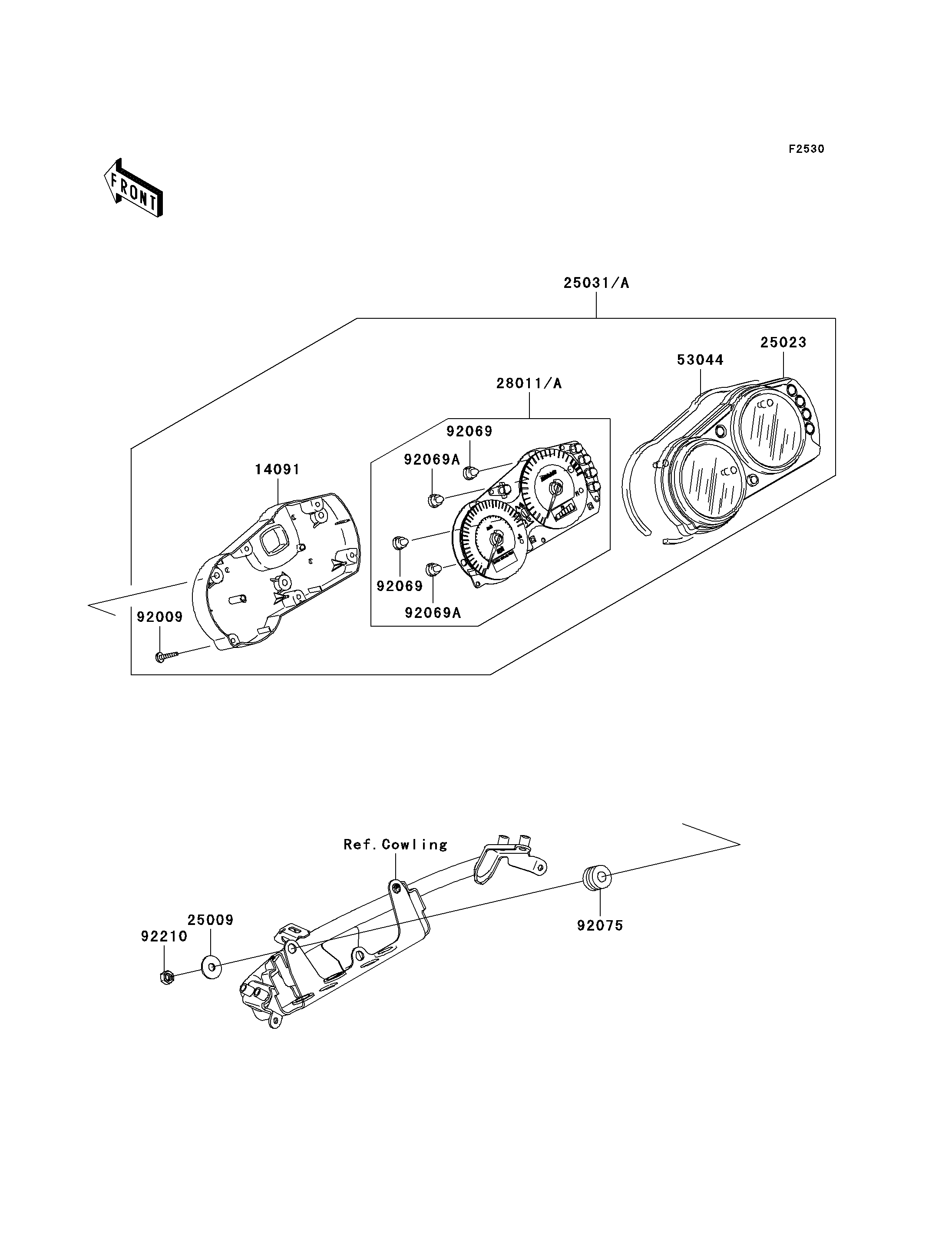
14091
25009
25023
53044
92009
92069
92069
92069A
92069A
92075
92210
Part Item Information
ITEM NAME REF # PART NUMBER QUANTITY DESTINATION REMARKS
COVER,METER HOUSING 14091 14091-0367 1
WASHER,5.2X16X1.2 25009 25009-004 3
COVER-METER CASE,UPP 25023 25023-0009 1
TRIM,METER 53044 53044-0010 1
SCREW,4X16,BLACK 92009 92009-1158 5
BULB,T3.4,12V1.1W 92069 92069-1110 6
BULB,T3,12V0.7W 92069A 92069-1113 2
DAMPER 92075 92075-1435 3
NUT,5MM 92210 92210-1124 3
METER-ASSY,MPH 25031 25031-0065 1 CAUS
METER-ASSY,KPH 25031A 25031-0071 1 CN
METER,SPEED&TACHO,MPH 28011 28011-0028 1 CAUS
METER,SPEED&TACHO,KPH 28011A 28011-0031 1 CN