main content of page
Parts Diagrams
OWNER CENTER |

Welcome, Kawasaki owners. Access the information and tools you need to get the most out of your vehicle.
OWNER CENTER |
Welcome, Kawasaki owners. Access the information and tools you need to get the most out of your vehicle.
Parts Diagrams |
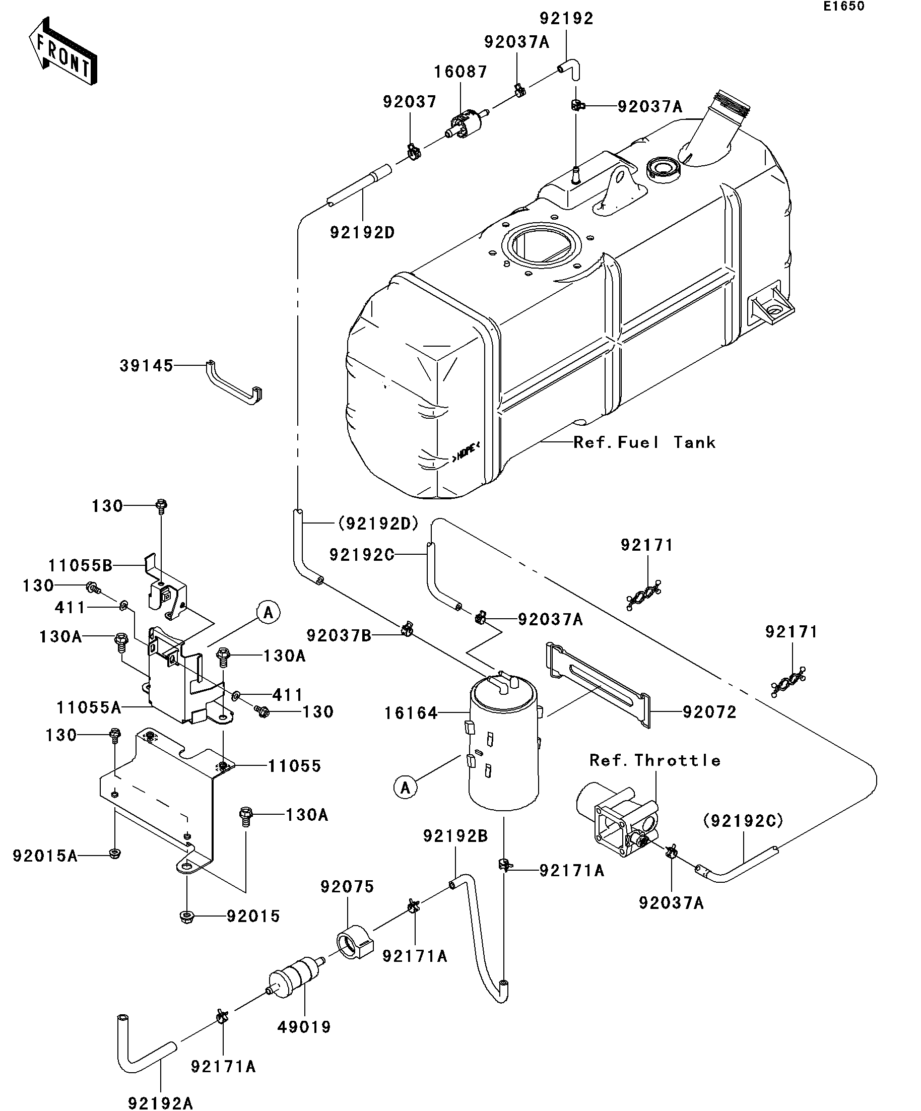
2009 Mule 4010 Trans4x4 - Fuel Evaporative System(CA)
11055
11055
11055A
11055A
11055B
11055B
16087
16087
16164
16164
39145
39145
49019
49019
92015
92015
92015A
92015A
92037
92037
92037A
92037A
92037A
92037A
92037A
92037A
92037A
92037A
92037B
92037B
92072
92072
92075
92075
92171
92171
92171
92171
92171A
92171A
92171A
92171A
92171A
92171A
92192
92192
92192A
92192A
92192B
92192B
92192C
92192C
92192D
92192D
130
130
130
130
130
130
130
130
130A
130A
130A
130A
130A
130A
411
411
411
411
ITEM NAME | REF # | PART NUMBER | QUANTITY | DESTINATION | REMARKS |
---|---|---|---|---|---|
BRACKET,LWR | 11055 | 11055-0262 | 1 | CA | |
BRACKET,UPP | 11055A | 11055-0263 | 1 | CA | |
BRACKET,UPP | 11055B | 11055-1126 | 1 | CA | |
VALVE-CHECK | 16087 | 16087-0002 | 1 | CA | |
CANISTER | 16164 | 16164-0007 | 1 | CA | |
TRIM-SEAL,L=110 | 39145 | 39145-0034 | 1 | CA | |
FILTER-FUEL | 49019 | 49019-1055 | 1 | CA | |
NUT,LOCK,FLANGED,8MM | 92015 | 92015-1397 | 1 | CA | |
NUT,LOCK,FLANGED,6MM | 92015A | 92015-1603 | 2 | CA | |
CLAMP,HOSE CLIP | 92037 | 92037-1181 | 1 | CA | |
CLAMP,TUBE | 92037A | 92037-1461 | 4 | CA | |
CLAMP,TUBE | 92037B | 92037-1505 | 1 | CA | |
BAND,L=168 | 92072 | 92072-1306 | 1 | CA | |
DAMPER,FUEL FILTER | 92075 | 92075-1853 | 1 | CA | |
CLAMP | 92171 | 92171-0476 | 2 | CA | |
CLAMP | 92171A | 92171-0515 | 3 | CA | |
TUBE,FUEL TANK-CHECK VALVE | 92192 | 92192-0067 | 1 | CA | |
TUBE,FILTER-AIR | 92192A | 92192-0609 | 1 | CA | |
TUBE,CANISTER-FUEL FILTER | 92192B | 92192-0620 | 1 | CA | |
TUBE,CANISTER-DUCT | 92192C | 92192-0714 | 1 | CA | |
TUBE,VALVE-CANISTER | 92192D | 92192-0734 | 1 | CA | |
BOLT-FLANGED,6X12 | 130 | 130BB0612 | 5 | CA | |
BOLT-FLANGED,8X16 | 130A | 130BB0816 | 3 | CA | |
WASHER-PLAIN,6.5X13X1 | 411 | 411AB0600 | 2 | CA |
BRACKET,LWR | |
REF # | 11055 |
---|---|
PART NUMBER | |
QUANTITY | 1 |
DESTINATION | CA |
REMARKS |
BRACKET,UPP | |
REF # | 11055A |
---|---|
PART NUMBER | |
QUANTITY | 1 |
DESTINATION | CA |
REMARKS |
BRACKET,UPP | |
REF # | 11055B |
---|---|
PART NUMBER | |
QUANTITY | 1 |
DESTINATION | CA |
REMARKS |
VALVE-CHECK | |
REF # | 16087 |
---|---|
PART NUMBER | |
QUANTITY | 1 |
DESTINATION | CA |
REMARKS |
CANISTER | |
REF # | 16164 |
---|---|
PART NUMBER | |
QUANTITY | 1 |
DESTINATION | CA |
REMARKS |
TRIM-SEAL,L=110 | |
REF # | 39145 |
---|---|
PART NUMBER | |
QUANTITY | 1 |
DESTINATION | CA |
REMARKS |
FILTER-FUEL | |
REF # | 49019 |
---|---|
PART NUMBER | |
QUANTITY | 1 |
DESTINATION | CA |
REMARKS |
NUT,LOCK,FLANGED,8MM | |
REF # | 92015 |
---|---|
PART NUMBER | |
QUANTITY | 1 |
DESTINATION | CA |
REMARKS |
NUT,LOCK,FLANGED,6MM | |
REF # | 92015A |
---|---|
PART NUMBER | |
QUANTITY | 2 |
DESTINATION | CA |
REMARKS |
CLAMP,HOSE CLIP | |
REF # | 92037 |
---|---|
PART NUMBER | |
QUANTITY | 1 |
DESTINATION | CA |
REMARKS |
CLAMP,TUBE | |
REF # | 92037A |
---|---|
PART NUMBER | |
QUANTITY | 4 |
DESTINATION | CA |
REMARKS |
CLAMP,TUBE | |
REF # | 92037B |
---|---|
PART NUMBER | |
QUANTITY | 1 |
DESTINATION | CA |
REMARKS |
BAND,L=168 | |
REF # | 92072 |
---|---|
PART NUMBER | |
QUANTITY | 1 |
DESTINATION | CA |
REMARKS |
DAMPER,FUEL FILTER | |
REF # | 92075 |
---|---|
PART NUMBER | |
QUANTITY | 1 |
DESTINATION | CA |
REMARKS |
CLAMP | |
REF # | 92171 |
---|---|
PART NUMBER | |
QUANTITY | 2 |
DESTINATION | CA |
REMARKS |
CLAMP | |
REF # | 92171A |
---|---|
PART NUMBER | |
QUANTITY | 3 |
DESTINATION | CA |
REMARKS |
TUBE,FUEL TANK-CHECK VALVE | |
REF # | 92192 |
---|---|
PART NUMBER | |
QUANTITY | 1 |
DESTINATION | CA |
REMARKS |
TUBE,FILTER-AIR | |
REF # | 92192A |
---|---|
PART NUMBER | |
QUANTITY | 1 |
DESTINATION | CA |
REMARKS |
TUBE,CANISTER-FUEL FILTER | |
REF # | 92192B |
---|---|
PART NUMBER | |
QUANTITY | 1 |
DESTINATION | CA |
REMARKS |
TUBE,CANISTER-DUCT | |
REF # | 92192C |
---|---|
PART NUMBER | |
QUANTITY | 1 |
DESTINATION | CA |
REMARKS |
TUBE,VALVE-CANISTER | |
REF # | 92192D |
---|---|
PART NUMBER | |
QUANTITY | 1 |
DESTINATION | CA |
REMARKS |
BOLT-FLANGED,6X12 | |
REF # | 130 |
---|---|
PART NUMBER | |
QUANTITY | 5 |
DESTINATION | CA |
REMARKS |
BOLT-FLANGED,8X16 | |
REF # | 130A |
---|---|
PART NUMBER | |
QUANTITY | 3 |
DESTINATION | CA |
REMARKS |
WASHER-PLAIN,6.5X13X1 | |
REF # | 411 |
---|---|
PART NUMBER | |
QUANTITY | 2 |
DESTINATION | CA |
REMARKS |