main content of page
Parts Diagrams
OWNER CENTER |

Welcome, Kawasaki owners. Access the information and tools you need to get the most out of your vehicle.
OWNER CENTER |
Welcome, Kawasaki owners. Access the information and tools you need to get the most out of your vehicle.
Parts Diagrams |
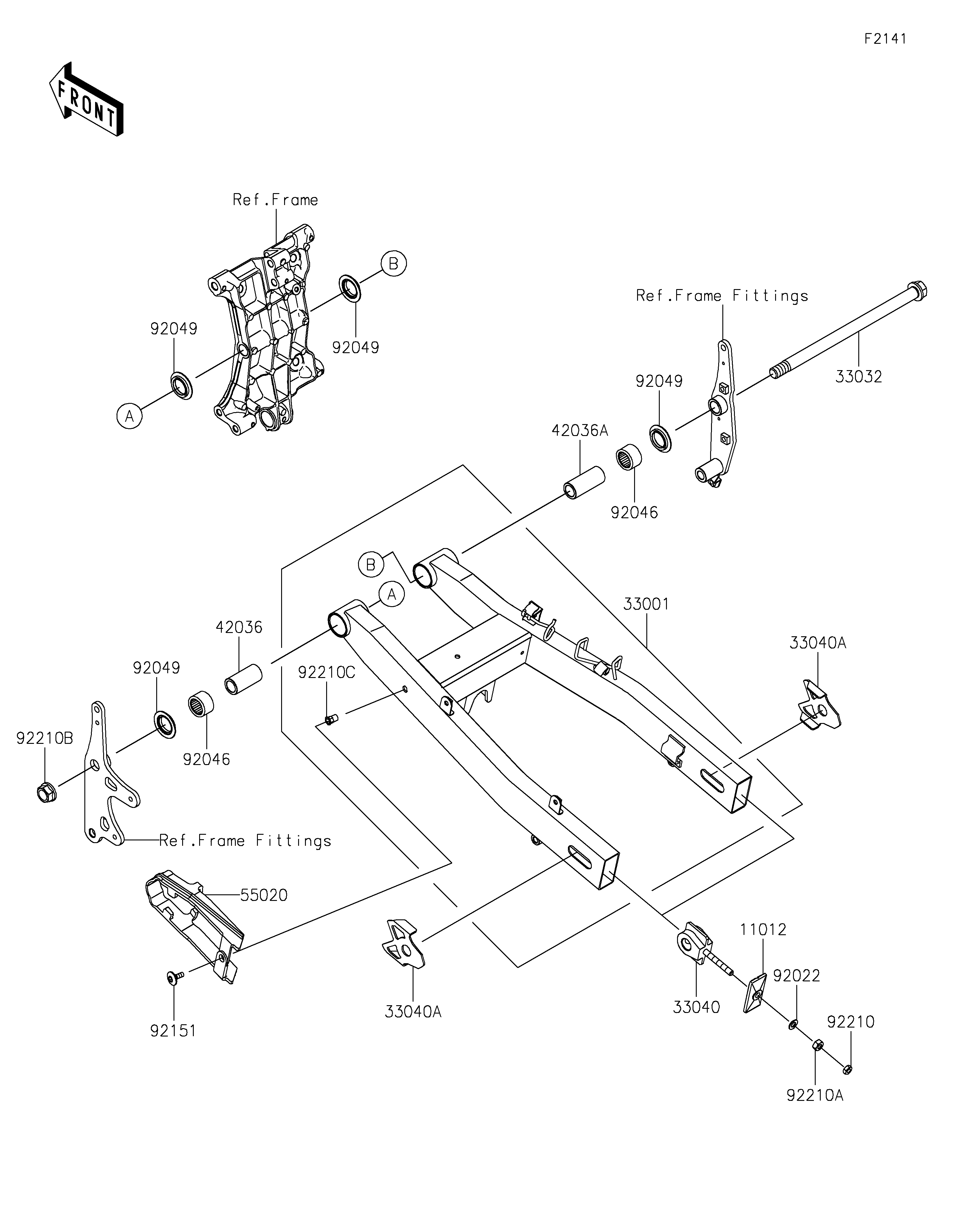
2024 Ninja 400 KRT Edition ABS - Swingarm
11012
33001
33032
33040
33040A
33040A
42036
42036A
55020
92022
92046
92046
92049
92049
92049
92049
92151
92210
92210A
92210B
92210C
ITEM NAME | REF # | PART NUMBER | QUANTITY | DESTINATION | REMARKS |
---|---|---|---|---|---|
CAP,CHAIN ADJUSTER,F.S.BLACK | 11012 | 11012-1871-18R | 2 | ||
ARM-COMP-SWING,F.S.BLACK | 33001 | 33001-0746-18R | 1 | ||
SHAFT-SWING ARM,17X285 | 33032 | 33032-0056 | 1 | ||
ADJUSTER-CHAIN | 33040 | 33040-0089 | 2 | ||
ADJUSTER-CHAIN,F.S.BLACK | 33040A | 33040-0090-18R | 2 | ||
SLEEVE | 42036 | 42036-0805 | 1 | ||
SLEEVE | 42036A | 42036-0806 | 1 | ||
GUARD,CHAIN | 55020 | 55020-2199 | 1 | ||
WASHER,8.5X16X1.2 | 92022 | 92022-1582 | 2 | ||
BEARING-NEEDLE,BM2520 | 92046 | 92046-1228 | 2 | ||
SEAL-OIL,MF025N1 | 92049 | 92049-1426 | 4 | ||
BOLT,SOCKET,6X18 | 92151 | 92151-1149 | 1 | ||
NUT,8MM,5X12 | 92210 | 92210-1588 | 2 | ||
NUT,8MM,6.5X14 | 92210A | 92210-1589 | 2 | ||
NUT,16MM | 92210B | 92210-1590 | 1 | ||
NUT,POP,6MM,L=15 | 92210C | 92210-1897 | 1 |
CAP,CHAIN ADJUSTER,F.S.BLACK | |
REF # | 11012 |
---|---|
PART NUMBER | |
QUANTITY | 2 |
DESTINATION | |
REMARKS |
ARM-COMP-SWING,F.S.BLACK | |
REF # | 33001 |
---|---|
PART NUMBER | |
QUANTITY | 1 |
DESTINATION | |
REMARKS |
SHAFT-SWING ARM,17X285 | |
REF # | 33032 |
---|---|
PART NUMBER | |
QUANTITY | 1 |
DESTINATION | |
REMARKS |
ADJUSTER-CHAIN | |
REF # | 33040 |
---|---|
PART NUMBER | |
QUANTITY | 2 |
DESTINATION | |
REMARKS |
ADJUSTER-CHAIN,F.S.BLACK | |
REF # | 33040A |
---|---|
PART NUMBER | |
QUANTITY | 2 |
DESTINATION | |
REMARKS |
SLEEVE | |
REF # | 42036 |
---|---|
PART NUMBER | |
QUANTITY | 1 |
DESTINATION | |
REMARKS |
SLEEVE | |
REF # | 42036A |
---|---|
PART NUMBER | |
QUANTITY | 1 |
DESTINATION | |
REMARKS |
GUARD,CHAIN | |
REF # | 55020 |
---|---|
PART NUMBER | |
QUANTITY | 1 |
DESTINATION | |
REMARKS |
WASHER,8.5X16X1.2 | |
REF # | 92022 |
---|---|
PART NUMBER | |
QUANTITY | 2 |
DESTINATION | |
REMARKS |
BEARING-NEEDLE,BM2520 | |
REF # | 92046 |
---|---|
PART NUMBER | |
QUANTITY | 2 |
DESTINATION | |
REMARKS |
SEAL-OIL,MF025N1 | |
REF # | 92049 |
---|---|
PART NUMBER | |
QUANTITY | 4 |
DESTINATION | |
REMARKS |
BOLT,SOCKET,6X18 | |
REF # | 92151 |
---|---|
PART NUMBER | |
QUANTITY | 1 |
DESTINATION | |
REMARKS |
NUT,8MM,5X12 | |
REF # | 92210 |
---|---|
PART NUMBER | |
QUANTITY | 2 |
DESTINATION | |
REMARKS |
NUT,8MM,6.5X14 | |
REF # | 92210A |
---|---|
PART NUMBER | |
QUANTITY | 2 |
DESTINATION | |
REMARKS |
NUT,16MM | |
REF # | 92210B |
---|---|
PART NUMBER | |
QUANTITY | 1 |
DESTINATION | |
REMARKS |
NUT,POP,6MM,L=15 | |
REF # | 92210C |
---|---|
PART NUMBER | |
QUANTITY | 1 |
DESTINATION | |
REMARKS |