Skip to main content

Parts Diagrams

customer service agent speaking with a customer

Welcome, Kawasaki owners. Access the information and tools you need to get the most out of your vehicle.

Welcome, Kawasaki owners. Access the information and tools you need to get the most out of your vehicle.

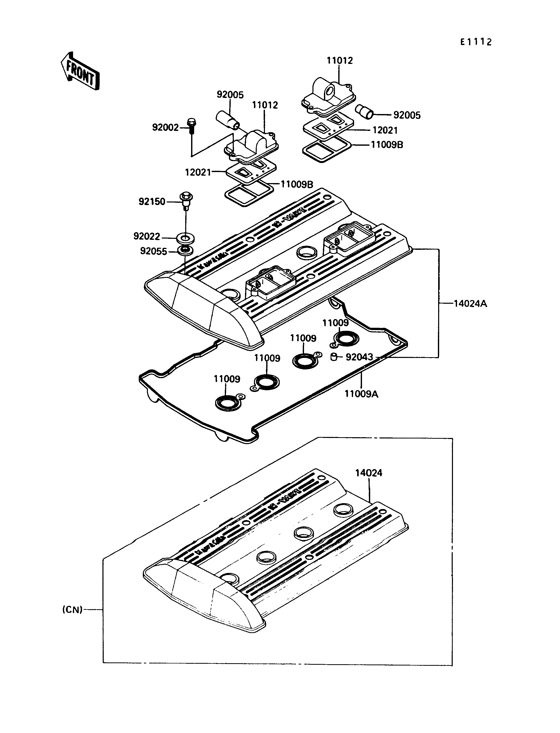
Part Item Information
ITEM NAME REF # PART NUMBER QUANTITY DESTINATION REMARKS
GASKET 11009 11009-1377 4
GASKET,CYLINDER HEAD COVER 11009A 11009-1378 1
GASKET,REED VALVE 11009B 11009-1379 2 CAUS
CAP,REED VALVE 11012 11012-1481 2 CAUS
VALVE-ASSY-REED 12021 12021-1053 2 CAUS
COVER,CYLINDER HEAD 14024 14024-1082 1 CN
COVER,CYLINDER HEAD 14024A 14024-1138 1 CAUS
BOLT,6X22 92002 92002-1068 4 CAUS
FITTING,REED VALVE 92005 92005-1006 2 CAUS
WASHER,HEAD COVER BOLT 92022 92022-1487 6
PIN,DOWEL,8X10 92043 92043-1302 4 CAUS
RING-O,HEAD COVER BOLT 92055 92055-1225 6
BOLT,HEAD COVER 92150 92150-1447 6