main content of page
Parts Diagrams
| OWNER CENTER | 
 
        Welcome, Kawasaki owners. Access the information and tools you need to get the most out of your vehicle.
| OWNER CENTER | 
Welcome, Kawasaki owners. Access the information and tools you need to get the most out of your vehicle.
| Parts Diagrams | 
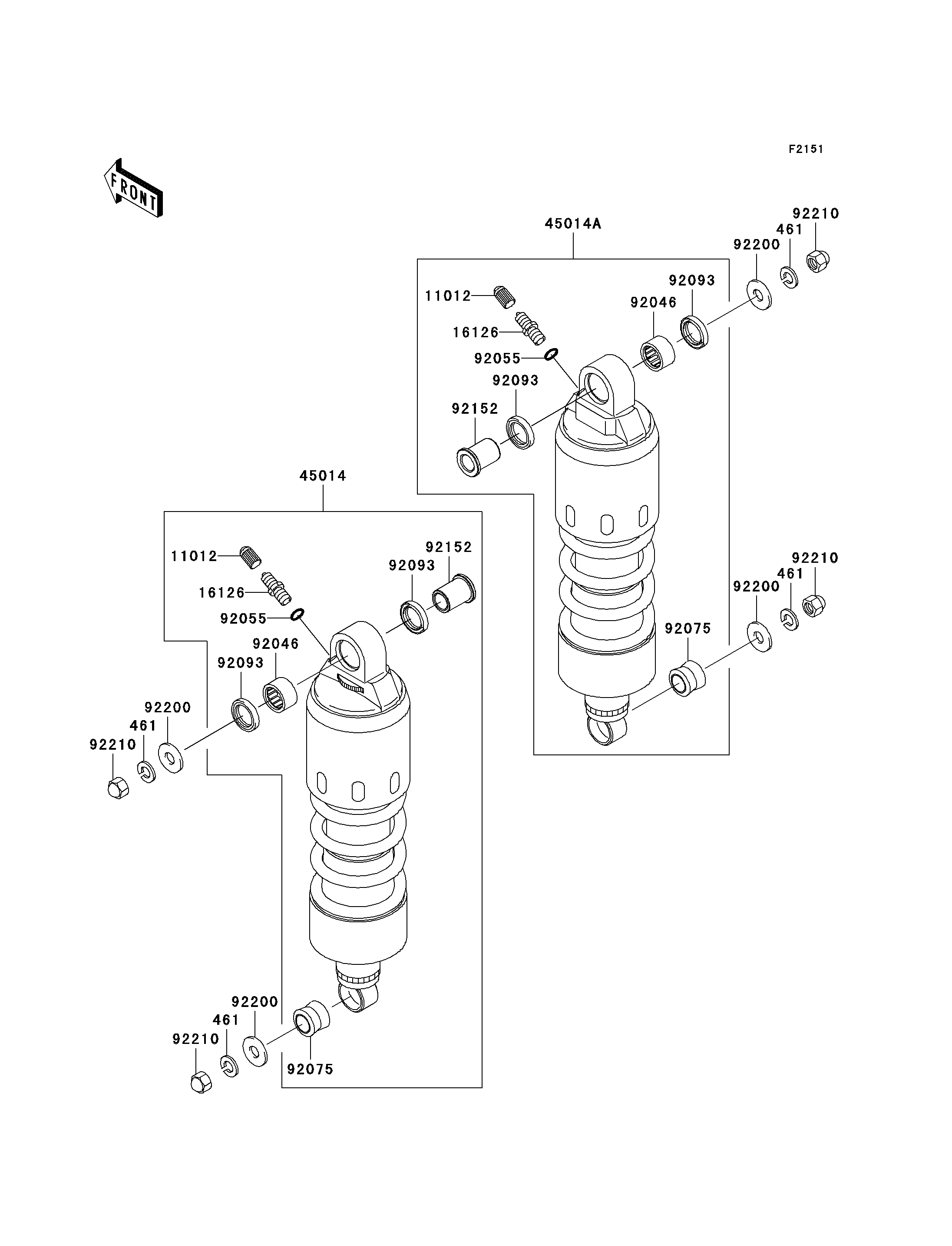
2006 Vulcan 1600 Mean Streak - Suspension/Shock Absorber
                                            461
                                        
                                    
                                            461
                                        
                                    
                                            461
                                        
                                    
                                            461
                                        
                                    
                                            11012
                                        
                                    
                                            11012
                                        
                                    
                                            16126
                                        
                                    
                                            16126
                                        
                                    
                                            45014
                                        
                                    
                                            45014A
                                        
                                    
                                            92046
                                        
                                    
                                            92046
                                        
                                    
                                            92055
                                        
                                    
                                            92055
                                        
                                    
                                            92075
                                        
                                    
                                            92075
                                        
                                    
                                            92093
                                        
                                    
                                            92093
                                        
                                    
                                            92093
                                        
                                    
                                            92093
                                        
                                    
                                            92152
                                        
                                    
                                            92152
                                        
                                    
                                            92200
                                        
                                    
                                            92200
                                        
                                    
                                            92200
                                        
                                    
                                            92200
                                        
                                    
                                            92210
                                        
                                    
                                            92210
                                        
                                    
                                            92210
                                        
                                    
                                            92210
                                        
                                    | ITEM NAME | REF # | PART NUMBER | QUANTITY | DESTINATION | REMARKS | 
|---|---|---|---|---|---|
| WASHER-SPRING,10MM | 461 | 461S1000 | 4 | ||
| CAP | 11012 | 11012-1283 | 2 | ||
| VALVE,AIR | 16126 | 16126-1105 | 2 | ||
| SHOCKABSORBER,LH | 45014 | 45014-0029 | 1 | ||
| SHOCKABSORBER,RH | 45014A | 45014-0030 | 1 | ||
| BEARING-NEEDLE | 92046 | 92046-1296 | 2 | ||
| RING-O | 92055 | 92055-1130 | 2 | ||
| DAMPER,SHOCKABSORBER | 92075 | 92075-1387 | 2 | ||
| SEAL | 92093 | 92093-1552 | 4 | ||
| COLLAR | 92152 | 92152-1336 | 2 | ||
| WASHER,10.5X26X2.5 | 92200 | 92200-1565 | 4 | ||
| NUT,CAP,10MM | 92210 | 92210-1288 | 4 | 
| WASHER-SPRING,10MM | |
| REF # | 461 | 
|---|---|
| PART NUMBER | |
| QUANTITY | 4 | 
| DESTINATION | |
| REMARKS | |
| CAP | |
| REF # | 11012 | 
|---|---|
| PART NUMBER | |
| QUANTITY | 2 | 
| DESTINATION | |
| REMARKS | |
| VALVE,AIR | |
| REF # | 16126 | 
|---|---|
| PART NUMBER | |
| QUANTITY | 2 | 
| DESTINATION | |
| REMARKS | |
| SHOCKABSORBER,LH | |
| REF # | 45014 | 
|---|---|
| PART NUMBER | |
| QUANTITY | 1 | 
| DESTINATION | |
| REMARKS | |
| SHOCKABSORBER,RH | |
| REF # | 45014A | 
|---|---|
| PART NUMBER | |
| QUANTITY | 1 | 
| DESTINATION | |
| REMARKS | |
| BEARING-NEEDLE | |
| REF # | 92046 | 
|---|---|
| PART NUMBER | |
| QUANTITY | 2 | 
| DESTINATION | |
| REMARKS | |
| RING-O | |
| REF # | 92055 | 
|---|---|
| PART NUMBER | |
| QUANTITY | 2 | 
| DESTINATION | |
| REMARKS | |
| DAMPER,SHOCKABSORBER | |
| REF # | 92075 | 
|---|---|
| PART NUMBER | |
| QUANTITY | 2 | 
| DESTINATION | |
| REMARKS | |
| SEAL | |
| REF # | 92093 | 
|---|---|
| PART NUMBER | |
| QUANTITY | 4 | 
| DESTINATION | |
| REMARKS | |
| COLLAR | |
| REF # | 92152 | 
|---|---|
| PART NUMBER | |
| QUANTITY | 2 | 
| DESTINATION | |
| REMARKS | |
| WASHER,10.5X26X2.5 | |
| REF # | 92200 | 
|---|---|
| PART NUMBER | |
| QUANTITY | 4 | 
| DESTINATION | |
| REMARKS | |
| NUT,CAP,10MM | |
| REF # | 92210 | 
|---|---|
| PART NUMBER | |
| QUANTITY | 4 | 
| DESTINATION | |
| REMARKS | |
 
                             
                             
                             
                             
                             
                            