Skip to main content

Parts Diagrams

customer service agent speaking with a customer

Welcome, Kawasaki owners. Access the information and tools you need to get the most out of your vehicle.

Welcome, Kawasaki owners. Access the information and tools you need to get the most out of your vehicle.

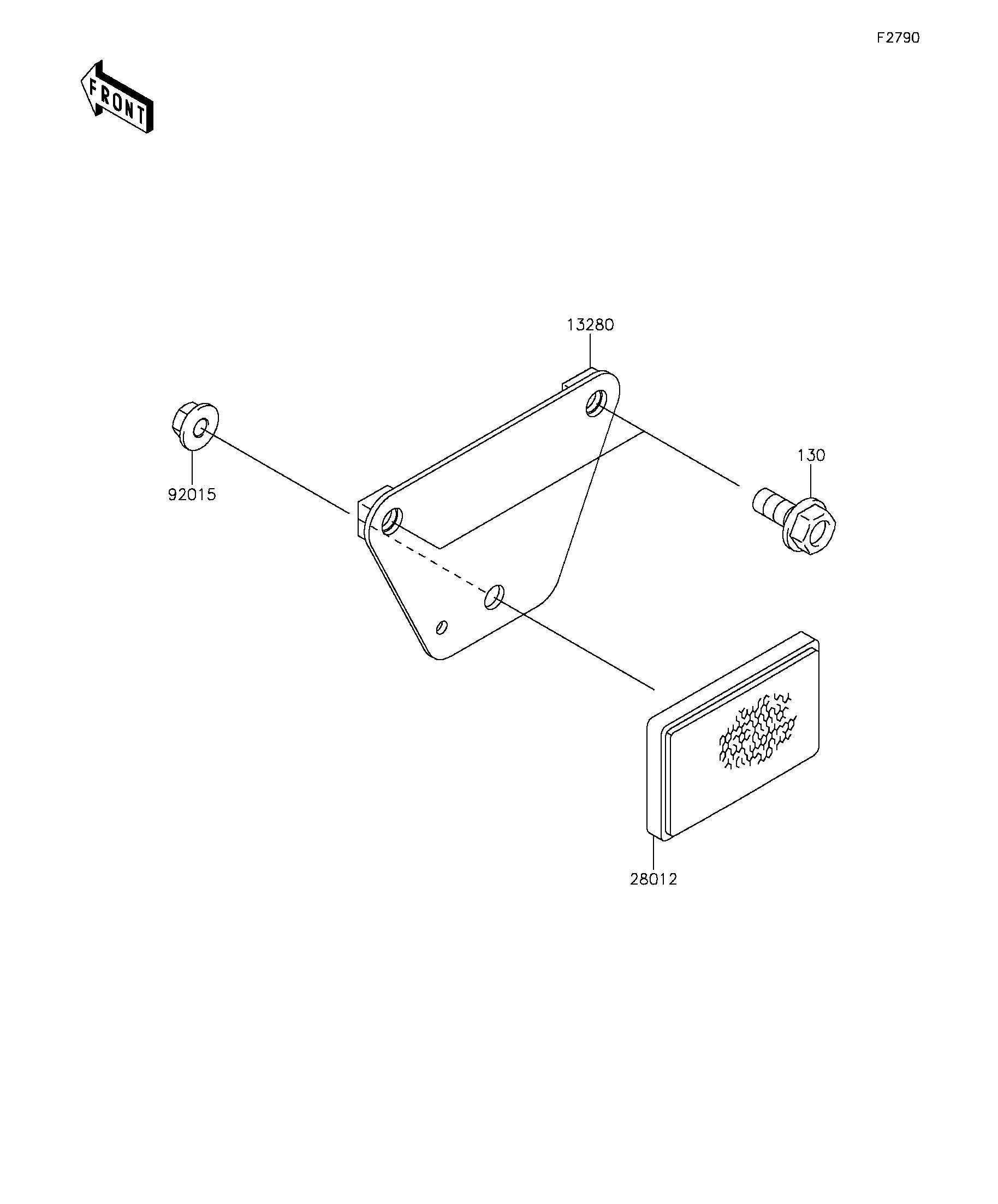
13280
28012
92015
130
Part Item Information
ITEM NAME REF # PART NUMBER QUANTITY DESTINATION REMARKS
HOLDER,REFLECTOR 13280 13280-0146 1
REFLECTOR-REFLEX 28012 28012-1088 1
NUT,FLANGED,5MM 92015 92015-1259 1
BOLT-FLANGED,6X14 130 130BA0614 2