Skip to main content

Parts Diagrams

customer service agent speaking with a customer

Welcome, Kawasaki owners. Access the information and tools you need to get the most out of your vehicle.

Welcome, Kawasaki owners. Access the information and tools you need to get the most out of your vehicle.

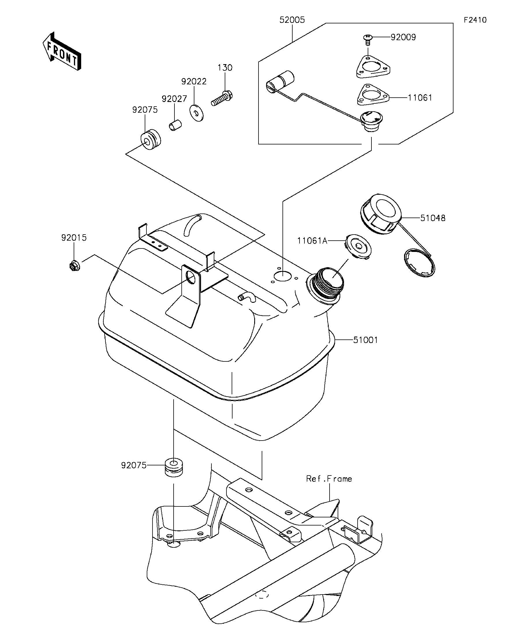
11061
11061A
51001
51048
52005
92009
92015
92022
92027
92075
92075
130
Part Item Information
ITEM NAME REF # PART NUMBER QUANTITY DESTINATION REMARKS
GASKET,FUEL GAUGE 11061 11061-0120 1
GASKET,FUEL TANK CAP 11061A 11061-7508 1
TANK-COMP-FUEL 51001 51001-0341 1
CAP-ASSY-TANK,FUEL 51048 51048-0026 1
GAUGE,FUEL 52005 52005-0730 1
SCREW,6X14 92009 92009-1541 3
NUT,LOCK,FLANGED,8MM 92015 92015-1397 1
WASHER,9X28X2.3 92022 92022-1632 1
COLLAR,8.8X12X15.5 92027 92027-1081 1
DAMPER 92075 92075-1736 3
BOLT-FLANGED,8X30 130 130AA0830 1