Skip to main content

Parts Diagrams

customer service agent speaking with a customer

Welcome, Kawasaki owners. Access the information and tools you need to get the most out of your vehicle.

Welcome, Kawasaki owners. Access the information and tools you need to get the most out of your vehicle.

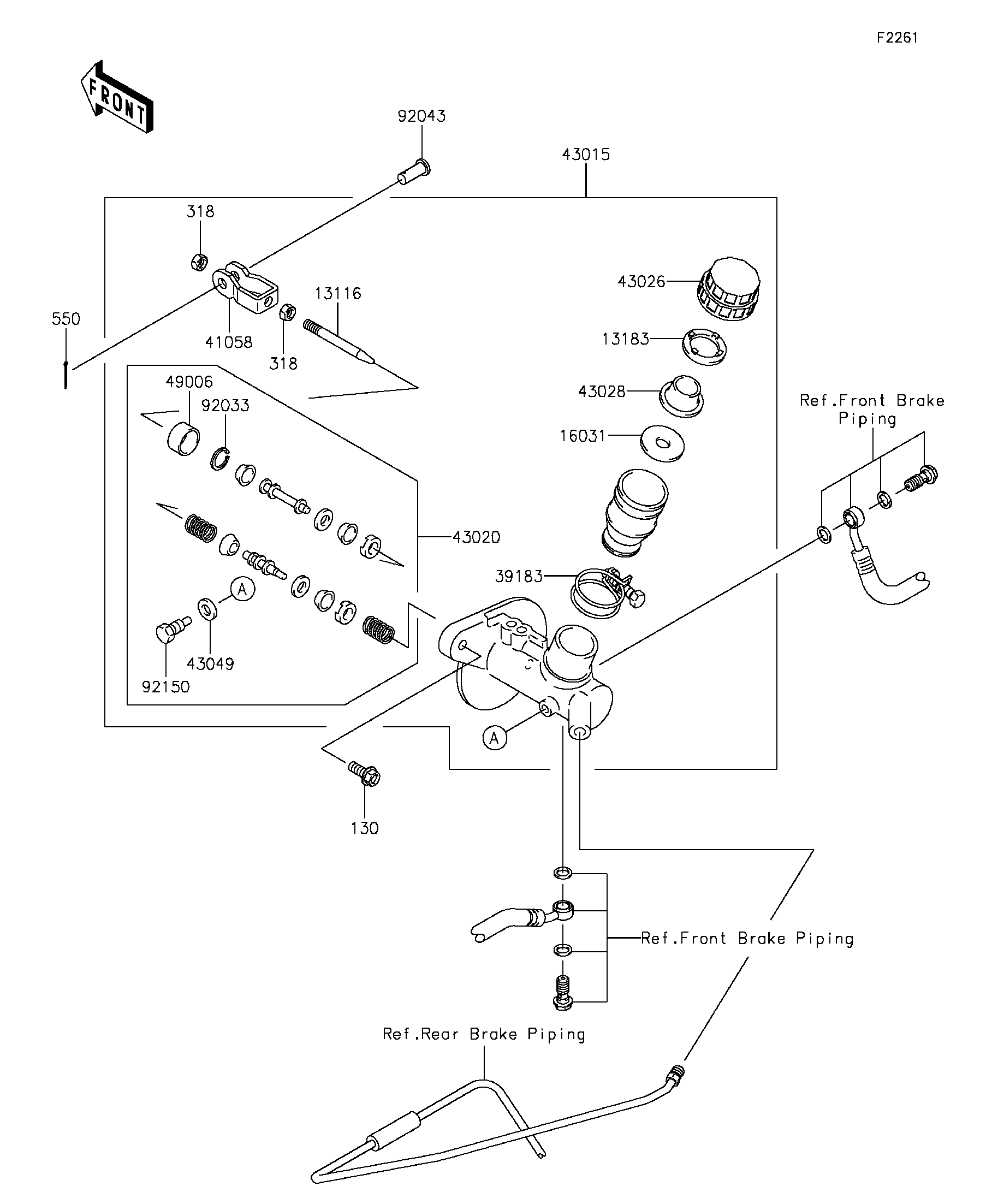
13116
13183
16031
39183
41058
43015
43020
43026
43028
43049
49006
92033
92043
92150
130
318
318
550
Part Item Information
ITEM NAME REF # PART NUMBER QUANTITY DESTINATION REMARKS
ROD-PUSH 13116 13116-1134 1
PLATE 13183 13183-1306 1
FLOAT 16031 16031-1069 1
BAND-ASSY 39183 39183-1055 1
RODEND-BRAKE 41058 41058-1057 1
CYLINDER-ASSY-MASTER 43015 43015-1683 1
PISTON-COMP-BRAKE 43020 43020-1124 1
CAP-BRAKE 43026 43026-1067 1
DIAPHRAGM 43028 43028-1078 1
PACKING 43049 43049-1065 1
BOOT 49006 49006-1245 1
RING-SNAP 92033 92033-1255 1
PIN 92043 92043-1039 1
BOLT,STOP 92150 92150-1165 1
BOLT-FLANGED,8X20 130 130AA0820 2
NUT-HEX-SMALL,8MM 318 318BA0800 2
PIN-COTTER,2.5X18 550 550AA2518 1