Skip to main content

Parts Diagrams

customer service agent speaking with a customer

Welcome, Kawasaki owners. Access the information and tools you need to get the most out of your vehicle.

Welcome, Kawasaki owners. Access the information and tools you need to get the most out of your vehicle.

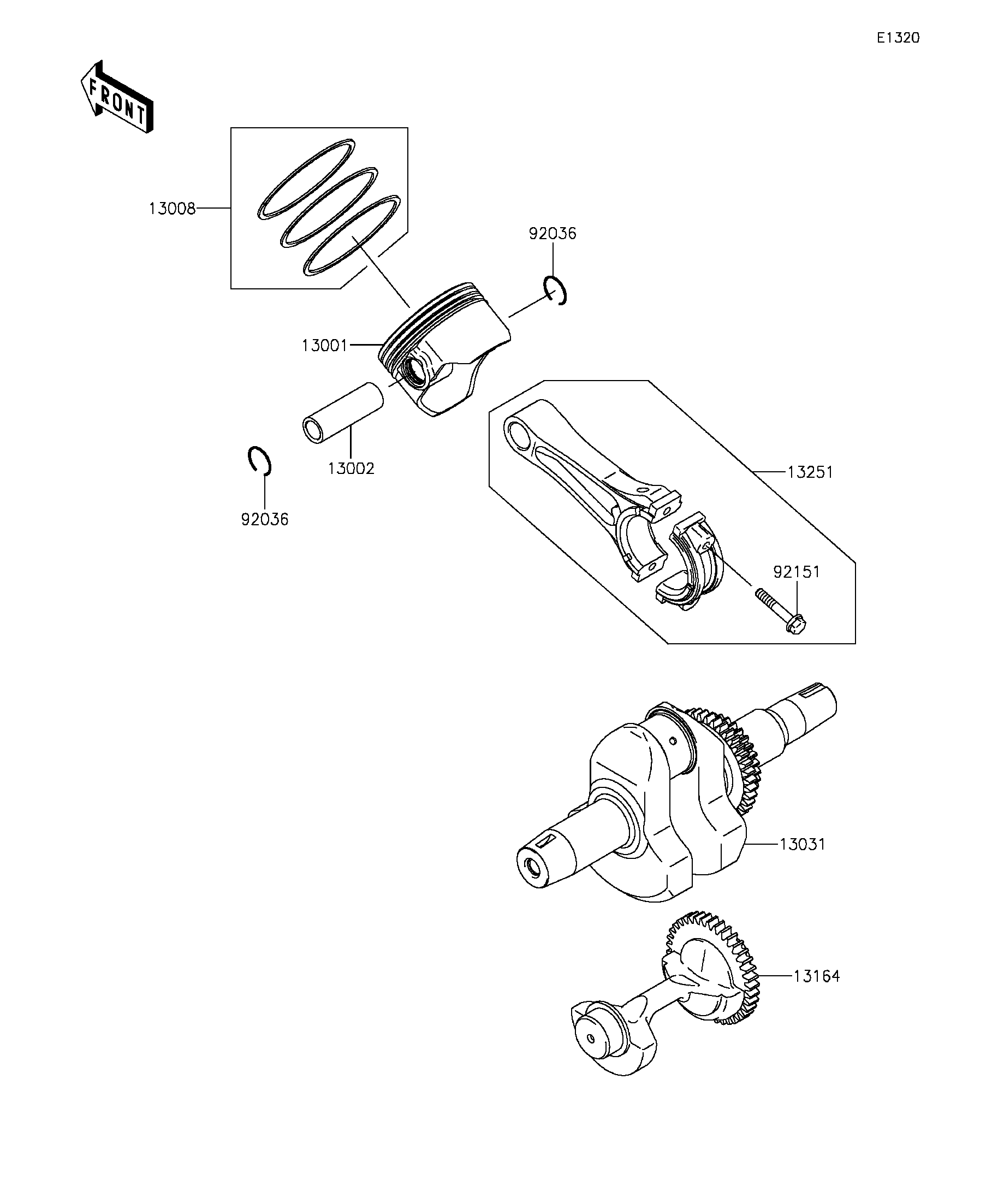
13001
13002
13008
13031
13164
13251
92036
92036
92151
Part Item Information
ITEM NAME REF # PART NUMBER QUANTITY DESTINATION REMARKS
PISTON-ENGINE 13001 13001-7013 1
PIN-PISTON 13002 13002-7003 1
RING-SET-PISTON 13008 13008-6063 1
CRANKSHAFT-COMP 13031 13031-0760 1
BALANCER-COMP 13164 13164-0003 1
ROD-ASSY-CONNECTING 13251 13251-0049 1
RING-SNAP,PISTON PIN 92036 92036-008 2
BOLT,6X35 92151 92151-7017 2