Skip to main content

Parts Diagrams

customer service agent speaking with a customer

Welcome, Kawasaki owners. Access the information and tools you need to get the most out of your vehicle.

Welcome, Kawasaki owners. Access the information and tools you need to get the most out of your vehicle.

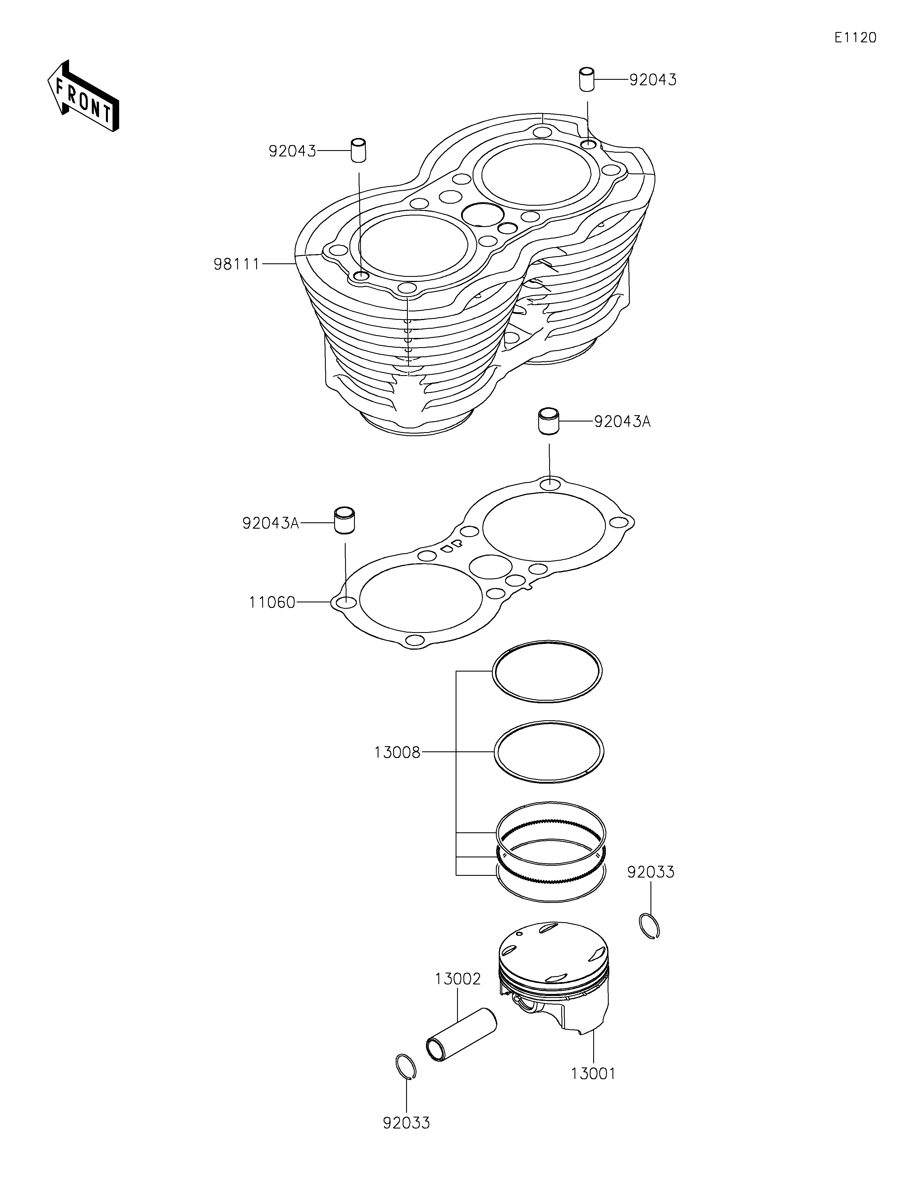
11060
13001
13002
13008
92033
92033
92043
92043
92043A
92043A
98111
Part Item Information
ITEM NAME REF # PART NUMBER QUANTITY DESTINATION REMARKS
GASKET,CYLINDER BASE 11060 11060-1889 1
PISTON-ENGINE 13001 13001-0812 2
PIN-PISTON 13002 13002-1086 2
RING-SET-PISTON 13008 13008-0587 2
RING-SNAP,20.5X1.2 92033 92033-1099 4
PIN,DOWEL,10X14 92043 92043-1037 2
PIN,11.5X14X14 92043A 92043-1279 2
CYLINDER-COMP-ENGINE 98111 98111-0047 1