Skip to main content

Parts Diagrams

customer service agent speaking with a customer

Welcome, Kawasaki owners. Access the information and tools you need to get the most out of your vehicle.

Welcome, Kawasaki owners. Access the information and tools you need to get the most out of your vehicle.

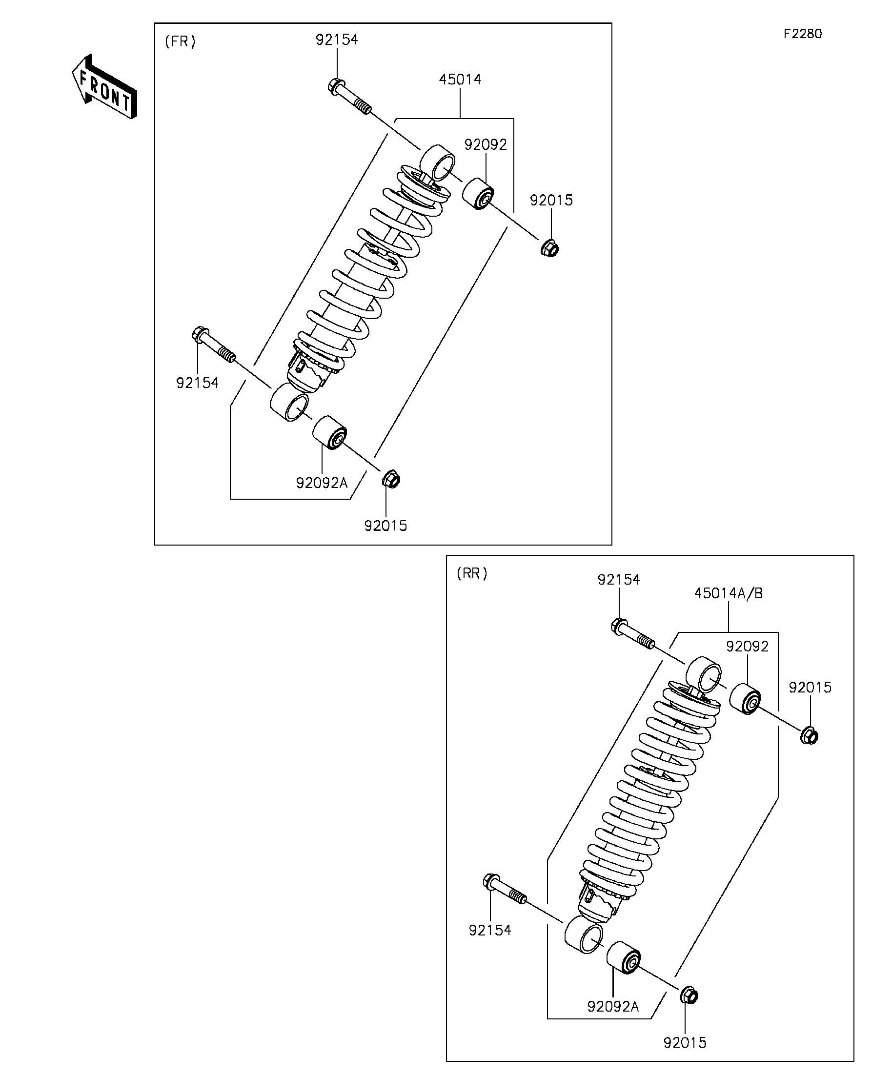
45014
45014A
45014B
92015
92015
92015
92015
92092
92092
92092A
92092A
92154
92154
92154
92154
Part Item Information
ITEM NAME REF # PART NUMBER QUANTITY DESTINATION REMARKS
SHOCKABSORBER,FR 45014 45014-0440 2
SHOCKABSORBER,RR 45014A 45014-0441 2 CN,US
SHOCKABSORBER,RR 45014B 45014-0483 2 CA
NUT,LOCK,FLANGED,12MM 92015 92015-1433 8
BUSHING-RUBBER,UPP 92092 92092-0031 4
BUSHING-RUBBER,LWR 92092A 92092-0032 4
BOLT,FLANGED,12X58 92154 92154-1319 8