main content of page
Parts Diagrams
OWNER CENTER |

Welcome, Kawasaki owners. Access the information and tools you need to get the most out of your vehicle.
OWNER CENTER |
Welcome, Kawasaki owners. Access the information and tools you need to get the most out of your vehicle.
Parts Diagrams |
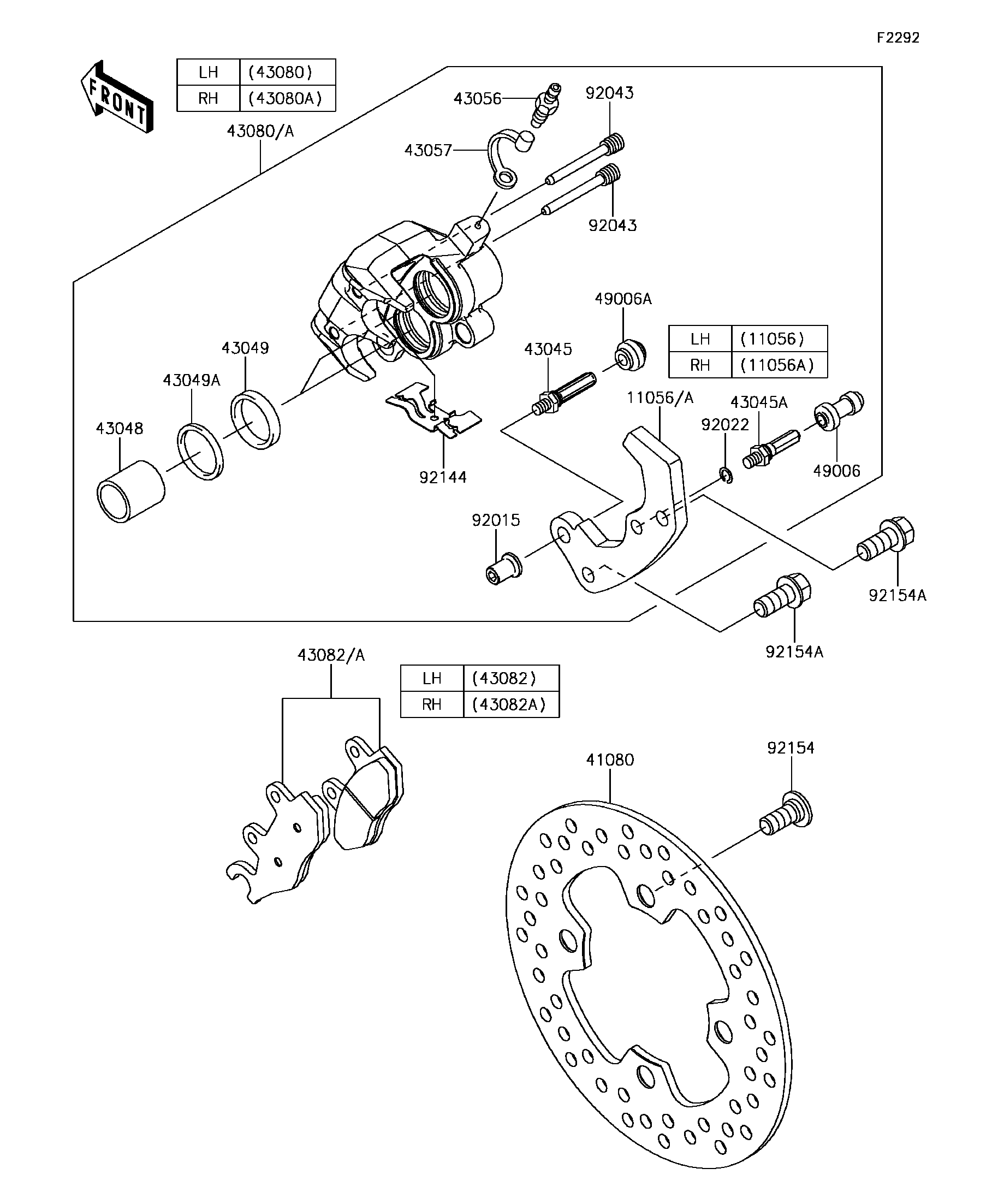
2017 MULE PRO-DX™ DIESEL - Front Brake
11056
11056A
41080
43045
43045A
43048
43049
43049A
43056
43057
43080
43080A
43082
43082A
49006
49006A
92015
92022
92043
92043
92144
92154
92154A
92154A
ITEM NAME | REF # | PART NUMBER | QUANTITY | DESTINATION | REMARKS |
---|---|---|---|---|---|
BRACKET,LH | 11056 | 11056-3807 | 1 | ||
BRACKET,RH | 11056A | 11056-3829 | 1 | ||
DISC | 41080 | 41080-0608 | 2 | ||
SHAFT-CALIPER | 43045 | 43045-0011 | 2 | ||
SHAFT-CALIPER | 43045A | 43045-1010 | 2 | ||
PISTON-CALIPER | 43048 | 43048-1068 | 4 | ||
PACKING,PISTON SEAL | 43049 | 43049-1060 | 4 | ||
PACKING,PISTON SEAL | 43049A | 43049-1061 | 4 | ||
BREATHER | 43056 | 43056-1055 | 2 | ||
CAP-BREATHER | 43057 | 43057-1001 | 2 | ||
CALIPER-SUB-ASSY,FR,LH | 43080 | 43080-0138 | 1 | ||
CALIPER-SUB-ASSY,FR,RH | 43080A | 43080-0139 | 1 | ||
PAD-ASSY-BRAKE,FR,LH | 43082 | 43082-0138 | 1 | ||
PAD-ASSY-BRAKE,FR,RH | 43082A | 43082-0146 | 1 | ||
BOOT,CALIPER | 49006 | 49006-1088 | 2 | ||
BOOT,CALIPER | 49006A | 49006-1242 | 2 | ||
NUT | 92015 | 92015-1740 | 2 | ||
WASHER,WAVE | 92022 | 92022-1373 | 2 | ||
PIN,HANGER | 92043 | 92043-1416 | 4 | ||
SPRING,PAD | 92144 | 92144-1847 | 2 | ||
BOLT,SOCKET,10X23 | 92154 | 92154-0713 | 8 | ||
BOLT,FLANGED,10X22 | 92154A | 92154-1327 | 4 |
BRACKET,LH | |
REF # | 11056 |
---|---|
PART NUMBER | |
QUANTITY | 1 |
DESTINATION | |
REMARKS |
BRACKET,RH | |
REF # | 11056A |
---|---|
PART NUMBER | |
QUANTITY | 1 |
DESTINATION | |
REMARKS |
DISC | |
REF # | 41080 |
---|---|
PART NUMBER | |
QUANTITY | 2 |
DESTINATION | |
REMARKS |
SHAFT-CALIPER | |
REF # | 43045 |
---|---|
PART NUMBER | |
QUANTITY | 2 |
DESTINATION | |
REMARKS |
SHAFT-CALIPER | |
REF # | 43045A |
---|---|
PART NUMBER | |
QUANTITY | 2 |
DESTINATION | |
REMARKS |
PISTON-CALIPER | |
REF # | 43048 |
---|---|
PART NUMBER | |
QUANTITY | 4 |
DESTINATION | |
REMARKS |
PACKING,PISTON SEAL | |
REF # | 43049 |
---|---|
PART NUMBER | |
QUANTITY | 4 |
DESTINATION | |
REMARKS |
PACKING,PISTON SEAL | |
REF # | 43049A |
---|---|
PART NUMBER | |
QUANTITY | 4 |
DESTINATION | |
REMARKS |
BREATHER | |
REF # | 43056 |
---|---|
PART NUMBER | |
QUANTITY | 2 |
DESTINATION | |
REMARKS |
CAP-BREATHER | |
REF # | 43057 |
---|---|
PART NUMBER | |
QUANTITY | 2 |
DESTINATION | |
REMARKS |
CALIPER-SUB-ASSY,FR,LH | |
REF # | 43080 |
---|---|
PART NUMBER | |
QUANTITY | 1 |
DESTINATION | |
REMARKS |
CALIPER-SUB-ASSY,FR,RH | |
REF # | 43080A |
---|---|
PART NUMBER | |
QUANTITY | 1 |
DESTINATION | |
REMARKS |
PAD-ASSY-BRAKE,FR,LH | |
REF # | 43082 |
---|---|
PART NUMBER | |
QUANTITY | 1 |
DESTINATION | |
REMARKS |
PAD-ASSY-BRAKE,FR,RH | |
REF # | 43082A |
---|---|
PART NUMBER | |
QUANTITY | 1 |
DESTINATION | |
REMARKS |
BOOT,CALIPER | |
REF # | 49006 |
---|---|
PART NUMBER | |
QUANTITY | 2 |
DESTINATION | |
REMARKS |
BOOT,CALIPER | |
REF # | 49006A |
---|---|
PART NUMBER | |
QUANTITY | 2 |
DESTINATION | |
REMARKS |
NUT | |
REF # | 92015 |
---|---|
PART NUMBER | |
QUANTITY | 2 |
DESTINATION | |
REMARKS |
WASHER,WAVE | |
REF # | 92022 |
---|---|
PART NUMBER | |
QUANTITY | 2 |
DESTINATION | |
REMARKS |
PIN,HANGER | |
REF # | 92043 |
---|---|
PART NUMBER | |
QUANTITY | 4 |
DESTINATION | |
REMARKS |
SPRING,PAD | |
REF # | 92144 |
---|---|
PART NUMBER | |
QUANTITY | 2 |
DESTINATION | |
REMARKS |
BOLT,SOCKET,10X23 | |
REF # | 92154 |
---|---|
PART NUMBER | |
QUANTITY | 8 |
DESTINATION | |
REMARKS |
BOLT,FLANGED,10X22 | |
REF # | 92154A |
---|---|
PART NUMBER | |
QUANTITY | 4 |
DESTINATION | |
REMARKS |