main content of page
Parts Diagrams
OWNER CENTER |

Welcome, Kawasaki owners. Access the information and tools you need to get the most out of your vehicle.
OWNER CENTER |
Welcome, Kawasaki owners. Access the information and tools you need to get the most out of your vehicle.
Parts Diagrams |
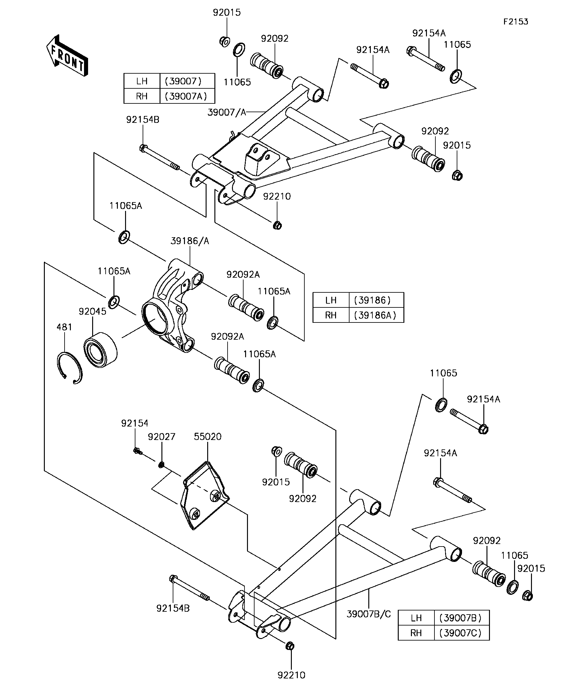
2017 MULE PRO-DX™ DIESEL - Rear Suspension
11065
11065
11065
11065
11065A
11065A
11065A
11065A
39007
39007A
39007B
39007C
39186
39186A
481
55020
92015
92015
92015
92015
92027
92045
92092
92092
92092
92092
92092A
92092A
92154
92154A
92154A
92154A
92154A
92154B
92154B
92210
92210
ITEM NAME | REF # | PART NUMBER | QUANTITY | DESTINATION | REMARKS |
---|---|---|---|---|---|
CAP,ARM | 11065 | 11065-0838 | 8 | ||
CAP | 11065A | 11065-0849 | 8 | ||
ARM-SUSP,RR,UPP,LH | 39007 | 39007-0379 | 1 | ||
ARM-SUSP,RR,UPP,RH | 39007A | 39007-0380 | 1 | ||
ARM-SUSP,RR,LWR,LH | 39007B | 39007-0381 | 1 | ||
ARM-SUSP,RR,LWR,RH | 39007C | 39007-0382 | 1 | ||
KNUCKLE,RR,LH | 39186 | 39186-0317 | 1 | ||
KNUCKLE,RR,RH | 39186A | 39186-0318 | 1 | ||
CIRCLIP-TYPE-C | 481 | 481J7500 | 2 | ||
GUARD,RR CVJ | 55020 | 55020-0931 | 2 | ||
NUT,LOCK,FLANGED,12MM | 92015 | 92015-1433 | 8 | ||
COLLAR,L=4.6 | 92027 | 92027-1168 | 4 | ||
BEARING-BALL,40X74X36 | 92045 | 92045-0763 | 2 | ||
BUSHING-RUBBER,12X20X78 | 92092 | 92092-0028 | 8 | ||
BUSHING-RUBBER,10.1X17X88 | 92092A | 92092-0029 | 4 | ||
BOLT,6X15.6 | 92154 | 92154-1250 | 4 | ||
BOLT,FLANGED,12X100 | 92154A | 92154-1318 | 8 | ||
BOLT,FLANGED,10X110 | 92154B | 92154-1353 | 4 | ||
NUT,LOCK,FLANGED,10MM | 92210 | 92210-0276 | 4 |
CAP,ARM | |
REF # | 11065 |
---|---|
PART NUMBER | |
QUANTITY | 8 |
DESTINATION | |
REMARKS |
CAP | |
REF # | 11065A |
---|---|
PART NUMBER | |
QUANTITY | 8 |
DESTINATION | |
REMARKS |
ARM-SUSP,RR,UPP,LH | |
REF # | 39007 |
---|---|
PART NUMBER | |
QUANTITY | 1 |
DESTINATION | |
REMARKS |
ARM-SUSP,RR,UPP,RH | |
REF # | 39007A |
---|---|
PART NUMBER | |
QUANTITY | 1 |
DESTINATION | |
REMARKS |
ARM-SUSP,RR,LWR,LH | |
REF # | 39007B |
---|---|
PART NUMBER | |
QUANTITY | 1 |
DESTINATION | |
REMARKS |
ARM-SUSP,RR,LWR,RH | |
REF # | 39007C |
---|---|
PART NUMBER | |
QUANTITY | 1 |
DESTINATION | |
REMARKS |
KNUCKLE,RR,LH | |
REF # | 39186 |
---|---|
PART NUMBER | |
QUANTITY | 1 |
DESTINATION | |
REMARKS |
KNUCKLE,RR,RH | |
REF # | 39186A |
---|---|
PART NUMBER | |
QUANTITY | 1 |
DESTINATION | |
REMARKS |
CIRCLIP-TYPE-C | |
REF # | 481 |
---|---|
PART NUMBER | |
QUANTITY | 2 |
DESTINATION | |
REMARKS |
GUARD,RR CVJ | |
REF # | 55020 |
---|---|
PART NUMBER | |
QUANTITY | 2 |
DESTINATION | |
REMARKS |
NUT,LOCK,FLANGED,12MM | |
REF # | 92015 |
---|---|
PART NUMBER | |
QUANTITY | 8 |
DESTINATION | |
REMARKS |
COLLAR,L=4.6 | |
REF # | 92027 |
---|---|
PART NUMBER | |
QUANTITY | 4 |
DESTINATION | |
REMARKS |
BEARING-BALL,40X74X36 | |
REF # | 92045 |
---|---|
PART NUMBER | |
QUANTITY | 2 |
DESTINATION | |
REMARKS |
BUSHING-RUBBER,12X20X78 | |
REF # | 92092 |
---|---|
PART NUMBER | |
QUANTITY | 8 |
DESTINATION | |
REMARKS |
BUSHING-RUBBER,10.1X17X88 | |
REF # | 92092A |
---|---|
PART NUMBER | |
QUANTITY | 4 |
DESTINATION | |
REMARKS |
BOLT,6X15.6 | |
REF # | 92154 |
---|---|
PART NUMBER | |
QUANTITY | 4 |
DESTINATION | |
REMARKS |
BOLT,FLANGED,12X100 | |
REF # | 92154A |
---|---|
PART NUMBER | |
QUANTITY | 8 |
DESTINATION | |
REMARKS |
BOLT,FLANGED,10X110 | |
REF # | 92154B |
---|---|
PART NUMBER | |
QUANTITY | 4 |
DESTINATION | |
REMARKS |
NUT,LOCK,FLANGED,10MM | |
REF # | 92210 |
---|---|
PART NUMBER | |
QUANTITY | 4 |
DESTINATION | |
REMARKS |