main content of page
Parts Diagrams
OWNER CENTER |

Welcome, Kawasaki owners. Access the information and tools you need to get the most out of your vehicle.
OWNER CENTER |
Welcome, Kawasaki owners. Access the information and tools you need to get the most out of your vehicle.
Parts Diagrams |
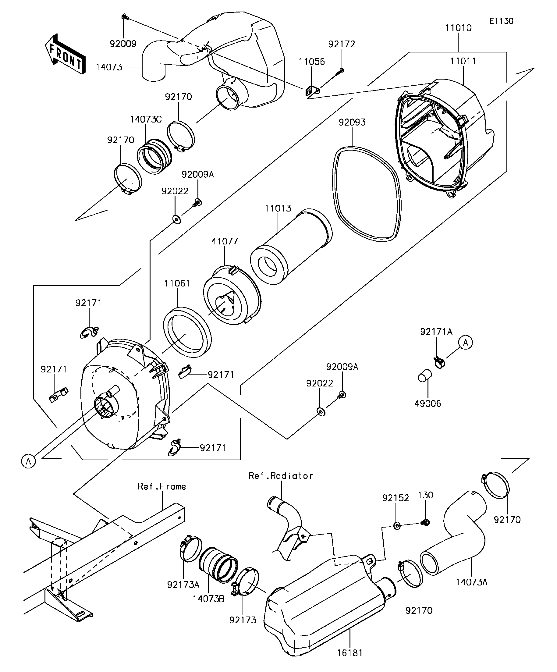
2017 MULE PRO-DX™ DIESEL - Air Cleaner
11010
11011
11013
11056
11061
130
14073
14073A
14073B
14073C
16181
41077
49006
92009
92009A
92009A
92022
92022
92093
92152
92170
92170
92170
92170
92171
92171
92171
92171
92171A
92172
92173
92173A
ITEM NAME | REF # | PART NUMBER | QUANTITY | DESTINATION | REMARKS |
---|---|---|---|---|---|
FILTER-ASSY-AIR | 11010 | 11010-0808 | 1 | ||
CASE-AIR FILTER,UPP | 11011 | 11011-0813 | 1 | ||
ELEMENT-AIR FILTER | 11013 | 11013-1290 | 1 | ||
BRACKET,AIR FILTER | 11056 | 11056-3734 | 1 | ||
GASKET,ADAPTER | 11061 | 11061-0961 | 1 | ||
BOLT-FLANGED,6X14 | 130 | 130BA0614 | 1 | ||
DUCT,INTAKE | 14073 | 14073-0815 | 1 | ||
DUCT,AIR CLEANER-RESONATOR | 14073A | 14073-0816 | 1 | ||
DUCT,FUNNEL | 14073B | 14073-0817 | 1 | ||
DUCT,JOINT | 14073C | 14073-1775 | 1 | ||
TANK-RESONATOR | 16181 | 16181-0017 | 1 | ||
ADAPTER,ELEMENT | 41077 | 41077-0719 | 1 | ||
BOOT | 49006 | 49006-0555 | 1 | ||
SCREW,5X12 | 92009 | 92009-1154 | 1 | ||
SCREW,6X16 | 92009A | 92009-1621 | 2 | ||
WASHER,PLAIN,6MM | 92022 | 92022-165 | 2 | ||
SEAL,AIR FILTER | 92093 | 92093-0607 | 1 | ||
COLLAR,6.5X10X5.6 | 92152 | 92152-0445 | 1 | ||
CLAMP | 92170 | 92170-1764 | 4 | ||
CLAMP | 92171 | 92171-0225 | 4 | ||
CLAMP | 92171A | 92171-0533 | 1 | ||
SCREW,TAPPING,5X20 | 92172 | 92172-0009 | 1 | ||
CLAMP | 92173 | 92173-1536 | 1 | ||
CLAMP | 92173A | 92173-1537 | 1 |
FILTER-ASSY-AIR | |
REF # | 11010 |
---|---|
PART NUMBER | |
QUANTITY | 1 |
DESTINATION | |
REMARKS |
CASE-AIR FILTER,UPP | |
REF # | 11011 |
---|---|
PART NUMBER | |
QUANTITY | 1 |
DESTINATION | |
REMARKS |
ELEMENT-AIR FILTER | |
REF # | 11013 |
---|---|
PART NUMBER | |
QUANTITY | 1 |
DESTINATION | |
REMARKS |
BRACKET,AIR FILTER | |
REF # | 11056 |
---|---|
PART NUMBER | |
QUANTITY | 1 |
DESTINATION | |
REMARKS |
GASKET,ADAPTER | |
REF # | 11061 |
---|---|
PART NUMBER | |
QUANTITY | 1 |
DESTINATION | |
REMARKS |
BOLT-FLANGED,6X14 | |
REF # | 130 |
---|---|
PART NUMBER | |
QUANTITY | 1 |
DESTINATION | |
REMARKS |
DUCT,INTAKE | |
REF # | 14073 |
---|---|
PART NUMBER | |
QUANTITY | 1 |
DESTINATION | |
REMARKS |
DUCT,AIR CLEANER-RESONATOR | |
REF # | 14073A |
---|---|
PART NUMBER | |
QUANTITY | 1 |
DESTINATION | |
REMARKS |
DUCT,FUNNEL | |
REF # | 14073B |
---|---|
PART NUMBER | |
QUANTITY | 1 |
DESTINATION | |
REMARKS |
DUCT,JOINT | |
REF # | 14073C |
---|---|
PART NUMBER | |
QUANTITY | 1 |
DESTINATION | |
REMARKS |
TANK-RESONATOR | |
REF # | 16181 |
---|---|
PART NUMBER | |
QUANTITY | 1 |
DESTINATION | |
REMARKS |
ADAPTER,ELEMENT | |
REF # | 41077 |
---|---|
PART NUMBER | |
QUANTITY | 1 |
DESTINATION | |
REMARKS |
BOOT | |
REF # | 49006 |
---|---|
PART NUMBER | |
QUANTITY | 1 |
DESTINATION | |
REMARKS |
SCREW,5X12 | |
REF # | 92009 |
---|---|
PART NUMBER | |
QUANTITY | 1 |
DESTINATION | |
REMARKS |
SCREW,6X16 | |
REF # | 92009A |
---|---|
PART NUMBER | |
QUANTITY | 2 |
DESTINATION | |
REMARKS |
WASHER,PLAIN,6MM | |
REF # | 92022 |
---|---|
PART NUMBER | |
QUANTITY | 2 |
DESTINATION | |
REMARKS |
SEAL,AIR FILTER | |
REF # | 92093 |
---|---|
PART NUMBER | |
QUANTITY | 1 |
DESTINATION | |
REMARKS |
COLLAR,6.5X10X5.6 | |
REF # | 92152 |
---|---|
PART NUMBER | |
QUANTITY | 1 |
DESTINATION | |
REMARKS |
CLAMP | |
REF # | 92170 |
---|---|
PART NUMBER | |
QUANTITY | 4 |
DESTINATION | |
REMARKS |
CLAMP | |
REF # | 92171 |
---|---|
PART NUMBER | |
QUANTITY | 4 |
DESTINATION | |
REMARKS |
CLAMP | |
REF # | 92171A |
---|---|
PART NUMBER | |
QUANTITY | 1 |
DESTINATION | |
REMARKS |
SCREW,TAPPING,5X20 | |
REF # | 92172 |
---|---|
PART NUMBER | |
QUANTITY | 1 |
DESTINATION | |
REMARKS |
CLAMP | |
REF # | 92173 |
---|---|
PART NUMBER | |
QUANTITY | 1 |
DESTINATION | |
REMARKS |
CLAMP | |
REF # | 92173A |
---|---|
PART NUMBER | |
QUANTITY | 1 |
DESTINATION | |
REMARKS |