Skip to main content

Parts Diagrams

customer service agent speaking with a customer

Welcome, Kawasaki owners. Access the information and tools you need to get the most out of your vehicle.

Welcome, Kawasaki owners. Access the information and tools you need to get the most out of your vehicle.

Part Item Information
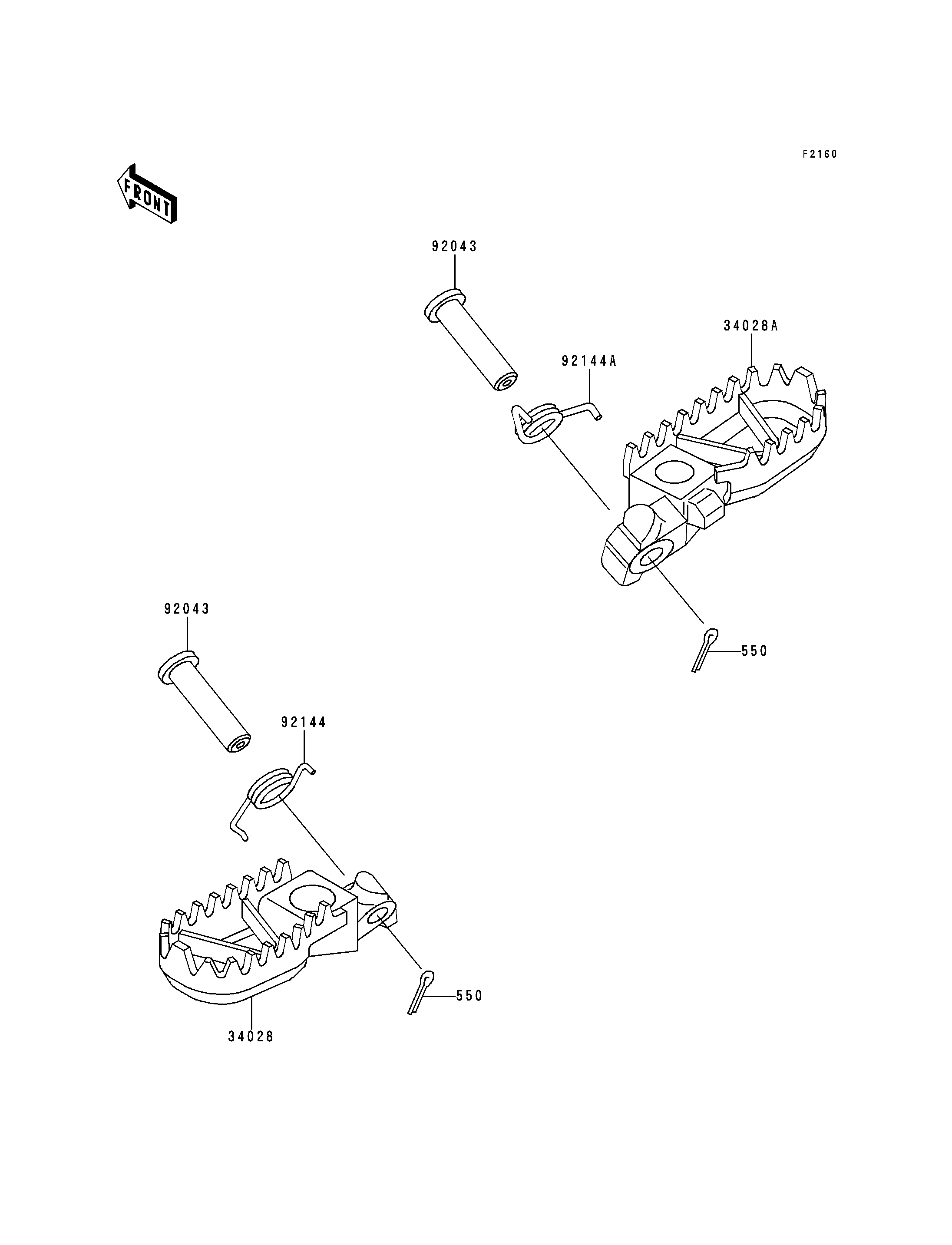
ITEM NAME REF # PART NUMBER QUANTITY DESTINATION REMARKS
PIN-COTTER,3.0X20 550 550S3020 2
STEP,LH,SILVER NO.25 34028 34028-1332-CE 1
STEP,RH,SILVER NO.25 34028A 34028-1365-CE 1
PIN,10X45.5 92043 92043-1372 2
SPRING,STEP,LH 92144 92144-1828 1
SPRING,STEP,RH 92144A 92144-1829 1