Skip to main content

Parts Diagrams

customer service agent speaking with a customer

Welcome, Kawasaki owners. Access the information and tools you need to get the most out of your vehicle.

Welcome, Kawasaki owners. Access the information and tools you need to get the most out of your vehicle.

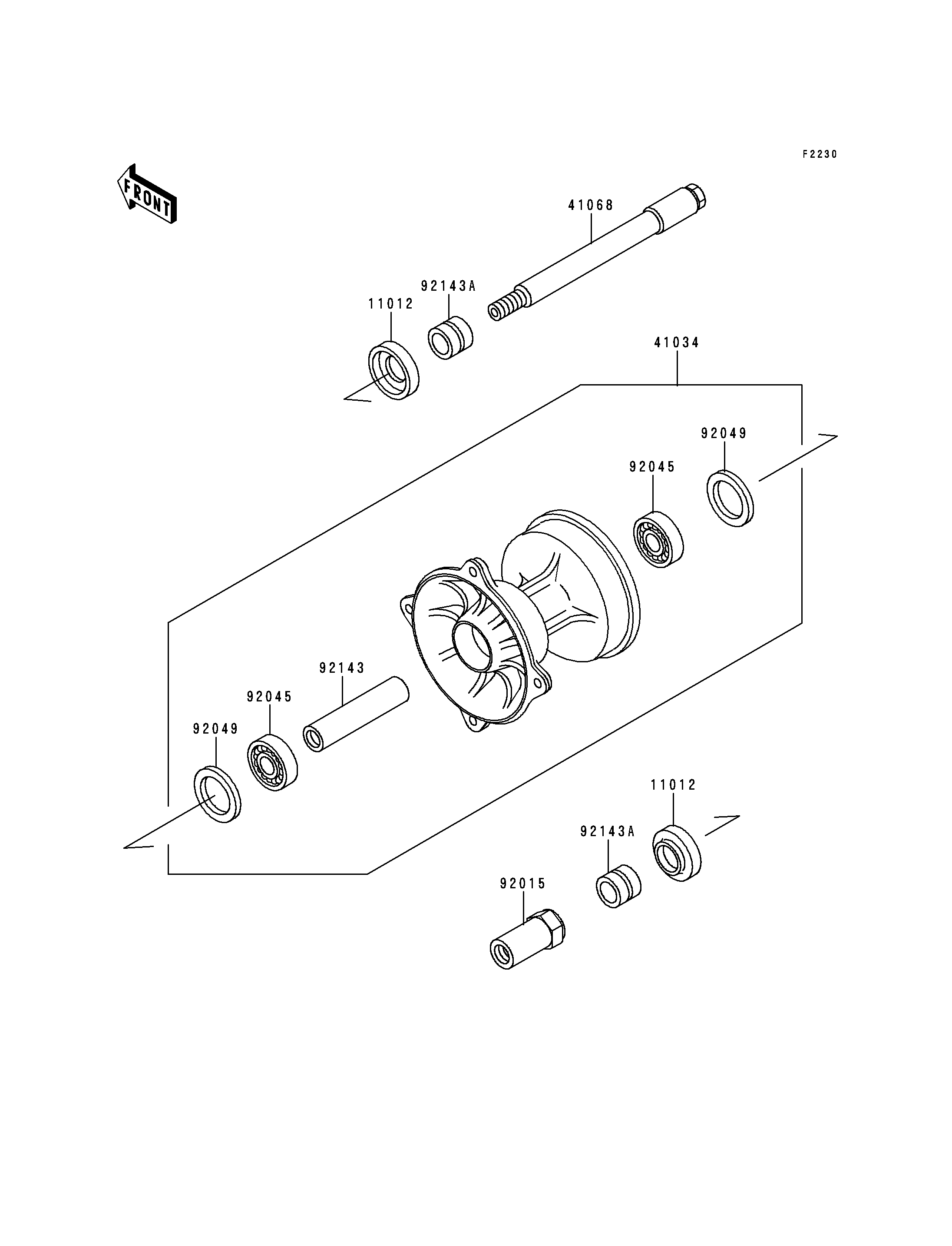
Part Item Information
ITEM NAME REF # PART NUMBER QUANTITY DESTINATION REMARKS
CAP,AXLE 11012 11012-1581 2
DRUM-ASSY,FRONT BRAKE 41034 41034-1226 1
AXLE,FR 41068 41068-1342 1
NUT,AXLE,18MM 92015 92015-1884 1
BEARING-BALL,69042RS 92045 92045-1284 2
SEAL-OIL,BJNC-2 25X37X5 92049 92049-1403 2
COLLAR,FR BRAKE DRUM,L=72 92143 92143-1580 1
COLLAR,FR AXLE,L=20 92143A 92143-1581 2