Skip to main content

Parts Diagrams

customer service agent speaking with a customer

Welcome, Kawasaki owners. Access the information and tools you need to get the most out of your vehicle.

Welcome, Kawasaki owners. Access the information and tools you need to get the most out of your vehicle.

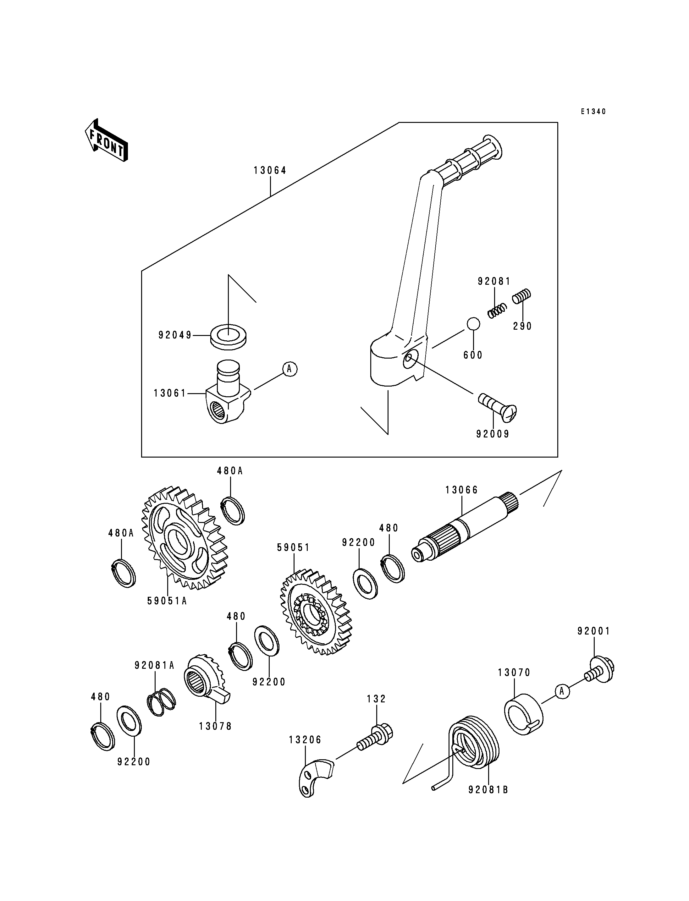
Part Item Information
ITEM NAME REF # PART NUMBER QUANTITY DESTINATION REMARKS
BOLT-FLANGED-SMALL 132 132G0616 1
SCREW-SET-SOCKET 290 290P0808 1
CIRCLIP-TYPE-C,16MM 480 480J1600 3
CIRCLIP-TYPE-C,17MM 480A 480J1700 2
BALL-STEEL,1/4" 600 600A0800 1
BOSS 13061 13061-1353 1
LEVER-ASSY-KICK 13064 13064-1158 1
SHAFT-KICK,STARTER 13066 13066-1019 1
GUIDE,KICK SPRING 13070 13070-1007 1
RATCHET 13078 13078-1052 1
GUIDE-KICK 13206 13206-1061 1
GEAR-SPUR,KICKSTARTER,30T 59051 59051-1125 1
GEAR-SPUR,KICK IDLE,31T 59051A 59051-1295 1
BOLT,FLANGED,6X10 92001 92001-1034 1
SCREW,6X27 92009 92009-1607 1
SEAL-OIL,KICK PEDAL 92049 92049-1387 1
SPRING,KICK PEDAL 92081 92081-020 1
SPRING,RATCHET 92081A 92081-122 1
SPRING,KICKSTARTER 92081B 92081-1768 1
WASHER,KICKSHAFT 92200 92200-1209 3