Skip to main content

Parts Diagrams

customer service agent speaking with a customer

Welcome, Kawasaki owners. Access the information and tools you need to get the most out of your vehicle.

Welcome, Kawasaki owners. Access the information and tools you need to get the most out of your vehicle.

Part Item Information
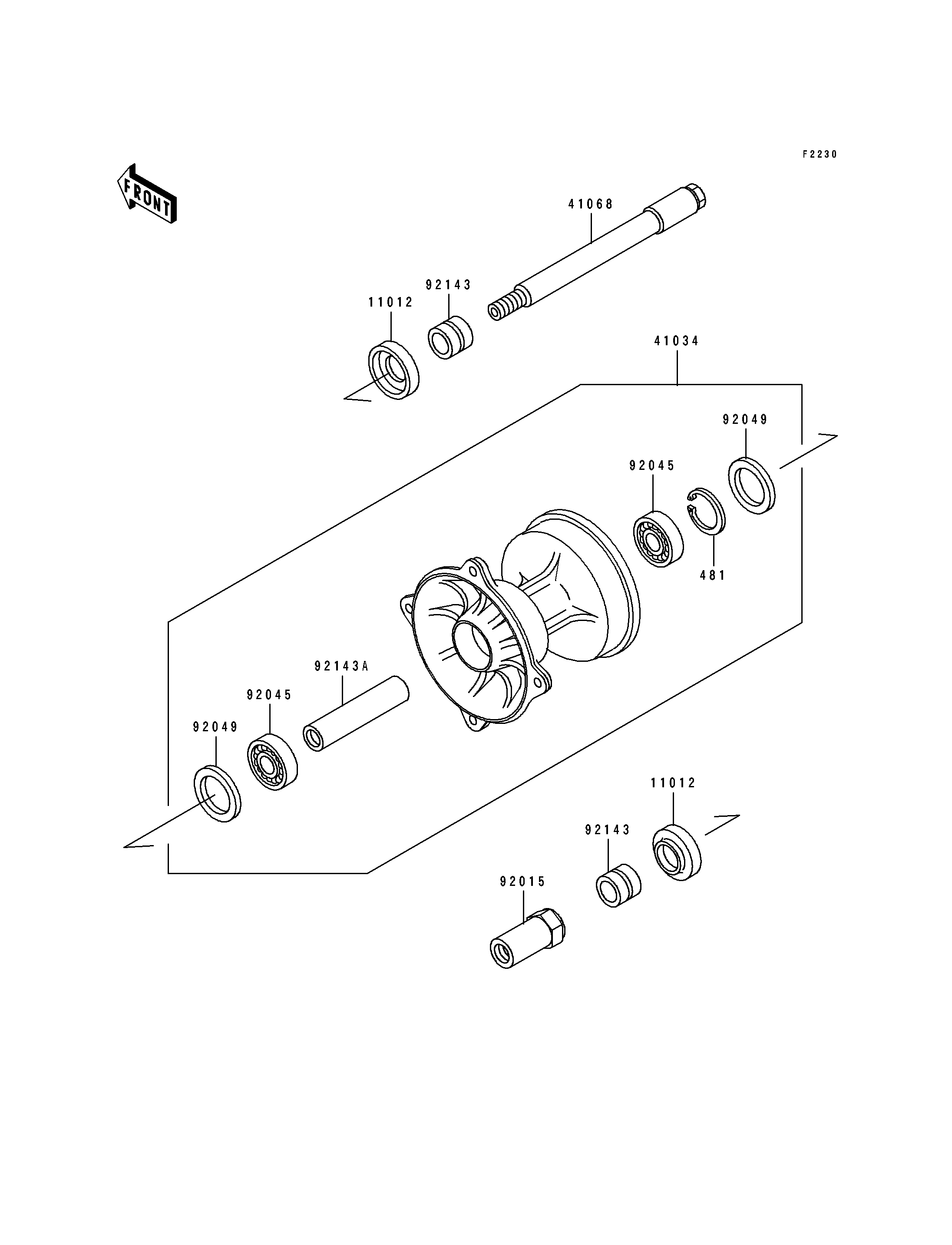
ITEM NAME REF # PART NUMBER QUANTITY DESTINATION REMARKS
CAP,FRONT AXLE 11012 11012-1580 2
DRUM-ASSY,FRONT BRAKE 41034 41034-1204 1
AXLE,FR 41068 41068-1310 1
NUT,AXLE 92015 92015-1815 1
BEARING-BALL,6203LLX7V2 92045 92045-1238 2
SEAL-OIL,BSNC2 22404 92049 92049-1204 2
COLLAR,FR AXLE,L=18 92143 92143-1297 2
COLLAR,FR BRAKE DRUM,L=68 92143A 92143-1401 1
CIRCLIP-TYPE-C,40MM 481 481J4000 1