Skip to main content

Parts Diagrams

customer service agent speaking with a customer

Welcome, Kawasaki owners. Access the information and tools you need to get the most out of your vehicle.

Welcome, Kawasaki owners. Access the information and tools you need to get the most out of your vehicle.

Part Item Information
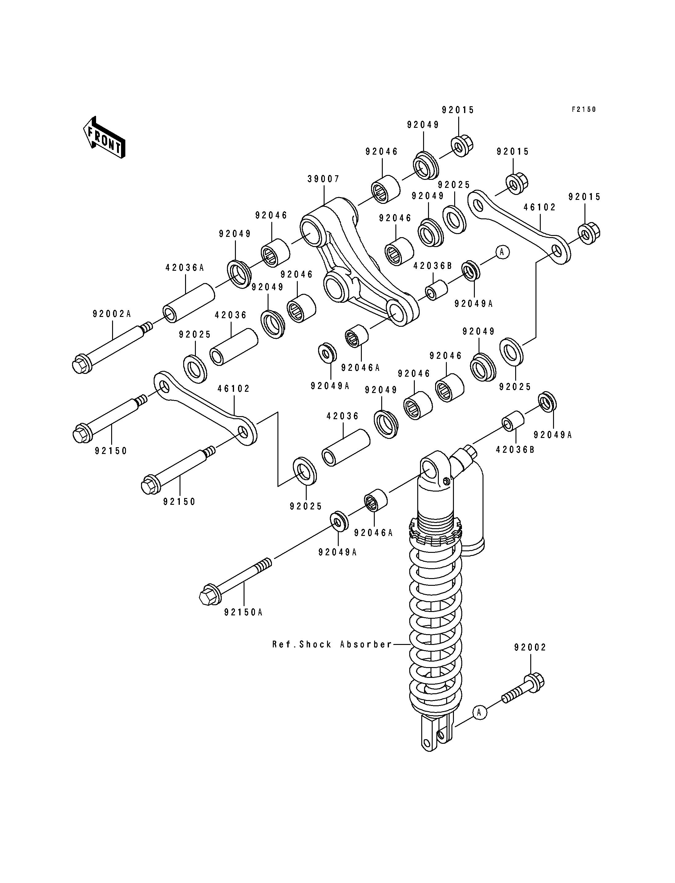
ITEM NAME REF # PART NUMBER QUANTITY DESTINATION REMARKS
ARM-SUSP,UNI TRAK 39007 39007-1197 1
SLEEVE,15X22X57 42036 42036-1245 2
SLEEVE,15X22X63 42036A 42036-1246 1
SLEEVE,10X16X19 42036B 42036-1248 2
ROD,SUSPENSION 46102 46102-1293 2
BOLT,10X40 92002 92002-1675 1
BOLT,ARM,12MM 92002A 92002-1890 1
NUT,FLANGED,12MM 92015 92015-1433 3
SHIM,15.3X27.5X0.6 92025 92025-1135 4
BEARING-NEEDLE,F-2220 92046 92046-1162 6
BEARING-NEEDLE,16BM2212 92046A 92046-1192 2
SEAL-OIL,MHA22 28 5.7F 92049 92049-1254 6
SEAL-OIL 92049A 92049-1330 4
BOLT,ROD,12X93 92150 92150-1337 2
BOLT,FLANGED,10X42 92150A 92150-1571 1