Skip to main content

Parts Diagrams

customer service agent speaking with a customer

Welcome, Kawasaki owners. Access the information and tools you need to get the most out of your vehicle.

Welcome, Kawasaki owners. Access the information and tools you need to get the most out of your vehicle.

Part Item Information
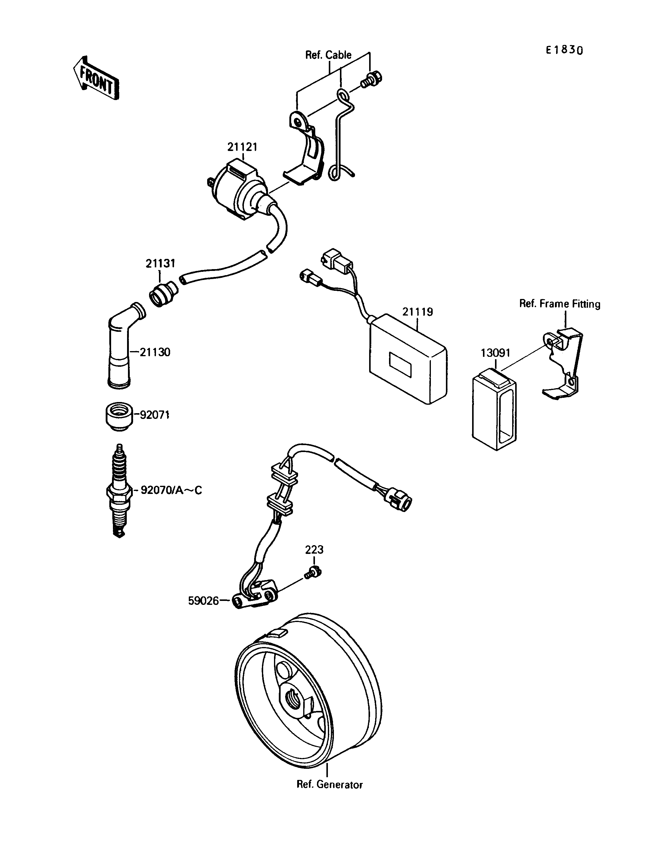
ITEM NAME REF # PART NUMBER QUANTITY DESTINATION REMARKS
HOLDER,IGNITER 13091 13091-1271 1
IGNITER 21119 21119-1197 1
COIL-IGNITION 21121 21121-1148 1
CAP-SPARK PLUG 21130 21130-1002 1
GROMMET,HIGH TENSION 21131 21131-005 1
COIL-PULSING 59026 59026-1080 1
PLUG-SPARK,DPR8EA-9(NGK) 92070 92070-1065 1 CN
PLUG-SPARK,DP8EA-9(NGK) 92070A 92070-1066 1 US
PLUG-SPARK,X24EPR-U9(ND) 92070B 1 CN
PLUG-SPARK,X24EP-U9(ND) 92070C 1 US
GROMMET,PLUG CAP 92071 92071-1124 1
SCREW-PAN-WS-CROS 223 223B0514 2