Skip to main content

Parts Diagrams

customer service agent speaking with a customer

Welcome, Kawasaki owners. Access the information and tools you need to get the most out of your vehicle.

Welcome, Kawasaki owners. Access the information and tools you need to get the most out of your vehicle.

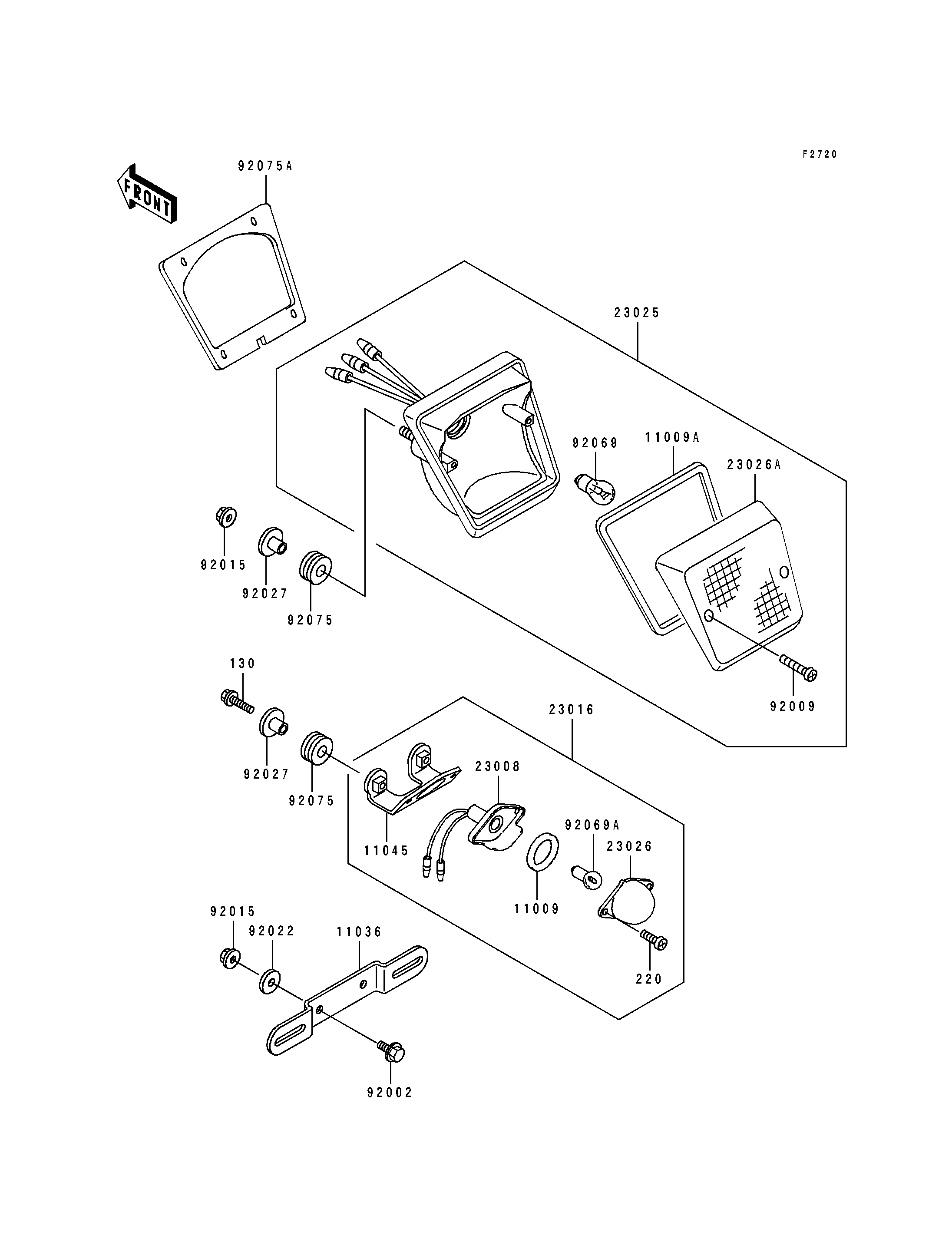
Part Item Information
ITEM NAME REF # PART NUMBER QUANTITY DESTINATION REMARKS
GASKET,LICENSE PLATE LAMP 11009 11009-1372 1
GASKET,TAIL LAMP LENS 11009A 11009-1636 1
BRACKET-A,LICENSE PLATE 11036 11036-1040 1
BRACKET,LICENSE PLATE LAMP 11045 11045-1927 1
SOCKET-ASSY,LICENSE PLATE LAMP 23008 23008-1205 1
LAMP-ASSY,LICENSE PLATE 23016 23016-1086 1
LAMP-TAIL,P.WHITE 23025 23025-1159-6F 1
LENS,LAMP 23026 23026-1054 1
LENS,TAIL LAMP 23026A 23026-1086 1
BOLT,6X16 92002 92002-1124 2
SCREW,TAPPING,4X25 92009 92009-1069 2
NUT,FLANGED,6MM 92015 92015-1367 4
WASHER,6.5X20X1.6 92022 92022-1557 2
COLLAR,L=13.1 92027 92027-251 4
BULB,12V 27/8W 92069 92069-059 1
BULB,12V 8W 92069A 92069-1012 1
DAMPER 92075 92075-1690 4
DAMPER,TAIL LAMP 92075A 92075-1889 1
BOLT-FLANGED,6X25 130 130H0625 2
SCREW-PAN-CROS 220 220B0410 2