main content of page
Parts Diagrams
OWNER CENTER |
Welcome, Kawasaki owners. Access the information and tools you need to get the most out of your vehicle.
OWNER CENTER |
Welcome, Kawasaki owners. Access the information and tools you need to get the most out of your vehicle.
Parts Diagrams |
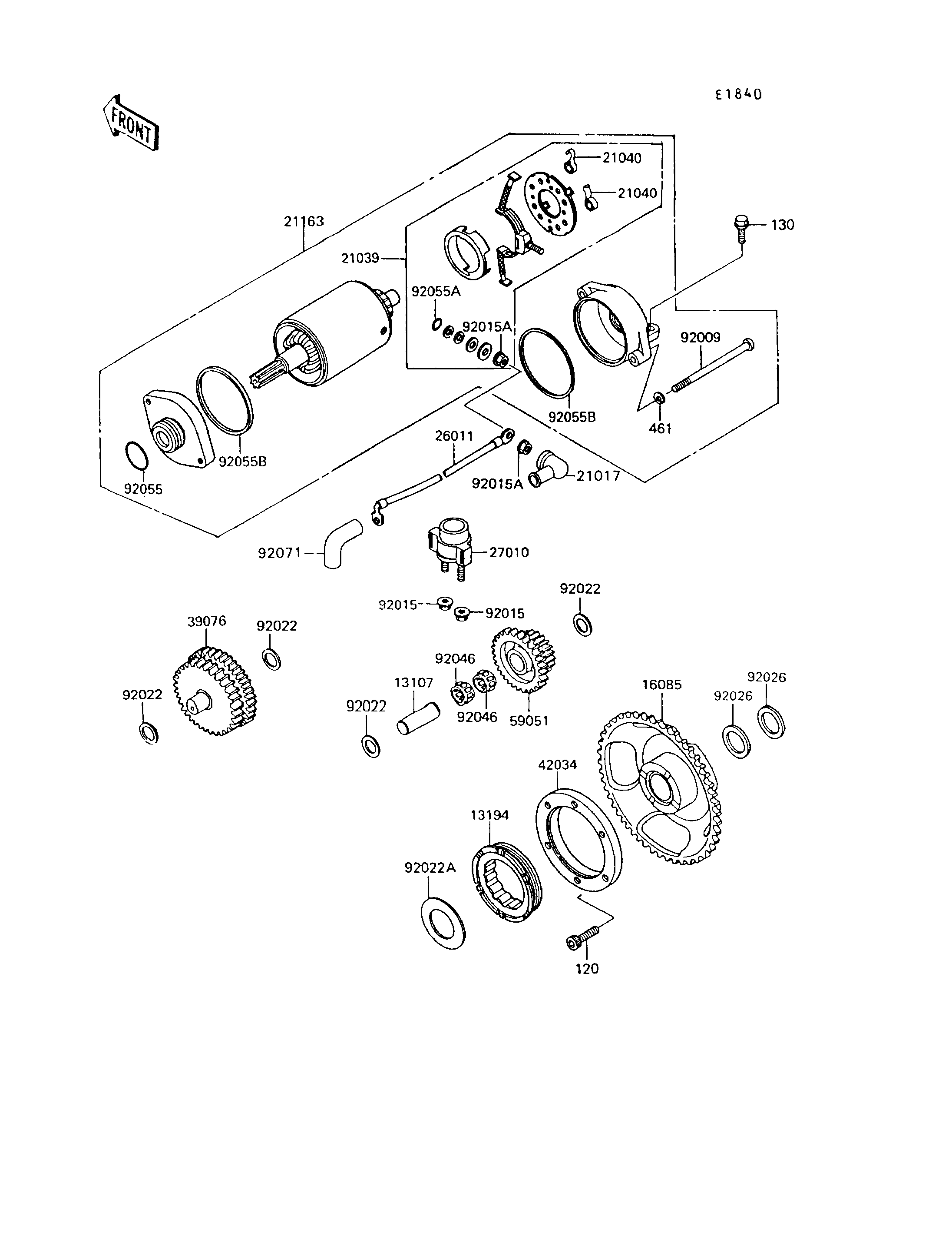
| ITEM NAME | REF # | PART NUMBER | QUANTITY | DESTINATION | REMARKS |
|---|---|---|---|---|---|
| SHAFT,IDLER | 13107 | 13107-1135 | 1 | ||
| CLUTCH-ONEWAY | 13194 | 13194-1089 | 1 | ||
| GEAR,ONEWAY CLUTCH | 16085 | 16085-1205 | 1 | ||
| GROMMET,STARTER TERMINAL | 21017 | 21017-017 | 1 | ||
| BRUSH,CARBON | 21039 | 21039-1060 | 1 | ||
| SPRING-BRUSH | 21040 | 21040-1055 | 4 | ||
| STARTER-ELECTRIC | 21163 | 21163-1108 | 1 | ||
| WIRE-LEAD,STARTER MOTOR | 26011 | 26011-1397 | 1 | ||
| SWITCH,STARTER | 27010 | 27010-1314 | 1 | ||
| LIMITER,STARTER IDLE GEAR | 39076 | 39076-1056 | 1 | ||
| COUPLING | 42034 | 42034-1094 | 1 | ||
| GEAR-SPUR,20T & 37T | 59051 | 59051-1133 | 1 | ||
| SCREW | 92009 | 92009-1369 | 2 | ||
| NUT,FLANGED,6MM | 92015 | 92015-1193 | 2 | ||
| NUT,STARTER MOTOR | 92015A | 92015-1476 | 2 | ||
| WASHER,10.2X20X0.5 | 92022 | 92022-1649 | 4 | ||
| WASHER,32.2X50X1.0 | 92022A | 92022-1650 | 1 | ||
| SPACER,32.15X39.7X2.8 | 92026 | 92026-1295 | 2 | ||
| BEARING-NEEDLE,K10X14X10 | 92046 | 92046-1134 | 2 | ||
| RING-O | 92055 | 92055-1276 | 1 | ||
| RING-O,4.5X2.0 | 92055A | 92055-1370 | 1 | ||
| RING-O,STARTER MOTOR | 92055B | 92055-1381 | 2 | ||
| GROMMET,TERMINAL | 92071 | 92071-1130 | 1 | ||
| BOLT-SOCKET | 120 | 120P0818 | 6 | ||
| BOLT-FLANGED,6X25 | 130 | 130G0625 | 2 | ||
| WASHER-SPRING,5MM | 461 | 461F0500 | 2 |
| SHAFT,IDLER | |
| REF # | 13107 |
|---|---|
| PART NUMBER | |
| QUANTITY | 1 |
| DESTINATION | |
| REMARKS | |
| CLUTCH-ONEWAY | |
| REF # | 13194 |
|---|---|
| PART NUMBER | |
| QUANTITY | 1 |
| DESTINATION | |
| REMARKS | |
| GEAR,ONEWAY CLUTCH | |
| REF # | 16085 |
|---|---|
| PART NUMBER | |
| QUANTITY | 1 |
| DESTINATION | |
| REMARKS | |
| GROMMET,STARTER TERMINAL | |
| REF # | 21017 |
|---|---|
| PART NUMBER | |
| QUANTITY | 1 |
| DESTINATION | |
| REMARKS | |
| BRUSH,CARBON | |
| REF # | 21039 |
|---|---|
| PART NUMBER | |
| QUANTITY | 1 |
| DESTINATION | |
| REMARKS | |
| SPRING-BRUSH | |
| REF # | 21040 |
|---|---|
| PART NUMBER | |
| QUANTITY | 4 |
| DESTINATION | |
| REMARKS | |
| STARTER-ELECTRIC | |
| REF # | 21163 |
|---|---|
| PART NUMBER | |
| QUANTITY | 1 |
| DESTINATION | |
| REMARKS | |
| WIRE-LEAD,STARTER MOTOR | |
| REF # | 26011 |
|---|---|
| PART NUMBER | |
| QUANTITY | 1 |
| DESTINATION | |
| REMARKS | |
| SWITCH,STARTER | |
| REF # | 27010 |
|---|---|
| PART NUMBER | |
| QUANTITY | 1 |
| DESTINATION | |
| REMARKS | |
| LIMITER,STARTER IDLE GEAR | |
| REF # | 39076 |
|---|---|
| PART NUMBER | |
| QUANTITY | 1 |
| DESTINATION | |
| REMARKS | |
| COUPLING | |
| REF # | 42034 |
|---|---|
| PART NUMBER | |
| QUANTITY | 1 |
| DESTINATION | |
| REMARKS | |
| GEAR-SPUR,20T & 37T | |
| REF # | 59051 |
|---|---|
| PART NUMBER | |
| QUANTITY | 1 |
| DESTINATION | |
| REMARKS | |
| SCREW | |
| REF # | 92009 |
|---|---|
| PART NUMBER | |
| QUANTITY | 2 |
| DESTINATION | |
| REMARKS | |
| NUT,FLANGED,6MM | |
| REF # | 92015 |
|---|---|
| PART NUMBER | |
| QUANTITY | 2 |
| DESTINATION | |
| REMARKS | |
| NUT,STARTER MOTOR | |
| REF # | 92015A |
|---|---|
| PART NUMBER | |
| QUANTITY | 2 |
| DESTINATION | |
| REMARKS | |
| WASHER,10.2X20X0.5 | |
| REF # | 92022 |
|---|---|
| PART NUMBER | |
| QUANTITY | 4 |
| DESTINATION | |
| REMARKS | |
| WASHER,32.2X50X1.0 | |
| REF # | 92022A |
|---|---|
| PART NUMBER | |
| QUANTITY | 1 |
| DESTINATION | |
| REMARKS | |
| SPACER,32.15X39.7X2.8 | |
| REF # | 92026 |
|---|---|
| PART NUMBER | |
| QUANTITY | 2 |
| DESTINATION | |
| REMARKS | |
| BEARING-NEEDLE,K10X14X10 | |
| REF # | 92046 |
|---|---|
| PART NUMBER | |
| QUANTITY | 2 |
| DESTINATION | |
| REMARKS | |
| RING-O | |
| REF # | 92055 |
|---|---|
| PART NUMBER | |
| QUANTITY | 1 |
| DESTINATION | |
| REMARKS | |
| RING-O,4.5X2.0 | |
| REF # | 92055A |
|---|---|
| PART NUMBER | |
| QUANTITY | 1 |
| DESTINATION | |
| REMARKS | |
| RING-O,STARTER MOTOR | |
| REF # | 92055B |
|---|---|
| PART NUMBER | |
| QUANTITY | 2 |
| DESTINATION | |
| REMARKS | |
| GROMMET,TERMINAL | |
| REF # | 92071 |
|---|---|
| PART NUMBER | |
| QUANTITY | 1 |
| DESTINATION | |
| REMARKS | |
| BOLT-SOCKET | |
| REF # | 120 |
|---|---|
| PART NUMBER | |
| QUANTITY | 6 |
| DESTINATION | |
| REMARKS | |
| BOLT-FLANGED,6X25 | |
| REF # | 130 |
|---|---|
| PART NUMBER | |
| QUANTITY | 2 |
| DESTINATION | |
| REMARKS | |
| WASHER-SPRING,5MM | |
| REF # | 461 |
|---|---|
| PART NUMBER | |
| QUANTITY | 2 |
| DESTINATION | |
| REMARKS | |