main content of page
Parts Diagrams
OWNER CENTER |

Welcome, Kawasaki owners. Access the information and tools you need to get the most out of your vehicle.
OWNER CENTER |
Welcome, Kawasaki owners. Access the information and tools you need to get the most out of your vehicle.
Parts Diagrams |
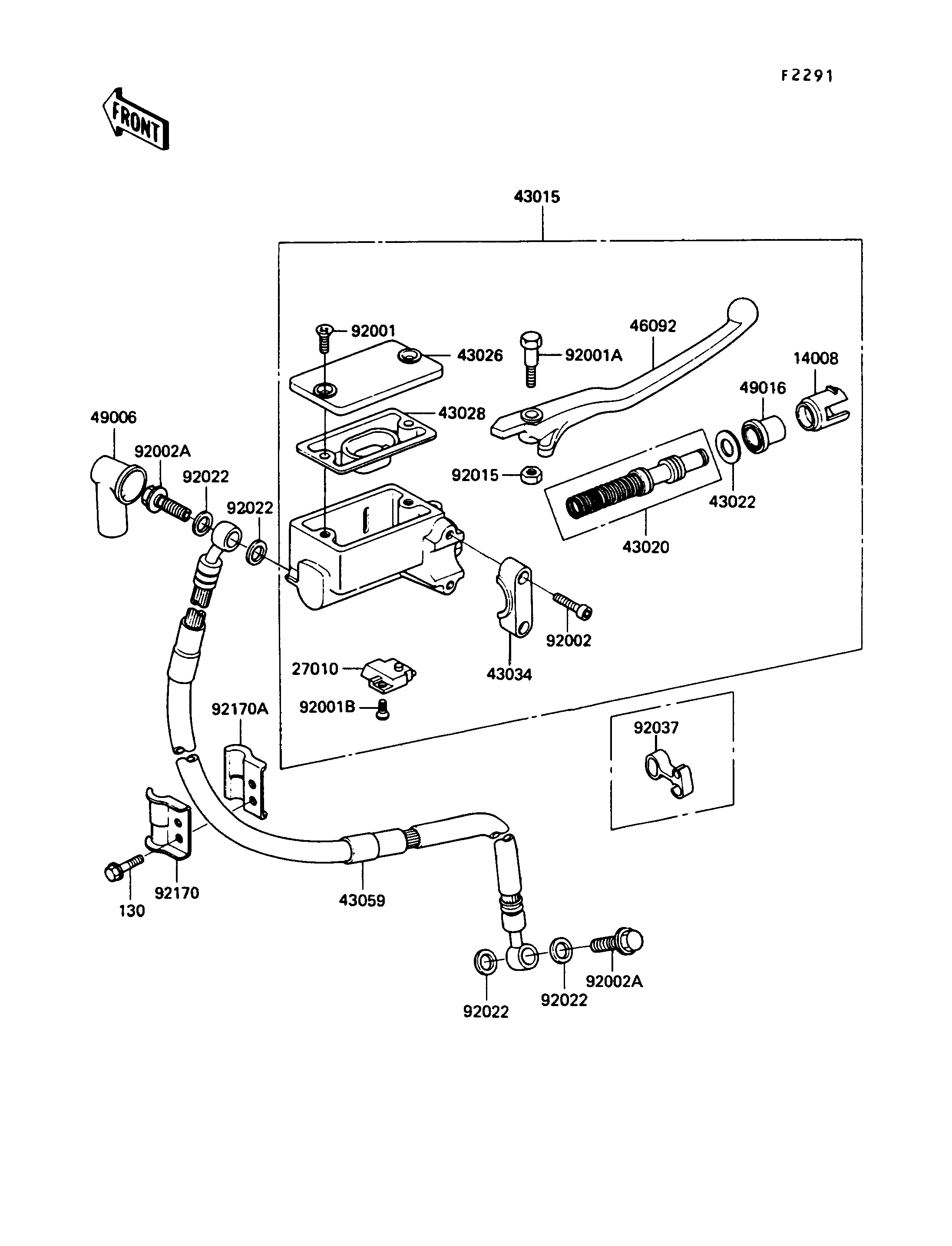
1990 KLR250 - Front Master Cylinder(KL250-D7)
ITEM NAME | REF # | PART NUMBER | QUANTITY | DESTINATION | REMARKS |
---|---|---|---|---|---|
LINER | 14008 | 14008-1030 | 1 | ||
SWITCH,BRAKE | 27010 | 27010-1056 | 1 | ||
CYLINDER-ASSY-MASTER,FR | 43015 | 43015-1257 | 1 | ||
PISTON-COMP-BRAKE | 43020 | 43020-1021 | 1 | ||
STOPPER-BRAKE | 43022 | 43022-1008 | 1 | ||
CAP-BRAKE | 43026 | 43026-1020 | 1 | ||
DIAPHRAGM | 43028 | 43028-1022 | 1 | ||
HOLDER-BRAKE,MASTER CYLINDER | 43034 | 43034-1055 | 1 | ||
HOSE-BRAKE,FR | 43059 | 43059-1281 | 1 | ||
LEVER-GRIP,FRONT BRAKE | 46092 | 46092-1114 | 1 | ||
BOOT,DUST | 49006 | 49006-1040 | 1 | ||
COVER-SEAL | 49016 | 49016-1035 | 1 | ||
SCREW-CSK-CROS,5X12,BLACK | 92001 | 92001-1055 | 2 | ||
BOLT,6X37.3,BLACK | 92001A | 92001-1512 | 1 | ||
SCREW-CSK-CROS,4X10,BLACK | 92001B | 92001-1532 | 1 | ||
BOLT,SOCKET,6X22 | 92002 | 92002-1326 | 2 | ||
BOLT,OIL,L=23 | 92002A | 92002-1888 | 2 | ||
NUT,LOCK,6MM,BLACK | 92015 | 92015-1191 | 1 | ||
WASHER,10.5X15X1.5 | 92022 | 43067-001 | 4 | ||
CLAMP,BRAKE HOSE | 92037 | 92037-1629 | 1 | ||
CLAMP,BRAKE HOSE,OUTSIDE | 92170 | 92170-1231 | 1 | ||
CLAMP,BRAKE HOSE,INSIDE | 92170A | 92170-1232 | 1 | ||
BOLT-FLANGED,6X14,BLACK | 130 | 130J0614 | 2 |
LINER | |
REF # | 14008 |
---|---|
PART NUMBER | |
QUANTITY | 1 |
DESTINATION | |
REMARKS |
SWITCH,BRAKE | |
REF # | 27010 |
---|---|
PART NUMBER | |
QUANTITY | 1 |
DESTINATION | |
REMARKS |
CYLINDER-ASSY-MASTER,FR | |
REF # | 43015 |
---|---|
PART NUMBER | |
QUANTITY | 1 |
DESTINATION | |
REMARKS |
PISTON-COMP-BRAKE | |
REF # | 43020 |
---|---|
PART NUMBER | |
QUANTITY | 1 |
DESTINATION | |
REMARKS |
STOPPER-BRAKE | |
REF # | 43022 |
---|---|
PART NUMBER | |
QUANTITY | 1 |
DESTINATION | |
REMARKS |
CAP-BRAKE | |
REF # | 43026 |
---|---|
PART NUMBER | |
QUANTITY | 1 |
DESTINATION | |
REMARKS |
DIAPHRAGM | |
REF # | 43028 |
---|---|
PART NUMBER | |
QUANTITY | 1 |
DESTINATION | |
REMARKS |
HOLDER-BRAKE,MASTER CYLINDER | |
REF # | 43034 |
---|---|
PART NUMBER | |
QUANTITY | 1 |
DESTINATION | |
REMARKS |
HOSE-BRAKE,FR | |
REF # | 43059 |
---|---|
PART NUMBER | |
QUANTITY | 1 |
DESTINATION | |
REMARKS |
LEVER-GRIP,FRONT BRAKE | |
REF # | 46092 |
---|---|
PART NUMBER | |
QUANTITY | 1 |
DESTINATION | |
REMARKS |
BOOT,DUST | |
REF # | 49006 |
---|---|
PART NUMBER | |
QUANTITY | 1 |
DESTINATION | |
REMARKS |
COVER-SEAL | |
REF # | 49016 |
---|---|
PART NUMBER | |
QUANTITY | 1 |
DESTINATION | |
REMARKS |
SCREW-CSK-CROS,5X12,BLACK | |
REF # | 92001 |
---|---|
PART NUMBER | |
QUANTITY | 2 |
DESTINATION | |
REMARKS |
BOLT,6X37.3,BLACK | |
REF # | 92001A |
---|---|
PART NUMBER | |
QUANTITY | 1 |
DESTINATION | |
REMARKS |
SCREW-CSK-CROS,4X10,BLACK | |
REF # | 92001B |
---|---|
PART NUMBER | |
QUANTITY | 1 |
DESTINATION | |
REMARKS |
BOLT,SOCKET,6X22 | |
REF # | 92002 |
---|---|
PART NUMBER | |
QUANTITY | 2 |
DESTINATION | |
REMARKS |
BOLT,OIL,L=23 | |
REF # | 92002A |
---|---|
PART NUMBER | |
QUANTITY | 2 |
DESTINATION | |
REMARKS |
NUT,LOCK,6MM,BLACK | |
REF # | 92015 |
---|---|
PART NUMBER | |
QUANTITY | 1 |
DESTINATION | |
REMARKS |
WASHER,10.5X15X1.5 | |
REF # | 92022 |
---|---|
PART NUMBER | |
QUANTITY | 4 |
DESTINATION | |
REMARKS |
CLAMP,BRAKE HOSE | |
REF # | 92037 |
---|---|
PART NUMBER | |
QUANTITY | 1 |
DESTINATION | |
REMARKS |
CLAMP,BRAKE HOSE,OUTSIDE | |
REF # | 92170 |
---|---|
PART NUMBER | |
QUANTITY | 1 |
DESTINATION | |
REMARKS |
CLAMP,BRAKE HOSE,INSIDE | |
REF # | 92170A |
---|---|
PART NUMBER | |
QUANTITY | 1 |
DESTINATION | |
REMARKS |
BOLT-FLANGED,6X14,BLACK | |
REF # | 130 |
---|---|
PART NUMBER | |
QUANTITY | 2 |
DESTINATION | |
REMARKS |