main content of page
Parts Diagrams
OWNER CENTER |

Welcome, Kawasaki owners. Access the information and tools you need to get the most out of your vehicle.
OWNER CENTER |
Welcome, Kawasaki owners. Access the information and tools you need to get the most out of your vehicle.
Parts Diagrams |
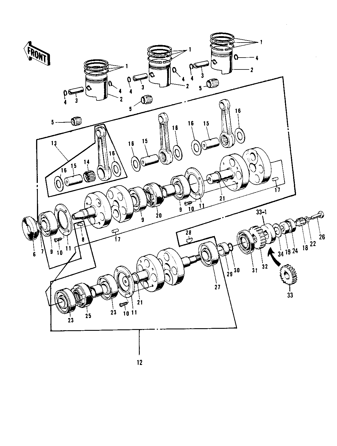
1975 H1-F - CRANKSHAFT/PISTONS ('69-72 H1/A/B/C)
ITEM NAME | REF # | PART NUMBER | QUANTITY | DESTINATION | REMARKS |
---|---|---|---|---|---|
RING SET,STD | 1 | 13008-041 | 3 | ||
RING SET,0.020" O.S | 1 | 13025-044 | (3 | ||
RING SET,0.040" O.S | 1 | 13024-048 | (3 | ||
PISTON STD | 2 | 13001-031 | 3 | ||
PISTON 0.020' O.S | 2 | 13029-031 | (3 | ||
PISTON 0.040' O.S | 2 | 13027-031 | (3 | ||
PIN-PISTON | 3 | 13002-010 | 3 | ||
CIRCLIP PISTON PIN | 4 | 92036-004 | 6 | ||
BEARING-NEEDLE | 5 | 92046-1038 | 3 | ||
OIL SEAL,TC255210 | 6 | 92050-051 | 1 | TC 255210 | |
CIRCLIP | 7 | 92036-013 | 1 | ||
WOODRUFF KEY | 8 | 92038-001 | 1 | ||
BEARING BALL #6205 | 9 | 601B6205 | 3 | ||
SCREW CNTRSNK HD 5X10 | 10 | 92012-001 | 12 | ||
OIL RECEIVER,CRANKSFT | 11 | 13045-010 | 3 | ||
CRANK&CONROD ASSY | 12 | 13031-049 | 1 | ||
CONNECTING ROD SET | 13 | 13044-034 | 3 | ||
NEEDLE BEARING BG END | 14 | 13034-010 | 3 | ||
CRANK PIN | 15 | 13035-017 | 3 | ||
WASHER SIDE | 16 | 92026-024 | 6 | ||
PIN DOWEL 5X12 | 17 | 610A0512 | 2 | ||
PINION OIL PUMP | 18 | 16084-010 | 1 | ||
NUT 18MM | 19 | 92015-019 | 1 | ||
OIL SEAL,Y325222.5 | 20 | 92054-017 | 1 | Y3252225 | |
SPACER | 21 | 92026-066 | 2 | ||
WASHER LOCK 6MM | 22 | 463H0600 | 1 | ||
BALL BEARING 6305N | 23 | 92045-020 | 2 | ||
WASHER LOCK | 24 | 92024-021 | 1 | ||
OIL SEAL,Y326219 | 25 | 92054-018 | 1 | Y326219 | |
BOLT OIL PUMP PINION | 26 | 92001-060 | 1 | ||
BEARING BALL #6305 | 27 | 601B6305 | 2 | ||
WOODRUFF KEY | 28 | 510A5200 | 1 | ||
COLLAR CRANK OIL SEAL | 29 | 92027-031 | 1 | ||
"0" RING,22MM | 30 | 92055-018 | 1 | ||
OIL SEAL,TC326210 | 31 | 92050-052 | 1 | TC 326210 | |
PINION-PRIMARY | 32 | 13121-013 | 1 | ||
PINION DISTRIBUTOR | 33 | 21146-001 | 1 | H1/A/C | |
COLLAR | 33-1 | 92027-091 | 1 | H1-B | |
WASHER LOCK 18MM | 34 | 92024-015 | 1 |
RING SET,STD | |
REF # | 1 |
---|---|
PART NUMBER | |
QUANTITY | 3 |
DESTINATION | |
REMARKS |
RING SET,0.020" O.S | |
REF # | 1 |
---|---|
PART NUMBER | |
QUANTITY | (3 |
DESTINATION | |
REMARKS |
RING SET,0.040" O.S | |
REF # | 1 |
---|---|
PART NUMBER | |
QUANTITY | (3 |
DESTINATION | |
REMARKS |
PISTON STD | |
REF # | 2 |
---|---|
PART NUMBER | |
QUANTITY | 3 |
DESTINATION | |
REMARKS |
PISTON 0.020' O.S | |
REF # | 2 |
---|---|
PART NUMBER | |
QUANTITY | (3 |
DESTINATION | |
REMARKS |
PISTON 0.040' O.S | |
REF # | 2 |
---|---|
PART NUMBER | |
QUANTITY | (3 |
DESTINATION | |
REMARKS |
PIN-PISTON | |
REF # | 3 |
---|---|
PART NUMBER | |
QUANTITY | 3 |
DESTINATION | |
REMARKS |
CIRCLIP PISTON PIN | |
REF # | 4 |
---|---|
PART NUMBER | |
QUANTITY | 6 |
DESTINATION | |
REMARKS |
BEARING-NEEDLE | |
REF # | 5 |
---|---|
PART NUMBER | |
QUANTITY | 3 |
DESTINATION | |
REMARKS |
OIL SEAL,TC255210 | |
REF # | 6 |
---|---|
PART NUMBER | |
QUANTITY | 1 |
DESTINATION | |
REMARKS | TC 255210 |
CIRCLIP | |
REF # | 7 |
---|---|
PART NUMBER | |
QUANTITY | 1 |
DESTINATION | |
REMARKS |
WOODRUFF KEY | |
REF # | 8 |
---|---|
PART NUMBER | |
QUANTITY | 1 |
DESTINATION | |
REMARKS |
BEARING BALL #6205 | |
REF # | 9 |
---|---|
PART NUMBER | |
QUANTITY | 3 |
DESTINATION | |
REMARKS |
SCREW CNTRSNK HD 5X10 | |
REF # | 10 |
---|---|
PART NUMBER | |
QUANTITY | 12 |
DESTINATION | |
REMARKS |
OIL RECEIVER,CRANKSFT | |
REF # | 11 |
---|---|
PART NUMBER | |
QUANTITY | 3 |
DESTINATION | |
REMARKS |
CRANK&CONROD ASSY | |
REF # | 12 |
---|---|
PART NUMBER | |
QUANTITY | 1 |
DESTINATION | |
REMARKS |
CONNECTING ROD SET | |
REF # | 13 |
---|---|
PART NUMBER | |
QUANTITY | 3 |
DESTINATION | |
REMARKS |
NEEDLE BEARING BG END | |
REF # | 14 |
---|---|
PART NUMBER | |
QUANTITY | 3 |
DESTINATION | |
REMARKS |
CRANK PIN | |
REF # | 15 |
---|---|
PART NUMBER | |
QUANTITY | 3 |
DESTINATION | |
REMARKS |
WASHER SIDE | |
REF # | 16 |
---|---|
PART NUMBER | |
QUANTITY | 6 |
DESTINATION | |
REMARKS |
PIN DOWEL 5X12 | |
REF # | 17 |
---|---|
PART NUMBER | |
QUANTITY | 2 |
DESTINATION | |
REMARKS |
PINION OIL PUMP | |
REF # | 18 |
---|---|
PART NUMBER | |
QUANTITY | 1 |
DESTINATION | |
REMARKS |
NUT 18MM | |
REF # | 19 |
---|---|
PART NUMBER | |
QUANTITY | 1 |
DESTINATION | |
REMARKS |
OIL SEAL,Y325222.5 | |
REF # | 20 |
---|---|
PART NUMBER | |
QUANTITY | 1 |
DESTINATION | |
REMARKS | Y3252225 |
SPACER | |
REF # | 21 |
---|---|
PART NUMBER | |
QUANTITY | 2 |
DESTINATION | |
REMARKS |
WASHER LOCK 6MM | |
REF # | 22 |
---|---|
PART NUMBER | |
QUANTITY | 1 |
DESTINATION | |
REMARKS |
BALL BEARING 6305N | |
REF # | 23 |
---|---|
PART NUMBER | |
QUANTITY | 2 |
DESTINATION | |
REMARKS |
WASHER LOCK | |
REF # | 24 |
---|---|
PART NUMBER | |
QUANTITY | 1 |
DESTINATION | |
REMARKS |
OIL SEAL,Y326219 | |
REF # | 25 |
---|---|
PART NUMBER | |
QUANTITY | 1 |
DESTINATION | |
REMARKS | Y326219 |
BOLT OIL PUMP PINION | |
REF # | 26 |
---|---|
PART NUMBER | |
QUANTITY | 1 |
DESTINATION | |
REMARKS |
BEARING BALL #6305 | |
REF # | 27 |
---|---|
PART NUMBER | |
QUANTITY | 2 |
DESTINATION | |
REMARKS |
WOODRUFF KEY | |
REF # | 28 |
---|---|
PART NUMBER | |
QUANTITY | 1 |
DESTINATION | |
REMARKS |
COLLAR CRANK OIL SEAL | |
REF # | 29 |
---|---|
PART NUMBER | |
QUANTITY | 1 |
DESTINATION | |
REMARKS |
"0" RING,22MM | |
REF # | 30 |
---|---|
PART NUMBER | |
QUANTITY | 1 |
DESTINATION | |
REMARKS |
OIL SEAL,TC326210 | |
REF # | 31 |
---|---|
PART NUMBER | |
QUANTITY | 1 |
DESTINATION | |
REMARKS | TC 326210 |
PINION-PRIMARY | |
REF # | 32 |
---|---|
PART NUMBER | |
QUANTITY | 1 |
DESTINATION | |
REMARKS |
PINION DISTRIBUTOR | |
REF # | 33 |
---|---|
PART NUMBER | |
QUANTITY | 1 |
DESTINATION | |
REMARKS | H1/A/C |
COLLAR | |
REF # | 33-1 |
---|---|
PART NUMBER | |
QUANTITY | 1 |
DESTINATION | |
REMARKS | H1-B |
WASHER LOCK 18MM | |
REF # | 34 |
---|---|
PART NUMBER | |
QUANTITY | 1 |
DESTINATION | |
REMARKS |