Skip to main content

Parts Diagrams

customer service agent speaking with a customer

Welcome, Kawasaki owners. Access the information and tools you need to get the most out of your vehicle.

Welcome, Kawasaki owners. Access the information and tools you need to get the most out of your vehicle.

Part Item Information
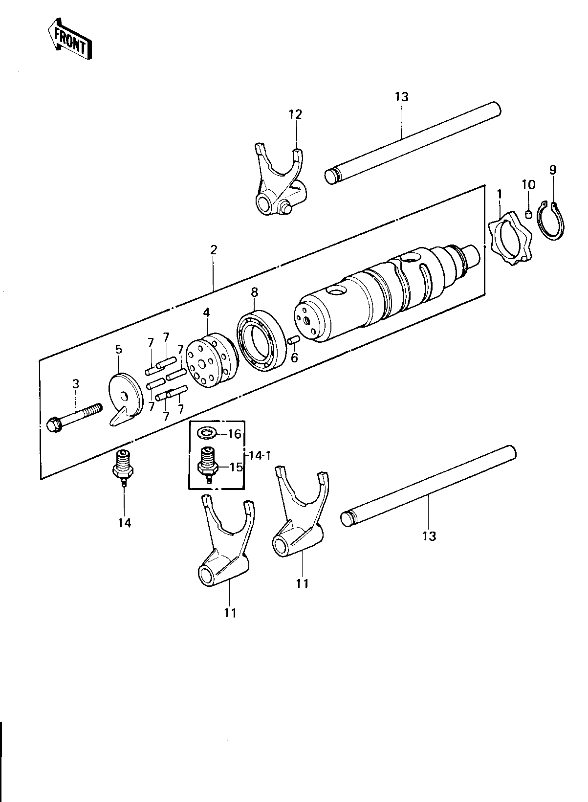
ITEM NAME REF # PART NUMBER QUANTITY DESTINATION REMARKS
CAM-CHANGE DRUM 1 13145-1058 1
DRUM ASSY,CHANGE 2 13239-1020 1
BOLT,FLANGED,6X45 3 130G0645 1
HOLDER,BEARING 4 13091-1032 1
HOLDER,DRUM PIN 5 13091-1033 1
PIN DOWEL 4X8 6 610A0408 1
PIN GEAR CHANGE DRUM 7 92042-014 6
BEARING,BALL,#6906 8 92045-1016 1
CIRCLIP,30MM 9 480J3000 1
PIN-DOWEL,4X6 10 610A0406 1
FORK,SHIFT,LOW,2ND,3D 11 13140-1019 2
FORK,SHIFT,4TH & TOP 12 13140-1020 1
ROD,SHIFT,12X173 13 49047-1008 2
SWITCH,NEUTRAL 14 13151-5002 1 E/NO. 000101~010783
SWITCH,NEUTRAL 14-1 13151-5002 1
SWITCH,NEUTRAL 15 13151-1007 1 E/NO. 010784~
GASKET CHECK VALVE 16 92065-058 1 E/NO. 010784~