main content of page
Parts Diagrams
OWNER CENTER |

Welcome, Kawasaki owners. Access the information and tools you need to get the most out of your vehicle.
OWNER CENTER |
Welcome, Kawasaki owners. Access the information and tools you need to get the most out of your vehicle.
Parts Diagrams |
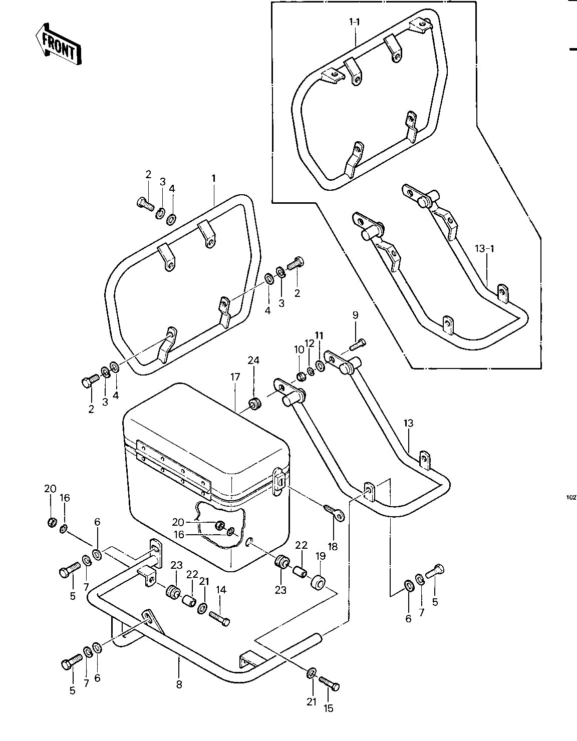
1980 Police 1000 - GUARDS/SADDLEBAGS ('79-'81 C2/C3/C4)
ITEM NAME | REF # | PART NUMBER | QUANTITY | DESTINATION | REMARKS |
---|---|---|---|---|---|
SAFETY GUARD,FRONT | 1 | 55020-1005 | 1 | ||
BOLT,HEX HEAD,10X25 | 2 | 113G1025 | 4 | ||
WASHER SPRING 10MM | 3 | 461F1000 | 4 | ||
WASHER PLAIN 10MM | 4 | 410B1000 | 4 | ||
BOLT,10X28 | 5 | 113G1028 | 6 | ||
WASHER PLAIN 10MM | 6 | 410B1000 | 6 | ||
WASHER SPRING 10MM | 7 | 461F1000 | 6 | ||
GUARD, SADDLEBAG,RH | 8 | 55020-1006 | 1 | ||
GUARD, SADDLEBAG,LH | 8 | 55020-1007 | 1 | ||
BOLT HEX HEAD 10X25 | 9 | 110B1025 | 2 | ||
NUT (10MM) | 10 | 311B1000 | 2 | ||
WASHER PLAIN 10MM | 11 | 410B1000 | 4 | ||
WASHER SPRING 10MM | 12 | 461F1000 | 2 | ||
GUARD,SADDLEBAG,REAR | 13-1 | 55020-4006 | 1 | ||
BOLT-SMALL-UPSET 8X2 | 14 | 115G0825 | 4 | ||
BOLT | 15 | 114G0836 | 2 | ||
WASHER SPRING 8MM | 16 | 461F0800 | 6 | ||
SADDLEBAG,RH | 17 | 56008-1003 | 1 | ||
SADDLEBAG,LH | 17 | 56008-1004 | 1 | ||
KEY SET-POLICE SDDLB | 18 | 27008-4001 | AR | ||
SPACER, SADDLEBAG | 19 | 92026-4003 | 2 | ||
NUT FUEL TANK FRONT | 20 | 92020-007 | 6 | ||
WASHER,8.5X20X1.6 | 21 | 92022-1561 | 6 | ||
COLLAR | 22 | 92027-280 | 6 | ||
DAMPER,SADDLEBAG | 23 | 92075-303 | 6 | ||
DAMPER RUBBER | 24 | 92075-105 | 1 |
SAFETY GUARD,FRONT | |
REF # | 1 |
---|---|
PART NUMBER | |
QUANTITY | 1 |
DESTINATION | |
REMARKS |
BOLT,HEX HEAD,10X25 | |
REF # | 2 |
---|---|
PART NUMBER | |
QUANTITY | 4 |
DESTINATION | |
REMARKS |
WASHER SPRING 10MM | |
REF # | 3 |
---|---|
PART NUMBER | |
QUANTITY | 4 |
DESTINATION | |
REMARKS |
WASHER PLAIN 10MM | |
REF # | 4 |
---|---|
PART NUMBER | |
QUANTITY | 4 |
DESTINATION | |
REMARKS |
BOLT,10X28 | |
REF # | 5 |
---|---|
PART NUMBER | |
QUANTITY | 6 |
DESTINATION | |
REMARKS |
WASHER PLAIN 10MM | |
REF # | 6 |
---|---|
PART NUMBER | |
QUANTITY | 6 |
DESTINATION | |
REMARKS |
WASHER SPRING 10MM | |
REF # | 7 |
---|---|
PART NUMBER | |
QUANTITY | 6 |
DESTINATION | |
REMARKS |
GUARD, SADDLEBAG,RH | |
REF # | 8 |
---|---|
PART NUMBER | |
QUANTITY | 1 |
DESTINATION | |
REMARKS |
GUARD, SADDLEBAG,LH | |
REF # | 8 |
---|---|
PART NUMBER | |
QUANTITY | 1 |
DESTINATION | |
REMARKS |
BOLT HEX HEAD 10X25 | |
REF # | 9 |
---|---|
PART NUMBER | |
QUANTITY | 2 |
DESTINATION | |
REMARKS |
NUT (10MM) | |
REF # | 10 |
---|---|
PART NUMBER | |
QUANTITY | 2 |
DESTINATION | |
REMARKS |
WASHER PLAIN 10MM | |
REF # | 11 |
---|---|
PART NUMBER | |
QUANTITY | 4 |
DESTINATION | |
REMARKS |
WASHER SPRING 10MM | |
REF # | 12 |
---|---|
PART NUMBER | |
QUANTITY | 2 |
DESTINATION | |
REMARKS |
GUARD,SADDLEBAG,REAR | |
REF # | 13-1 |
---|---|
PART NUMBER | |
QUANTITY | 1 |
DESTINATION | |
REMARKS |
BOLT-SMALL-UPSET 8X2 | |
REF # | 14 |
---|---|
PART NUMBER | |
QUANTITY | 4 |
DESTINATION | |
REMARKS |
BOLT | |
REF # | 15 |
---|---|
PART NUMBER | |
QUANTITY | 2 |
DESTINATION | |
REMARKS |
WASHER SPRING 8MM | |
REF # | 16 |
---|---|
PART NUMBER | |
QUANTITY | 6 |
DESTINATION | |
REMARKS |
SADDLEBAG,RH | |
REF # | 17 |
---|---|
PART NUMBER | |
QUANTITY | 1 |
DESTINATION | |
REMARKS |
SADDLEBAG,LH | |
REF # | 17 |
---|---|
PART NUMBER | |
QUANTITY | 1 |
DESTINATION | |
REMARKS |
KEY SET-POLICE SDDLB | |
REF # | 18 |
---|---|
PART NUMBER | |
QUANTITY | AR |
DESTINATION | |
REMARKS |
SPACER, SADDLEBAG | |
REF # | 19 |
---|---|
PART NUMBER | |
QUANTITY | 2 |
DESTINATION | |
REMARKS |
NUT FUEL TANK FRONT | |
REF # | 20 |
---|---|
PART NUMBER | |
QUANTITY | 6 |
DESTINATION | |
REMARKS |
WASHER,8.5X20X1.6 | |
REF # | 21 |
---|---|
PART NUMBER | |
QUANTITY | 6 |
DESTINATION | |
REMARKS |
COLLAR | |
REF # | 22 |
---|---|
PART NUMBER | |
QUANTITY | 6 |
DESTINATION | |
REMARKS |
DAMPER,SADDLEBAG | |
REF # | 23 |
---|---|
PART NUMBER | |
QUANTITY | 6 |
DESTINATION | |
REMARKS |
DAMPER RUBBER | |
REF # | 24 |
---|---|
PART NUMBER | |
QUANTITY | 1 |
DESTINATION | |
REMARKS |