Skip to main content

Parts Diagrams

customer service agent speaking with a customer

Welcome, Kawasaki owners. Access the information and tools you need to get the most out of your vehicle.

Welcome, Kawasaki owners. Access the information and tools you need to get the most out of your vehicle.

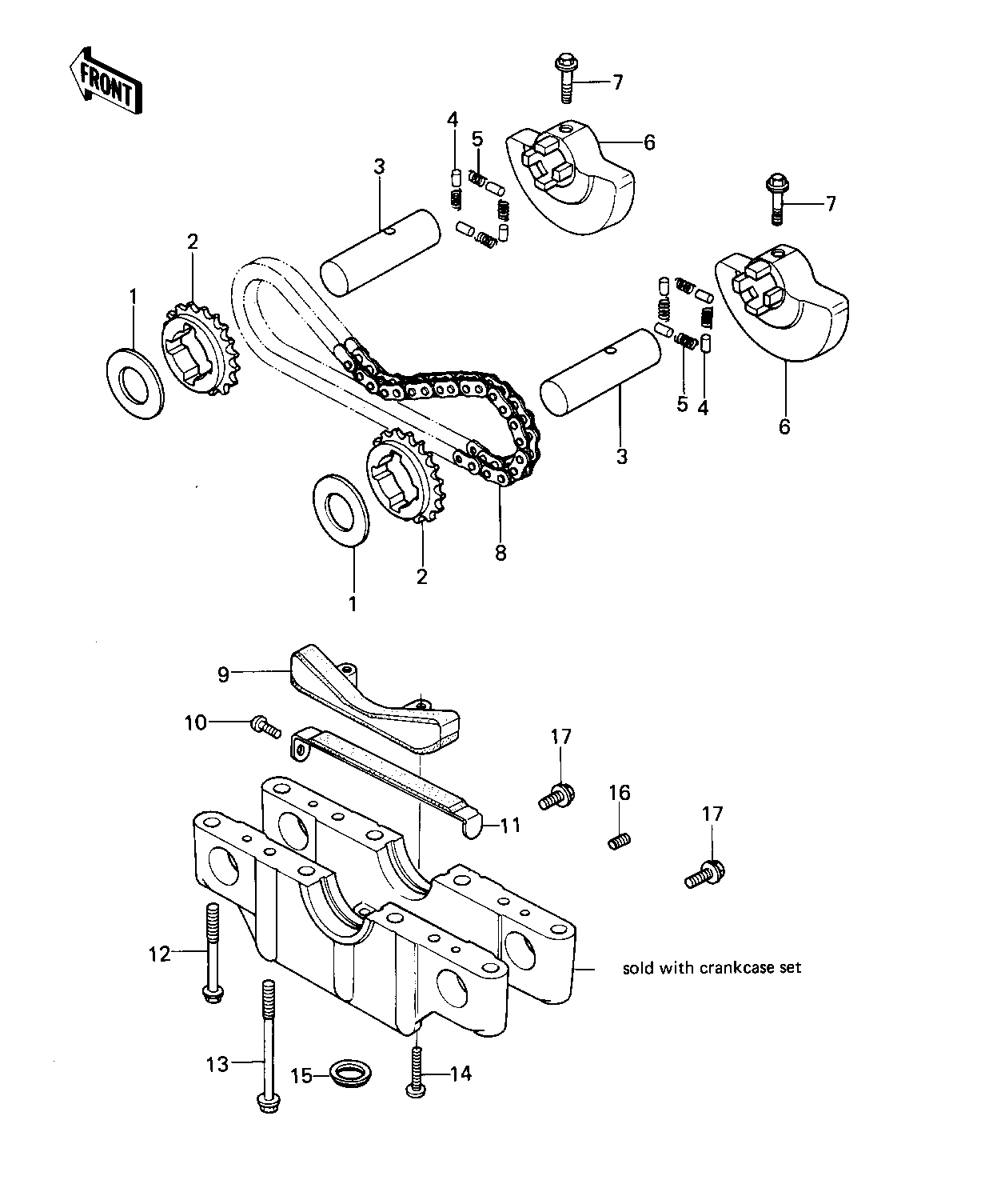
Part Item Information
ITEM NAME REF # PART NUMBER QUANTITY DESTINATION REMARKS
SPACER,20,3X40X1 1 92026-1003 2
SPROCKET,BALANCER,21T 2 12046-1003 2
SHAFT,IDLER,BALANCER 3 39115-1002 2
PIN DOWEL 4X8 4 610A0408 8
SPRING,BALANCER 5 92081-135 2
BALANCER 6 13041-1002 2
BOLT,6X32 7 92003-229 2
CHAIN,BALANCER 8 92057-1007 1
GUIDE-CHAIN,BALANCER 9 12053-1051 1
SCREW PAN HEAD 6X8 10 220B0608 1
GUIDE,BALANCER,CHAIN 11 12053-1003 1
BOLT,FLANGED,8X58 12 92001-1005 4
BOLT,FLANGED,10X91 13* 92001-1004 3
BOLT,FLANGED,10X91 13* 92001-1004 3
SCREW PAN HEAD 6X30 14 220B0630 2
O RING,0.D=18MM 15 92055-048 1
SCREW,6X6 16* 290Q0606 1
BOLT,FLANGED,6X8 17* 130P0608 2