Skip to main content

Parts Diagrams

customer service agent speaking with a customer

Welcome, Kawasaki owners. Access the information and tools you need to get the most out of your vehicle.

Welcome, Kawasaki owners. Access the information and tools you need to get the most out of your vehicle.

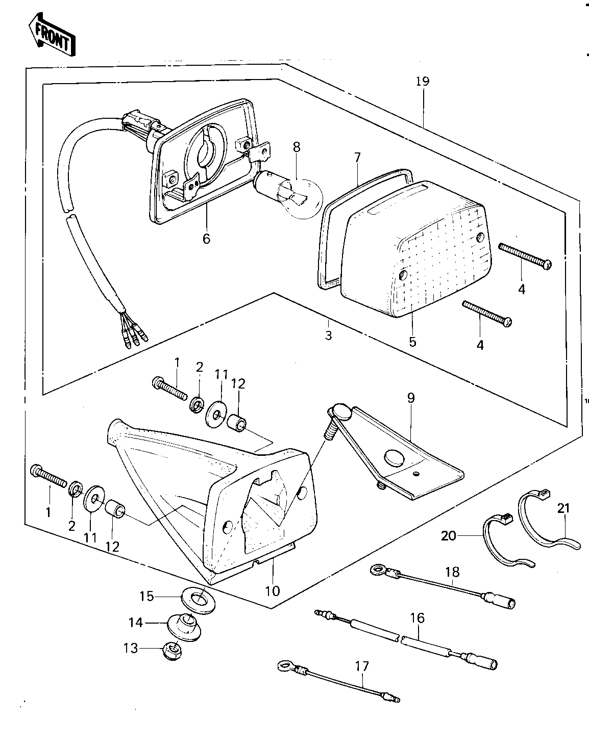
1979 KDX400 - TAILLIGHT/CHASSIS ELECTRICAL EQUIPMENT

Part Item Information
ITEM NAME REF # PART NUMBER QUANTITY DESTINATION REMARKS
UNAVAILABLE IN PRICE BOOK 1 214B0516A 2
WASHER SPRING 5MM 2 461F0500 2
LAMP,TAIL 3 23025-075 1
SCREW-PAN-CROS 4 220B0330 2
LENS,TAIL LAMP 5 23026-040 1
CASE,TAIL LAMP 6 23027-044 1
GASKET,TAIL LIGHT 7 23028-020 1
BULB,6V 17/5.3W 8 92069-028 1
BRACKET,TAIL LAMP 9 23036-4001 1
BODY,TAIL LAMP 10 23069-4001 1
WASHER,TAIL LAMP 11 92022-4001 2
COLLAR,TAIL LAMP 12 92027-4002 2
NUT 13 92019-008 2
COLLAR 14 92027-1045 2
DAMPER RUBBER 15 92075-118 2
WIRE, TAILLAMP 16 26011-4001 1 L=500 MM
WIRE, GROUND HEADLAMP 17 26011-4002 1 L=100 MM
WIRE, GROUND TAILLITE 18 26011-4003 1 L=100 MM
TAIL LAMP ASSY 19 23024-4001 1
BAND 20 92072-3505 4
BAND 21 92072-3509 3