main content of page
Parts Diagrams
OWNER CENTER |

Welcome, Kawasaki owners. Access the information and tools you need to get the most out of your vehicle.
OWNER CENTER |
Welcome, Kawasaki owners. Access the information and tools you need to get the most out of your vehicle.
Parts Diagrams |
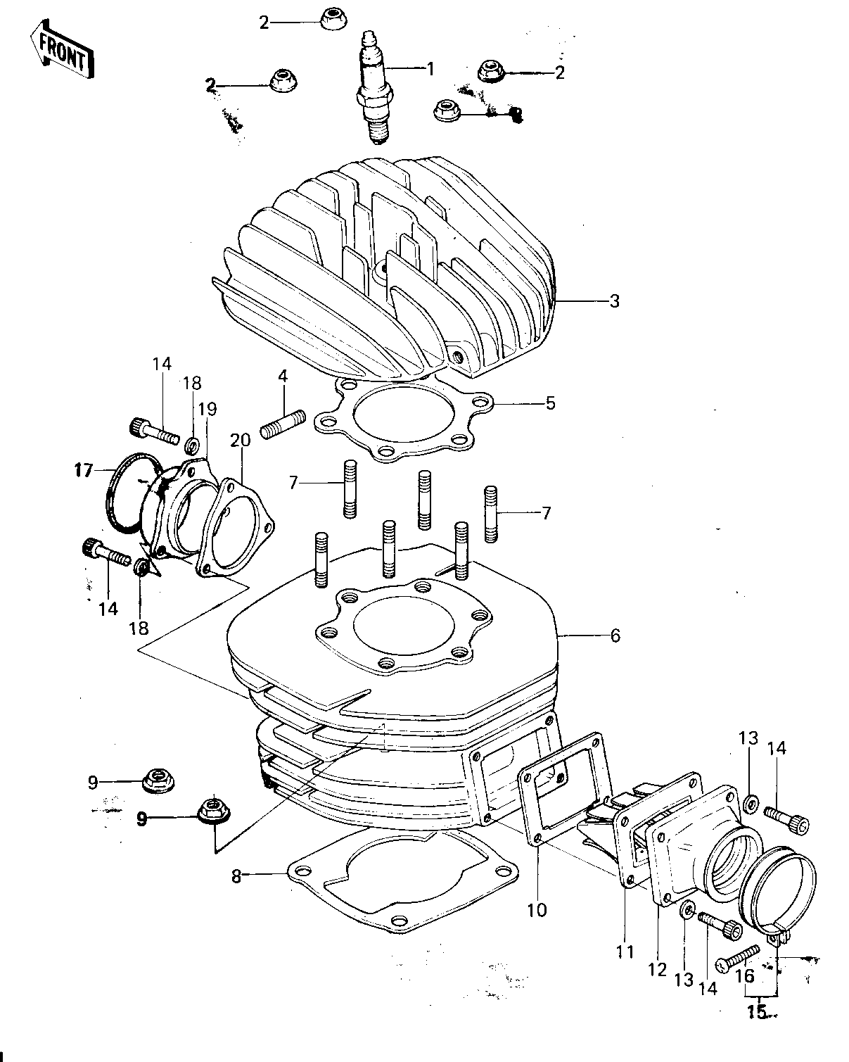
1979 KX250-A5 - CYLINDER HEAD/CYLINDER/REED VALVE (78-79
ITEM NAME | REF # | PART NUMBER | QUANTITY | DESTINATION | REMARKS |
---|---|---|---|---|---|
SPARK PLUG B9EV | 1 | B9EV | |||
SPARK PLUG BR9EV | 1 | 92070-3002 | |||
NUT,8M/M | 2 | 92015-1014 | |||
CYLINDER HEAD,F BLACK | 3 | 11001-1031 | |||
STUD,10X18 | 4 | 172G1018 | |||
GASKET,CYL HEAD | 5 | 11004-1012 | |||
CYLINDER,ELECTRO-FUSE | 6 | 11005-1034 | KX250-A4 | ||
CYLINDER,ELECTRO-FUSE | 6 | 11005-1034 | KX250-A5+ | ||
STUD 8X40 | 7 | 172G0840 | |||
GASKET,CYLINDER BASE | 8 | 11009-038 | |||
NUT,10M/M | 9 | 92015-1021 | |||
GASKET,REED VALVE | 10 | 11009-1018 | |||
VALVE ASSY,REED | 11 | 12021-1001 | KX250-A4 | ||
VALVE ASSY,REED | 11 | 12021-1007 | KX250-A5 | ||
HOLDER,CARBURETOR | 12 | 16065-1005 | |||
WASHER PLAIN 6MM | 13 | 410B0600 | |||
BOLT,SOCKET,6X25,BLAC | 14 | 120S0625 | |||
CLAMP,CARBURETOR HLDR | 15 | 92037-116 | |||
SCREW-PAN-CROS | 16 | 220B0535 | |||
UNAVAILABLE IN PRICE BOOK | 17 | USE 56019-102 | |||
GASKET,EXHAUST HOLDER | 17 | 11009-1123 | KX250-A5+ | ||
WASHER SPRING 6MM | 18 | 461F0600 | |||
HOLDER,EXHAUST PIPE | 19 | 18069-1001 | |||
GASKET,EXHAUST PIPE | 20 | 11009-1017 |
SPARK PLUG B9EV | |
REF # | 1 |
---|---|
PART NUMBER | |
QUANTITY | |
DESTINATION | |
REMARKS |
SPARK PLUG BR9EV | |
REF # | 1 |
---|---|
PART NUMBER | |
QUANTITY | |
DESTINATION | |
REMARKS |
NUT,8M/M | |
REF # | 2 |
---|---|
PART NUMBER | |
QUANTITY | |
DESTINATION | |
REMARKS |
CYLINDER HEAD,F BLACK | |
REF # | 3 |
---|---|
PART NUMBER | |
QUANTITY | |
DESTINATION | |
REMARKS |
STUD,10X18 | |
REF # | 4 |
---|---|
PART NUMBER | |
QUANTITY | |
DESTINATION | |
REMARKS |
GASKET,CYL HEAD | |
REF # | 5 |
---|---|
PART NUMBER | |
QUANTITY | |
DESTINATION | |
REMARKS |
CYLINDER,ELECTRO-FUSE | |
REF # | 6 |
---|---|
PART NUMBER | |
QUANTITY | |
DESTINATION | |
REMARKS | KX250-A4 |
CYLINDER,ELECTRO-FUSE | |
REF # | 6 |
---|---|
PART NUMBER | |
QUANTITY | |
DESTINATION | |
REMARKS | KX250-A5+ |
STUD 8X40 | |
REF # | 7 |
---|---|
PART NUMBER | |
QUANTITY | |
DESTINATION | |
REMARKS |
GASKET,CYLINDER BASE | |
REF # | 8 |
---|---|
PART NUMBER | |
QUANTITY | |
DESTINATION | |
REMARKS |
NUT,10M/M | |
REF # | 9 |
---|---|
PART NUMBER | |
QUANTITY | |
DESTINATION | |
REMARKS |
GASKET,REED VALVE | |
REF # | 10 |
---|---|
PART NUMBER | |
QUANTITY | |
DESTINATION | |
REMARKS |
VALVE ASSY,REED | |
REF # | 11 |
---|---|
PART NUMBER | |
QUANTITY | |
DESTINATION | |
REMARKS | KX250-A4 |
VALVE ASSY,REED | |
REF # | 11 |
---|---|
PART NUMBER | |
QUANTITY | |
DESTINATION | |
REMARKS | KX250-A5 |
HOLDER,CARBURETOR | |
REF # | 12 |
---|---|
PART NUMBER | |
QUANTITY | |
DESTINATION | |
REMARKS |
WASHER PLAIN 6MM | |
REF # | 13 |
---|---|
PART NUMBER | |
QUANTITY | |
DESTINATION | |
REMARKS |
BOLT,SOCKET,6X25,BLAC | |
REF # | 14 |
---|---|
PART NUMBER | |
QUANTITY | |
DESTINATION | |
REMARKS |
CLAMP,CARBURETOR HLDR | |
REF # | 15 |
---|---|
PART NUMBER | |
QUANTITY | |
DESTINATION | |
REMARKS |
SCREW-PAN-CROS | |
REF # | 16 |
---|---|
PART NUMBER | |
QUANTITY | |
DESTINATION | |
REMARKS |
UNAVAILABLE IN PRICE BOOK | |
REF # | 17 |
---|---|
PART NUMBER | |
QUANTITY | |
DESTINATION | |
REMARKS | USE 56019-102 |
GASKET,EXHAUST HOLDER | |
REF # | 17 |
---|---|
PART NUMBER | |
QUANTITY | |
DESTINATION | |
REMARKS | KX250-A5+ |
WASHER SPRING 6MM | |
REF # | 18 |
---|---|
PART NUMBER | |
QUANTITY | |
DESTINATION | |
REMARKS |
HOLDER,EXHAUST PIPE | |
REF # | 19 |
---|---|
PART NUMBER | |
QUANTITY | |
DESTINATION | |
REMARKS |
GASKET,EXHAUST PIPE | |
REF # | 20 |
---|---|
PART NUMBER | |
QUANTITY | |
DESTINATION | |
REMARKS |