main content of page
Parts Diagrams
OWNER CENTER |

Welcome, Kawasaki owners. Access the information and tools you need to get the most out of your vehicle.
OWNER CENTER |
Welcome, Kawasaki owners. Access the information and tools you need to get the most out of your vehicle.
Parts Diagrams |
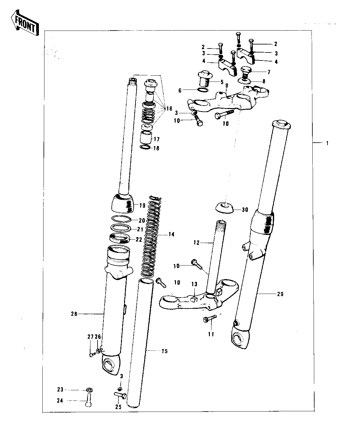
ITEM NAME | REF # | PART NUMBER | QUANTITY | DESTINATION | REMARKS |
---|---|---|---|---|---|
UNAVAILABLE IN PRICE BOOK | 1 | 44001-119 | |||
BOLT | 2 | 44041-061 | |||
WASHER SPRING 8MM | 3 | 461F0800 | |||
HOLDER | 4 | 46012-011 | |||
BOLT | 5 | 44041-063 | |||
'O' RING FORK TOP | 6 | 44046-015 | |||
BOLT | 7 | 44041-059 | |||
UNAVAILABLE IN PRICE BOOK | 8 | 44043-062 | |||
HEAD,STEERING STEM | 9 | 44039-057 | |||
BOLT | 10 | 44041-061 | |||
BOLT-STEERING STEM | 11 | 44041-043 | |||
SHAFT | 12 | 44052-005 | |||
STEM,STEERING | 13 | 44038-006 | |||
SPRING,FORK | 14 | 44026-049 | |||
TUBE,FORK INNER | 15 | 44013-043 | |||
CYLINDER-FORK | 16 | 44022-014 | |||
PISTON | 17 | 44018-006 | |||
CIRCLIP FORK PISTON | 18 | 44044-008 | |||
DUST SHIELD | 19 | 44010-023 | |||
RING-SNAP,FORK OIL | 20 | 92033-1100 | |||
WASHER-OIL SEAL FIT | 21 | 44043-044 | |||
OIL SEAL | 22 | 44009-016 | |||
GASKET,FORK CYLINDER | 23 | 44045-057 | |||
BOLT-FORK CYLINDER | 24 | 44041-040 | |||
BOLT | 25 | 44041-060 | |||
GASKET | 26 | 44045-045 | |||
SCREW | 27 | 44041-062 | |||
TUBE,LH,FORK OUTER | 28 | 44005-050 | |||
TUBE,RH,FORK OUTER | 29 | 44006-048 | |||
GASKET | 30 | 44045-045 | |||
DUST SHIELD-STRNG ST | 31 | 44010-020 |
UNAVAILABLE IN PRICE BOOK | |
REF # | 1 |
---|---|
PART NUMBER | |
QUANTITY | |
DESTINATION | |
REMARKS |
BOLT | |
REF # | 2 |
---|---|
PART NUMBER | |
QUANTITY | |
DESTINATION | |
REMARKS |
WASHER SPRING 8MM | |
REF # | 3 |
---|---|
PART NUMBER | |
QUANTITY | |
DESTINATION | |
REMARKS |
HOLDER | |
REF # | 4 |
---|---|
PART NUMBER | |
QUANTITY | |
DESTINATION | |
REMARKS |
BOLT | |
REF # | 5 |
---|---|
PART NUMBER | |
QUANTITY | |
DESTINATION | |
REMARKS |
'O' RING FORK TOP | |
REF # | 6 |
---|---|
PART NUMBER | |
QUANTITY | |
DESTINATION | |
REMARKS |
BOLT | |
REF # | 7 |
---|---|
PART NUMBER | |
QUANTITY | |
DESTINATION | |
REMARKS |
UNAVAILABLE IN PRICE BOOK | |
REF # | 8 |
---|---|
PART NUMBER | |
QUANTITY | |
DESTINATION | |
REMARKS |
HEAD,STEERING STEM | |
REF # | 9 |
---|---|
PART NUMBER | |
QUANTITY | |
DESTINATION | |
REMARKS |
BOLT | |
REF # | 10 |
---|---|
PART NUMBER | |
QUANTITY | |
DESTINATION | |
REMARKS |
BOLT-STEERING STEM | |
REF # | 11 |
---|---|
PART NUMBER | |
QUANTITY | |
DESTINATION | |
REMARKS |
SHAFT | |
REF # | 12 |
---|---|
PART NUMBER | |
QUANTITY | |
DESTINATION | |
REMARKS |
STEM,STEERING | |
REF # | 13 |
---|---|
PART NUMBER | |
QUANTITY | |
DESTINATION | |
REMARKS |
SPRING,FORK | |
REF # | 14 |
---|---|
PART NUMBER | |
QUANTITY | |
DESTINATION | |
REMARKS |
TUBE,FORK INNER | |
REF # | 15 |
---|---|
PART NUMBER | |
QUANTITY | |
DESTINATION | |
REMARKS |
CYLINDER-FORK | |
REF # | 16 |
---|---|
PART NUMBER | |
QUANTITY | |
DESTINATION | |
REMARKS |
PISTON | |
REF # | 17 |
---|---|
PART NUMBER | |
QUANTITY | |
DESTINATION | |
REMARKS |
CIRCLIP FORK PISTON | |
REF # | 18 |
---|---|
PART NUMBER | |
QUANTITY | |
DESTINATION | |
REMARKS |
DUST SHIELD | |
REF # | 19 |
---|---|
PART NUMBER | |
QUANTITY | |
DESTINATION | |
REMARKS |
RING-SNAP,FORK OIL | |
REF # | 20 |
---|---|
PART NUMBER | |
QUANTITY | |
DESTINATION | |
REMARKS |
WASHER-OIL SEAL FIT | |
REF # | 21 |
---|---|
PART NUMBER | |
QUANTITY | |
DESTINATION | |
REMARKS |
OIL SEAL | |
REF # | 22 |
---|---|
PART NUMBER | |
QUANTITY | |
DESTINATION | |
REMARKS |
GASKET,FORK CYLINDER | |
REF # | 23 |
---|---|
PART NUMBER | |
QUANTITY | |
DESTINATION | |
REMARKS |
BOLT-FORK CYLINDER | |
REF # | 24 |
---|---|
PART NUMBER | |
QUANTITY | |
DESTINATION | |
REMARKS |
BOLT | |
REF # | 25 |
---|---|
PART NUMBER | |
QUANTITY | |
DESTINATION | |
REMARKS |
GASKET | |
REF # | 26 |
---|---|
PART NUMBER | |
QUANTITY | |
DESTINATION | |
REMARKS |
SCREW | |
REF # | 27 |
---|---|
PART NUMBER | |
QUANTITY | |
DESTINATION | |
REMARKS |
TUBE,LH,FORK OUTER | |
REF # | 28 |
---|---|
PART NUMBER | |
QUANTITY | |
DESTINATION | |
REMARKS |
TUBE,RH,FORK OUTER | |
REF # | 29 |
---|---|
PART NUMBER | |
QUANTITY | |
DESTINATION | |
REMARKS |
GASKET | |
REF # | 30 |
---|---|
PART NUMBER | |
QUANTITY | |
DESTINATION | |
REMARKS |
DUST SHIELD-STRNG ST | |
REF # | 31 |
---|---|
PART NUMBER | |
QUANTITY | |
DESTINATION | |
REMARKS |