main content of page
Parts Diagrams
OWNER CENTER |

Welcome, Kawasaki owners. Access the information and tools you need to get the most out of your vehicle.
OWNER CENTER |
Welcome, Kawasaki owners. Access the information and tools you need to get the most out of your vehicle.
Parts Diagrams |
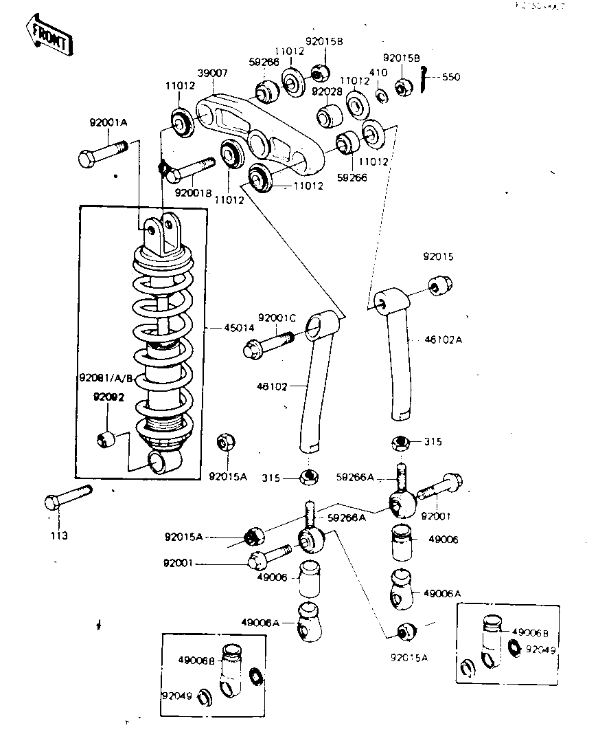
1982 KDX175 - REAR SUSPENSION/SHOCK ABSORBER ('81-'82
ITEM NAME | REF # | PART NUMBER | QUANTITY | DESTINATION | REMARKS |
---|---|---|---|---|---|
CAP,SUSPENSION ARM | 11012 | 11012-1117 | 6 | ||
ARM,SUSPENSION | 39007 | 39007-1003 | 1 | ||
SHOCK ABSBR RR | 45014 | 45014-1108 | 1 | ||
ROD,UNITRAK,LH | 46102 | 46102-1020 | 1 | ||
ROD,UNITRAK,LH | 46102A | 46102-1021 | 1 | ||
JOINT,BALL,SUSPENSIO | 59266 | 59266-1001 | 2 | ||
JOINT,BALL,SUSPENSIO | 59266A | 59266-1002 | 2 | ||
BOLT,HEX HEAD,12X40 | 92001 | 92001-1306 | 2 | ||
BOLT,HEX HEAD,14X50 | 92001A | 92001-1317 | 1 | ||
BOLT,HEX HEAD,14X60 | 92001B | 92001-1335 | 1 | ||
BOLT,14X60 | 92001C | 92001-1344 | 1 | ||
NUT,UNITRAK LINK | 92015 | 92015-1123 | 1 | ||
NUT-LOCK,12MM | 92015A | 92019-009 | 3 | ||
NUT-LOCK,14MM | 92015B | 92019-011 | 2 | ||
BUSHING,SUSPENSION A | 92028 | 92028-1087 | 1 | ||
SPRING,REAR SHOCK | 92081 | 92081-1315 | 1 | (OPTION) | |
SPRING,REAR SHOCK | 92081A | 92081-1316 | 1 | (OPTION) | |
SPRING,REARSHOCK,STD | 92081B | 92081-1338 | 1 | ||
BUSHING-RUBBER,SHOCK | 92092 | 92092-1008 | 1 | ||
BOLT,HEX HEAD,12X55 | 113 | 113P1255A | 1 | ||
NUT-HEX-FINE,12MM | 315 | 315B1200 | 2 | ||
WASHER PLAIN 14MM | 410 | 410B1400 | 1 | ||
PIN COTTER 2.5X25 | 550 | 550D2525 | 1 |
CAP,SUSPENSION ARM | |
REF # | 11012 |
---|---|
PART NUMBER | |
QUANTITY | 6 |
DESTINATION | |
REMARKS |
ARM,SUSPENSION | |
REF # | 39007 |
---|---|
PART NUMBER | |
QUANTITY | 1 |
DESTINATION | |
REMARKS |
SHOCK ABSBR RR | |
REF # | 45014 |
---|---|
PART NUMBER | |
QUANTITY | 1 |
DESTINATION | |
REMARKS |
ROD,UNITRAK,LH | |
REF # | 46102 |
---|---|
PART NUMBER | |
QUANTITY | 1 |
DESTINATION | |
REMARKS |
ROD,UNITRAK,LH | |
REF # | 46102A |
---|---|
PART NUMBER | |
QUANTITY | 1 |
DESTINATION | |
REMARKS |
JOINT,BALL,SUSPENSIO | |
REF # | 59266 |
---|---|
PART NUMBER | |
QUANTITY | 2 |
DESTINATION | |
REMARKS |
JOINT,BALL,SUSPENSIO | |
REF # | 59266A |
---|---|
PART NUMBER | |
QUANTITY | 2 |
DESTINATION | |
REMARKS |
BOLT,HEX HEAD,12X40 | |
REF # | 92001 |
---|---|
PART NUMBER | |
QUANTITY | 2 |
DESTINATION | |
REMARKS |
BOLT,HEX HEAD,14X50 | |
REF # | 92001A |
---|---|
PART NUMBER | |
QUANTITY | 1 |
DESTINATION | |
REMARKS |
BOLT,HEX HEAD,14X60 | |
REF # | 92001B |
---|---|
PART NUMBER | |
QUANTITY | 1 |
DESTINATION | |
REMARKS |
BOLT,14X60 | |
REF # | 92001C |
---|---|
PART NUMBER | |
QUANTITY | 1 |
DESTINATION | |
REMARKS |
NUT,UNITRAK LINK | |
REF # | 92015 |
---|---|
PART NUMBER | |
QUANTITY | 1 |
DESTINATION | |
REMARKS |
NUT-LOCK,12MM | |
REF # | 92015A |
---|---|
PART NUMBER | |
QUANTITY | 3 |
DESTINATION | |
REMARKS |
NUT-LOCK,14MM | |
REF # | 92015B |
---|---|
PART NUMBER | |
QUANTITY | 2 |
DESTINATION | |
REMARKS |
BUSHING,SUSPENSION A | |
REF # | 92028 |
---|---|
PART NUMBER | |
QUANTITY | 1 |
DESTINATION | |
REMARKS |
SPRING,REAR SHOCK | |
REF # | 92081 |
---|---|
PART NUMBER | |
QUANTITY | 1 |
DESTINATION | |
REMARKS | (OPTION) |
SPRING,REAR SHOCK | |
REF # | 92081A |
---|---|
PART NUMBER | |
QUANTITY | 1 |
DESTINATION | |
REMARKS | (OPTION) |
SPRING,REARSHOCK,STD | |
REF # | 92081B |
---|---|
PART NUMBER | |
QUANTITY | 1 |
DESTINATION | |
REMARKS |
BUSHING-RUBBER,SHOCK | |
REF # | 92092 |
---|---|
PART NUMBER | |
QUANTITY | 1 |
DESTINATION | |
REMARKS |
BOLT,HEX HEAD,12X55 | |
REF # | 113 |
---|---|
PART NUMBER | |
QUANTITY | 1 |
DESTINATION | |
REMARKS |
NUT-HEX-FINE,12MM | |
REF # | 315 |
---|---|
PART NUMBER | |
QUANTITY | 2 |
DESTINATION | |
REMARKS |
WASHER PLAIN 14MM | |
REF # | 410 |
---|---|
PART NUMBER | |
QUANTITY | 1 |
DESTINATION | |
REMARKS |
PIN COTTER 2.5X25 | |
REF # | 550 |
---|---|
PART NUMBER | |
QUANTITY | 1 |
DESTINATION | |
REMARKS |