Skip to main content

Parts Diagrams

customer service agent speaking with a customer

Welcome, Kawasaki owners. Access the information and tools you need to get the most out of your vehicle.

Welcome, Kawasaki owners. Access the information and tools you need to get the most out of your vehicle.

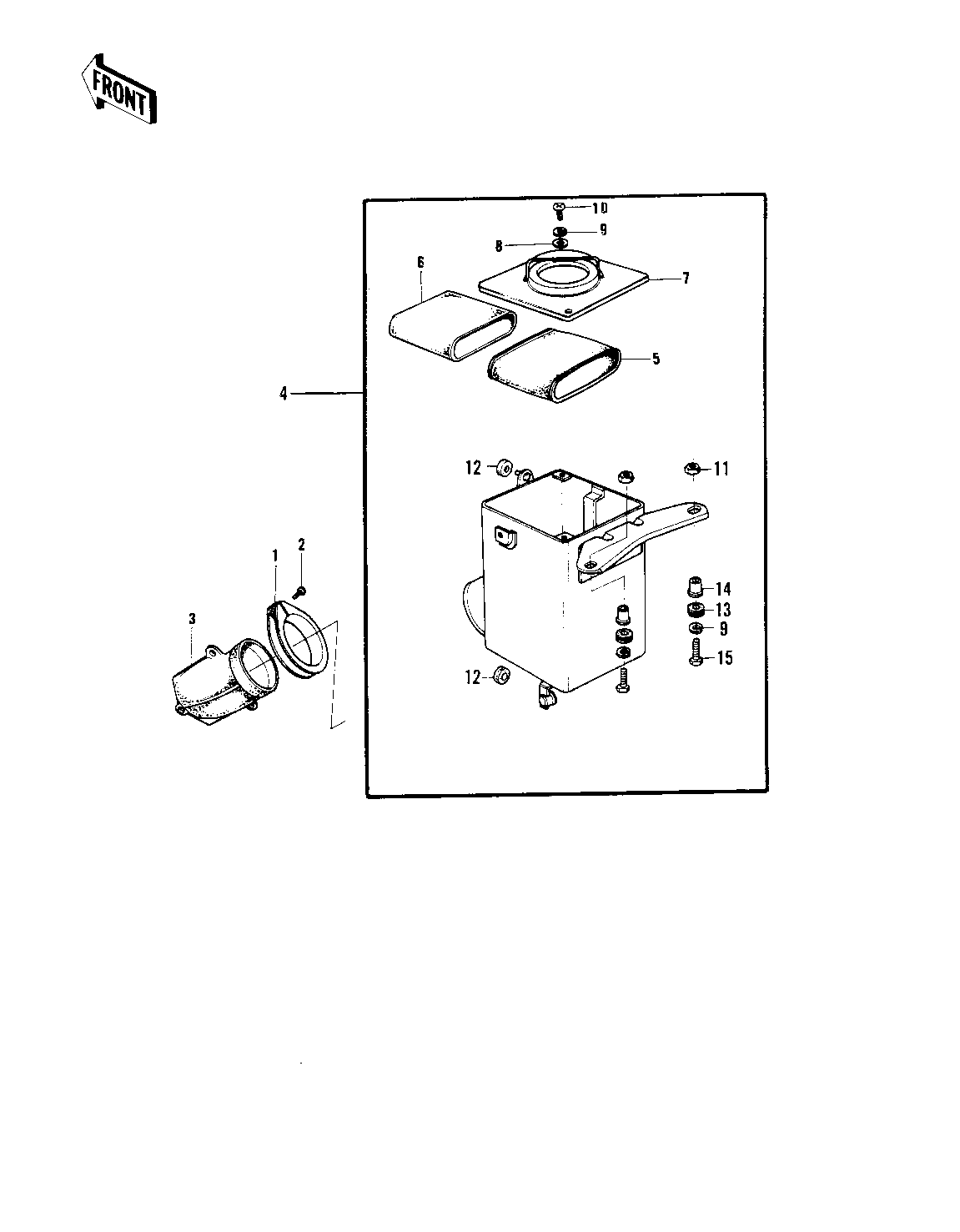
Part Item Information
ITEM NAME REF # PART NUMBER QUANTITY DESTINATION REMARKS
CLAMP,AIR CLEANER 1 92037-129
SCREW-PAN-CROS,6X35,B 2 220C0635
CONNECTOR,AIR CLEANER 3 14073-1004 KD125/A2/A3
CONNECTOR,AIR CLEANER 3 14073-1004 KD125-A4/A5
AIR CLEANER ASSY,BLK 4 11010-083-21
HOLDER,CLENER ELEMENT 5 11014-011
ELEMENT,AIR CLNR 6 11013-1033
CAP,AIR CLEANER,BLACK 7 11012-039-21
WASHER PLAIN 6MM 8 410B0600
WASHER SPRING 6MM 9 461F0600
SCREW PAN HEAD 6X12 10 220B0612
NUT 6MM 11 311B0600
DAMPER RUBBER,CLENER 12 92075-217
DAMPER RUBBER 13 92075-051
COLLAR 14 92027-153
BOLT-UPSET,6X16 15 112G0616